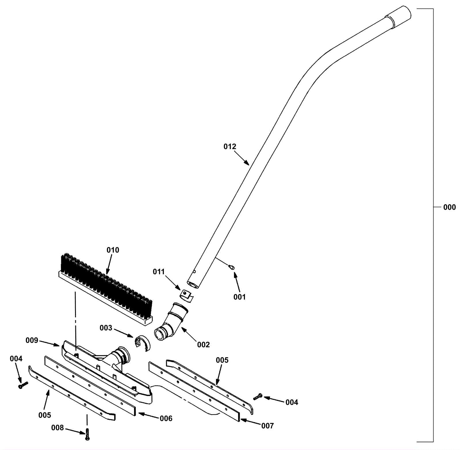
| # | Part | Description | Price | Req | Notes | Availability |
000 |
175-4643
|
Non-power wand assembly (OBSOLETE) |
$616.00
|
1 |
(includes 001-012) |
usually ships 1-5 days |
001 |
175-4644
|
Bumper |
$3.04
|
2 |
|
usually ships 1-5 days |
002 |
175-4645
|
Swivel wand attachment (OBSOLETE) |
$23.43
|
1 |
|
usually ships 1-5 days |
003 |
175-4682
|
Attachment ring |
$13.20
|
1 |
|
usually ships 1-5 days |
004 |
175-4683
|
Screw self-tapping (OBSOLETE) |
$2.11
|
10 |
|
usually ships 1-5 days |
005 |
175-4648
|
Blade retainer |
$9.02
|
2 |
|
usually ships 10-13 days |
006 |
175-4649
|
Squeegee blade 13 inch urethane front (OBSOLETE) |
$35.20
|
1 |
|
usually ships 1-5 days |
007 |
175-4650
|
Squeegee blade 13 inch urethane rear (OBSOLETE) |
$25.96
|
1 |
|
usually ships 1-5 days |
008 |
175-4651
|
Screw 6 x 1 1/2 self tapping |
$2.24
|
2 |
|
usually ships 1-5 days |
009 |
175-4652
|
Wand head (OBSOLETE) |
$32.45
|
1 |
|
usually ships 1-5 days |
010 |
175-4653
|
Two row wand brush |
$27.39
|
1 |
|
usually ships 1-5 days |
011 |
175-4654
|
Spring clip (OBSOLETE) |
$3.70
|
1 |
|
usually ships 1-5 days |
012 |
175-4655
|
Single bend wand |
$79.31
|
1 |
|
usually ships 1-5 days |