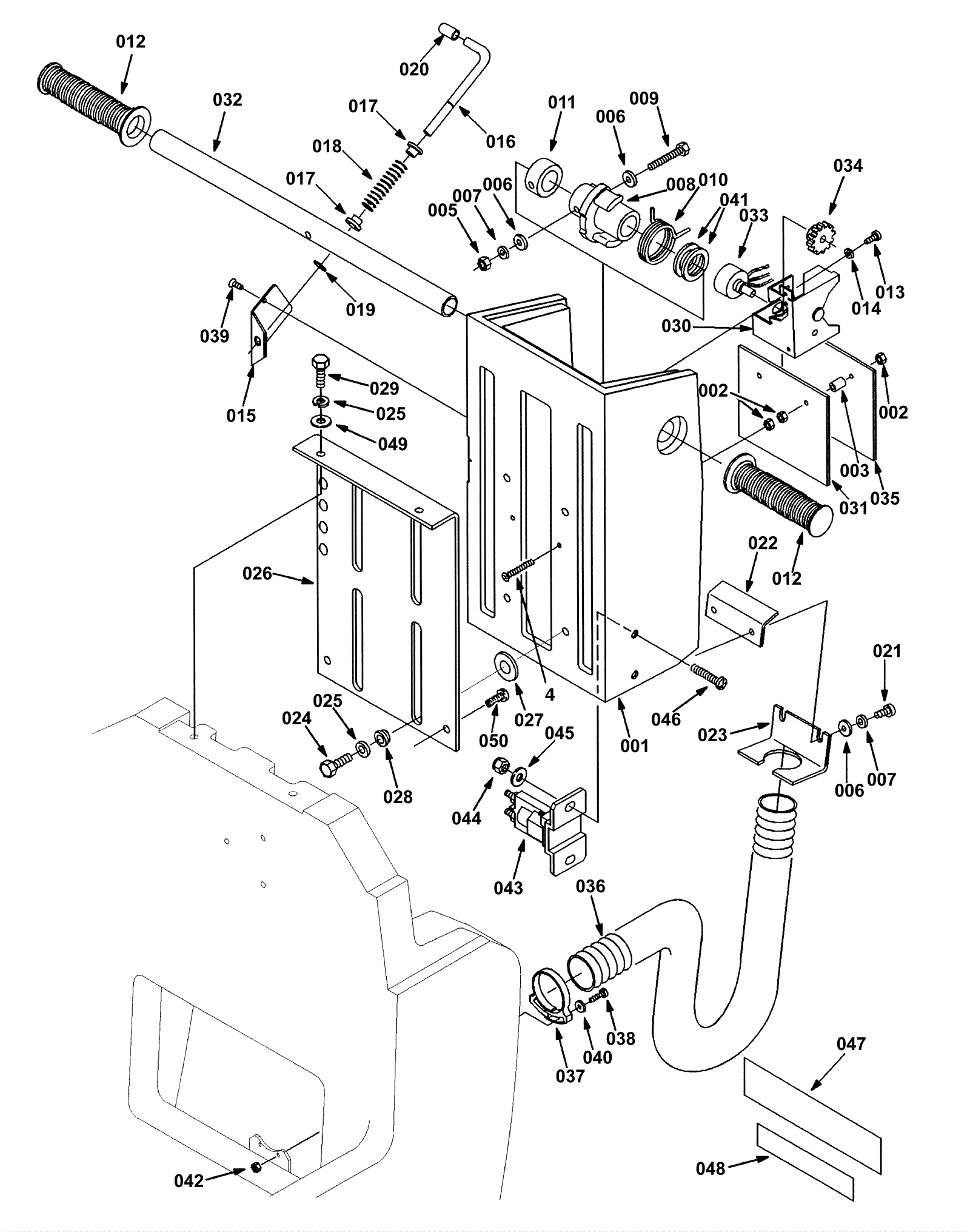
| # | Part | Description | Price | Req | Notes | Availability |
001 |
175-4572
|
Control housing (Tennant industrial) (OBSOLETE) |
$187.38
|
1 |
|
usually ships 1-5 days |
002 |
999-0955
|
Nut M4-.7 hex nylon lock |
$1.52
|
6 |
|
ships same day |
003 |
175-4898
|
Spacer |
$4.22
|
2 |
|
usually ships 1-5 days |
004 |
175-4899
|
Screw M4 x 40mm (OBSOLETE) |
$0.99
|
2 |
|
usually ships 1-5 days |
005 |
999-0439
|
Nut M6-1 hex coarse thread |
$0.99
|
1 |
|
ships same day |
006 |
999-1261
|
Washer M6 flat stainless steel |
$0.99
|
4 |
|
ships same day |
007 |
999-1117
|
Washer M6 split lock stainless steel |
$0.99
|
3 |
|
ships same day |
008 |
175-4259
|
Potentiometer console bracket |
$456.72
|
1 |
(Hub gear assembly) |
usually ships 10-13 days |
009 |
999-1147
|
Bolt M6-1 x 40mm hex head stainless steel |
$0.99
|
1 |
|
ships same day |
010 |
175-4260
|
Torsion spring |
$7.37
|
1 |
|
usually ships 10-13 days |
011 |
175-4574
|
Collar |
$15.40
|
1 |
|
usually ships 10-13 days |
012a |
675-9894
|
Handle grip |
$5.41
|
2 |
|
ships same day |
012b |
991-8571
|
Handle grip |
$4.04
|
2 |
(NON-OEM) |
usually ships 18-24 days |
013 |
999-0530
|
Screw M4-.7 x 8mm pan head slotted zinc |
$0.99
|
2 |
|
usually ships 16-20 days |
014 |
999-1083
|
Washer #8 internal star lock stainless steel |
$0.99
|
2 |
|
ships same day |
015 |
175-4250
|
Retainer plate |
$11.11
|
1 |
|
usually ships 10-13 days |
016 |
175-4254
|
Adjustment lever |
$15.07
|
1 |
|
usually ships 10-13 days |
017 |
175-4255
|
Flanged bushing |
$5.28
|
2 |
|
usually ships 10-13 days |
018 |
175-4256
|
Compression spring |
$5.28
|
1 |
|
usually ships 10-13 days |
019 |
175-4252
|
Retaining ring |
$5.28
|
1 |
|
usually ships 10-13 days |
020 |
175-4278
|
Cap |
$4.49
|
1 |
|
usually ships 10-13 days |
021 |
999-1084
|
Screw M6-1 x 16mm truss head slotted stainless steel |
$1.85
|
2 |
|
ships same day |
022 |
175-4264
|
Bracket |
$10.78
|
1 |
|
usually ships 1-5 days |
023 |
175-4581
|
Conduit mounting bracket (OBSOLETE) |
$5.94
|
1 |
|
usually ships 1-5 days |
024 |
999-0517
|
Bolt M8-1.25 x 16mm hex head full thread zinc |
$0.99
|
4 |
|
ships same day |
025 |
999-1053
|
Washer 5/16 internal star lock stainless steel |
$0.99
|
6 |
|
ships same day |
026 |
175-4575
|
Console slide plate (OBSOLETE) |
$63.36
|
1 |
|
usually ships 1-5 days |
027 |
999-1156
|
Washer M12-.7 nylon |
$5.28
|
4 |
|
ships same day |
028 |
175-5163
|
Flanged bearing |
$12.98
|
4 |
|
usually ships 10-13 days |
029 |
999-1133
|
Bolt M8-1.25 x 20mm hex head full thread plain |
$0.99
|
2 |
|
ships same day |
030 |
175-4259
|
Potentiometer console bracket |
$456.72
|
1 |
|
usually ships 10-13 days |
031 |
175-3101
|
Heat sink |
$17.71
|
1 |
|
usually ships 1-5 days |
032 |
175-4253
|
Handle bar |
$33.55
|
1 |
|
usually ships 10-13 days |
033 |
175-4900
|
Potentiometer with decal assembly (OBSOLETE) |
$129.36
|
1 |
|
usually ships 10-13 days |
034 |
175-2139
|
Gear |
$31.24
|
1 |
|
usually ships 10-13 days |
035 |
175-3124
|
55amp speed control board |
$763.73
|
1 |
|
usually ships 10-13 days |
036 |
175-4579
|
Convoluted conduit (black) (OBSOLETE) |
$5.17
|
1 |
|
usually ships 1-5 days |
037 |
175-4580
|
Vacuum hose clamp |
$6.71
|
1 |
|
usually ships 10-13 days |
038 |
999-1040
|
Screw M3-.5 x 20mm pan head |
$0.99
|
2 |
|
ships same day |
039 |
999-1519
|
Screw M4-.7 x 8mm flat head phillips zinc plated |
$0.99
|
2 |
|
ships same day |
040 |
999-1521
|
Washer M3 flat stainless steel |
$0.99
|
2 |
|
ships same day |
041 |
175-0385
|
Nylon washer |
$5.50
|
2 |
|
usually ships 10-13 days |
042 |
999-1161
|
Nut M3-.5 hex nylock stainless steel |
$0.99
|
2 |
|
ships same day |
043 |
175-4293
|
24V relay |
$64.68
|
1 |
|
usually ships 10-13 days |
044 |
999-0442
|
Nut 10-24 nylon insert lock stainless steel |
$1.76
|
2 |
|
ships same day |
045 |
999-0998
|
Washer #10 flat stainless steel |
$0.99
|
2 |
|
ships same day |
046 |
999-1549
|
Screw 10-24 x 3/4 flat head phillips stainless steel |
$0.99
|
2 |
|
usually ships 1-5 days |
047 |
175-4901
|
Connection decal (OBSOLETE) |
$8.03
|
1 |
|
usually ships 1-5 days |
048 |
175-4902
|
Fuse decal (OBSOLETE) |
$9.02
|
1 |
|
usually ships 1-5 days |
049 |
999-0024
|
Washer 5/16 flat stainless steel |
$1.34
|
2 |
|
ships same day |
050 |
175-4573
|
Screw M8 x 16mm (OBSOLETE) |
$2.11
|
2 |
|
usually ships 1-5 days |
KIT |
175-4903
|
Console kit (teal) (OBSOLETE) |
$121.00
|
1 |
(includes 001-004) |
usually ships 1-5 days |