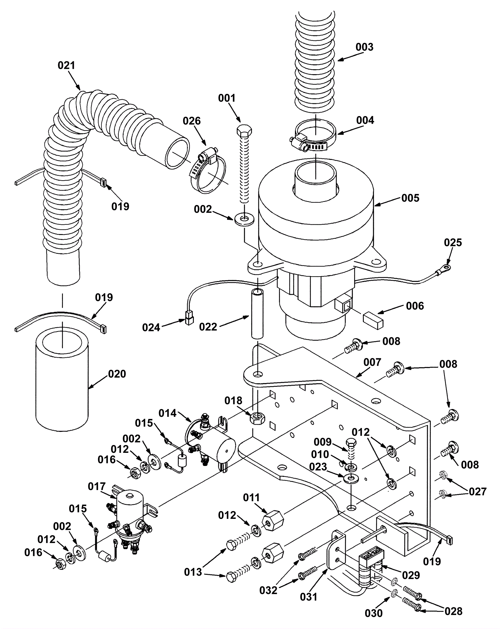
| # | Part | Description | Price | Req | Notes | Availability |
001 |
999-1116
|
Bolt M6-1 x 50mm hex head stainless steel |
$0.99
|
2 |
|
ships same day |
002 |
999-0016
|
Washer 1/4 flat plain finish |
$0.99
|
6 |
|
ships same day |
003 |
175-4844
|
Vacuum hose 1 1/2 x 15 inch with cuff |
$31.13
|
1 |
|
usually ships 1-5 days |
004 |
997-2007
|
Hose clamp |
$2.07
|
1 |
|
ships same day |
005a |
275-5854
|
24V 2 stage vacuum motor tangential with 1 1/2 inch tube |
$436.92
|
1 |
(OEM) |
usually ships 10-13 days |
005b |
991-8546
|
24V 2 stage vacuum motor tangential with 1 1/2 inch tube |
$268.42
|
1 |
(NON-OEM) |
usually ships 18-24 days |
006 |
175-2658
|
Carbon brush (pkg of 2) |
$38.94
|
2 |
|
ships same day |
007 |
175-5845
|
Vacuum motor bracket |
$68.31
|
1 |
|
usually ships 1-5 days |
008 |
999-0798
|
Bolt 1/4-20 x 1/2 flange grade 8.2 zinc plated |
$0.99
|
6 |
|
ships same day |
009 |
999-0507
|
Bolt M6-1 x 16mm hex head full thread plain finish |
$0.99
|
2 |
|
ships same day |
010 |
999-0632
|
Washer 1/4 split lock stainless steel |
$0.99
|
2 |
|
ships same day |
011 |
175-3226
|
Insulated stand off |
$10.34
|
2 |
|
ships same day |
012 |
999-0632
|
Washer 1/4 split lock stainless steel |
$0.99
|
8 |
|
ships same day |
013 |
999-1032
|
Screw 1/4-20 x 5/8 hex head stainless steel |
$0.99
|
2 |
|
ships same day |
014 |
175-2023
|
24V solenoid contactor |
$63.47
|
1 |
|
ships same day |
015 |
175-2757
|
Diode with ring terminals (small) |
$12.32
|
2 |
|
ships same day |
016 |
999-0181
|
Nut 1/4-20 hex jam plain finish |
$0.99
|
4 |
|
ships same day |
017 |
175-1797
|
24V brush contactor |
$60.83
|
1 |
|
usually ships 10-13 days |
018 |
999-0497
|
Nut M6-1 nylon insert lock stainless steel |
$0.99
|
2 |
|
ships same day |
019 |
175-0921
|
Wire tie |
$5.28
|
3 |
|
usually ships 10-13 days |
020 |
175-2979
|
Vacuum exhaust muffler |
$34.32
|
1 |
|
usually ships 10-13 days |
021 |
175-5742
|
Vacuum hose with cuff 1 1/2 x 16 inch (OBSOLETE) |
$41.47
|
1 |
|
usually ships 10-13 days |
022 |
175-5846
|
Spacer (OBSOLETE) |
$3.83
|
2 |
|
usually ships 10-13 days |
023 |
999-0016
|
Washer 1/4 flat plain finish |
$0.99
|
4 |
|
ships same day |
024 |
175-0923
|
Male terminal |
$5.28
|
1 |
|
usually ships 10-13 days |
025 |
175-3029
|
Terminal ring 1/4 inch |
$61.27
|
1 |
|
usually ships 10-13 days |
026 |
175-2057
|
Hose clamp |
$6.27
|
1 |
|
usually ships 1-5 days |
027 |
999-0356
|
Nut 10-24 lock stainless steel |
$0.99
|
2 |
|
ships same day |
028 |
999-0249
|
Screw 6-32 x 5/8 round head slotted zinc plated |
$0.99
|
2 |
|
ships same day |
029 |
175-5849
|
Cable assembly (OBSOLETE) |
$51.70
|
1 |
|
usually ships 10-13 days |
030 |
999-0148
|
Washer #6 external star lock zinc plated |
$0.99
|
2 |
|
ships same day |
031 |
175-5842
|
Battery connector bracket |
$31.68
|
1 |
|
usually ships 1-5 days |
032 |
999-0811
|
Screw 10-32 x 3/8 pan head phillips stainless steel |
$0.99
|
2 |
|
ships same day |