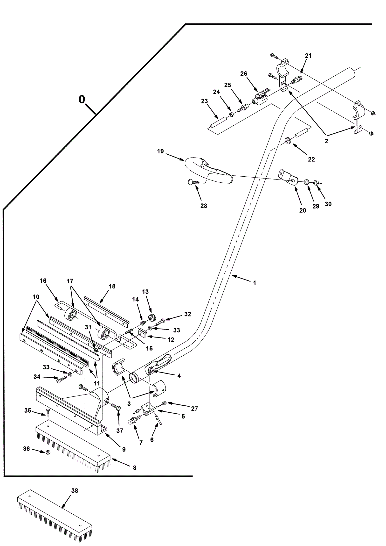
# | Part | Description | Price | Req | Notes | Availability |
0 |
175-8759
|
Deluxe power wand assembly |
$1,039.50
|
1 |
(includes 1-37) |
usually ships 1-5 days |
1 |
175-6351
|
Double bend wand |
$153.45
|
1 |
|
usually ships 1-5 days |
2 |
175-6380
|
Valve mounting bracket |
$73.48
|
1 |
|
usually ships 1-5 days |
3 |
175-6353
|
Head and wand adapter |
$24.09
|
2 |
|
usually ships 1-5 days |
4 |
175-1662
|
90 degree elbow fitting |
$5.28
|
1 |
|
usually ships 10-13 days |
5 |
175-6354
|
Spray nozzle adapter |
$13.64
|
1 |
|
usually ships 1-5 days |
6 |
175-6355
|
Pop rivet |
$3.96
|
2 |
|
usually ships 1-5 days |
7 |
175-6356
|
Spray nozzle |
$27.72
|
1 |
|
usually ships 1-5 days |
8 |
175-6357
|
Wand attachment brush |
$77.00
|
1 |
|
usually ships 1-5 days |
9 |
175-6358
|
Wand head (OBSOLETE) |
$139.92
|
1 |
|
usually ships 1-5 days |
10 |
175-6361
|
Squeegee blade retainer |
$53.02
|
2 |
|
usually ships 1-5 days |
11 |
175-6362
|
Squeegee blade 17 inch |
$68.53
|
2 |
|
usually ships 10-13 days |
12 |
175-6363
|
Axle bracket |
$10.78
|
1 |
|
usually ships 1-5 days |
13 |
175-1384
|
Thumb nut |
$12.10
|
1 |
|
usually ships 10-13 days |
14 |
175-5810
|
Conical compression spring |
$22.11
|
1 |
|
usually ships 1-5 days |
15 |
175-6366
|
Adjustment stud |
$7.59
|
1 |
|
usually ships 1-5 days |
16 |
175-6368
|
Axle |
$40.48
|
1 |
|
usually ships 1-5 days |
17 |
175-6369
|
Wheel (rubber) |
$11.66
|
2 |
|
usually ships 1-5 days |
18 |
175-6370
|
Axle bracket |
$23.54
|
1 |
|
usually ships 1-5 days |
19 |
175-6371
|
Wand handle |
$95.92
|
1 |
|
usually ships 1-5 days |
20 |
175-6373
|
Handle bracket |
$26.84
|
1 |
|
usually ships 1-5 days |
21 |
175-6374
|
Male quick connect plug |
$22.77
|
1 |
|
usually ships 1-5 days |
22 |
175-6376
|
Grommet |
$4.36
|
1 |
|
usually ships 1-5 days |
23 |
175-6377
|
Solution hose |
$18.92
|
1 |
|
ships same day |
24 |
175-6378
|
Hose clamp |
$5.61
|
1 |
|
usually ships 1-5 days |
25 |
175-6379
|
1/4 inch hose barb fitting |
$4.36
|
1 |
|
usually ships 1-5 days |
26 |
175-1683
|
Water control valve |
$51.43
|
1 |
|
usually ships 3-8 days |
27 |
175-6121
|
Brass plug |
$5.28
|
1 |
|
ships same day |
28 |
999-0963
|
Bolt 1/4-20 x 3/4 carriage head stainless steel |
$1.23
|
2 |
|
ships same day |
29 |
999-1261
|
Washer M6 flat stainless steel |
$0.99
|
2 |
|
ships same day |
30 |
999-0152
|
Nut 1/4-20 nylon insert lock zinc plated |
$0.99
|
2 |
|
ships same day |
31 |
999-1308
|
Nut M6-1 hex stainless steel |
$0.99
|
1 |
|
ships same day |
32 |
999-1090
|
Screw M5-.8 x 10mm pan head phillips zinc plated |
$0.99
|
4 |
|
ships same day |
33 |
999-1026
|
Washer #10 internal lock stainless steel |
$0.99
|
8 |
|
ships same day |
34 |
999-0901
|
Screw M5-.8 x 16mm pan head phillips stainless steel |
$0.99
|
4 |
|
ships same day |
35 |
175-5812
|
Screw 4 x 30 flat phillips |
$3.83
|
2 |
|
usually ships 1-5 days |
36 |
999-0954
|
Nut M4-.7 nylon insert lock stainless steel |
$0.99
|
2 |
|
ships same day |
37 |
999-0557
|
Screw 1/4-20 x 1/2 truss head slotted stainless steel |
$0.99
|
2 |
|
ships same day |
38 |
996-1269
|
Abrasive power wand brush with fastener |
$251.57
|
1 |
|
usually ships 1-5 days |