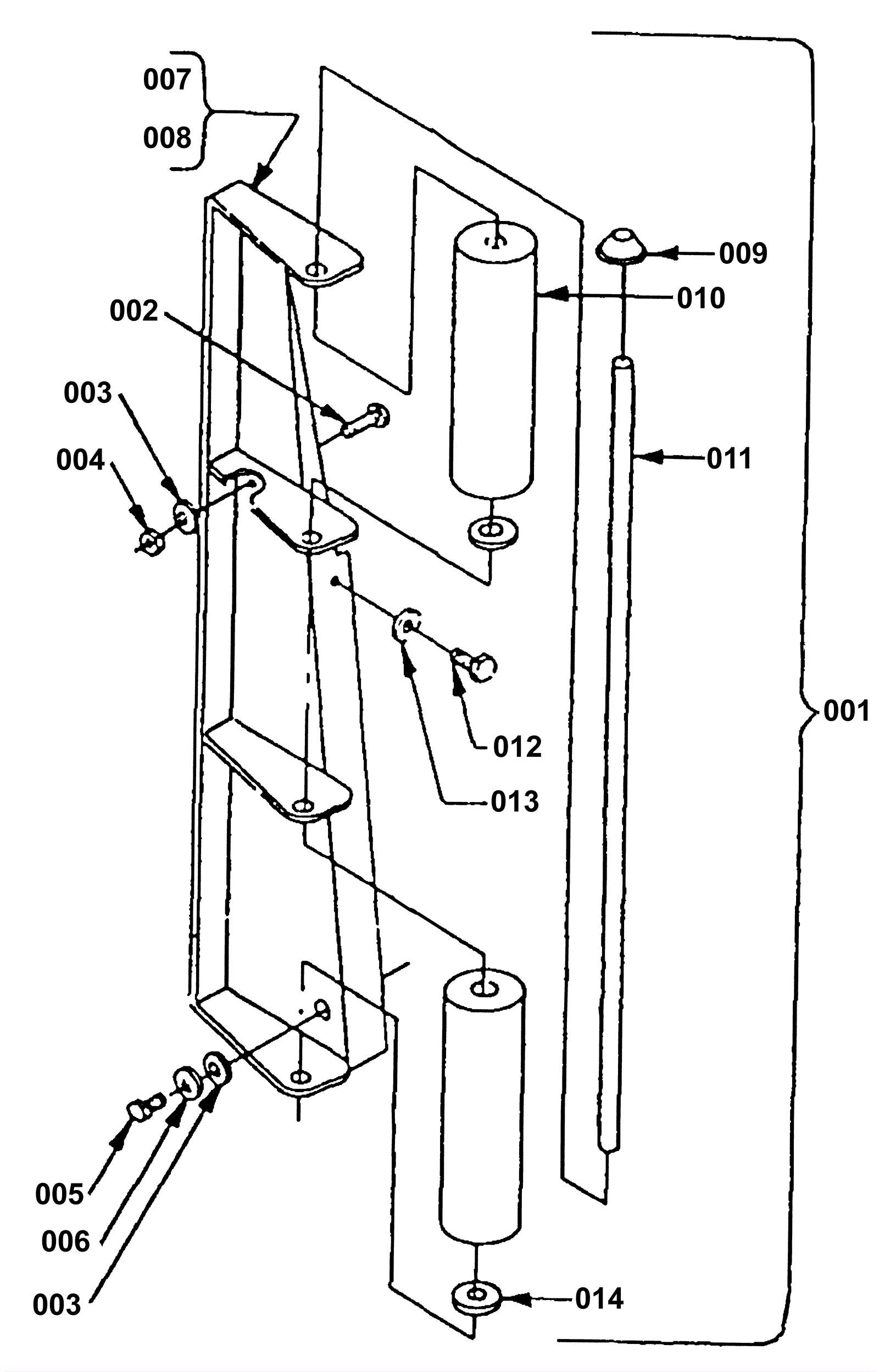
| # | Part | Description | Price | Req | Notes | Availability |
001 |
175-5173
|
Complete wall roller kit (OBSOLETE) |
$317.46
|
1 |
|
usually ships 1-5 days |
002 |
999-1146
|
Screw 5/16-18 x 3/4 truss head phillips stainless steel |
$1.41
|
2 |
|
ships same day |
003 |
175-0399
|
Washer 8mm plain (OBSOLETE) |
$0.99
|
4 |
|
usually ships 1-5 days |
005 |
999-0517
|
Bolt M8-1.25 x 16mm hex head full thread zinc |
$0.99
|
2 |
|
ships same day |
006 |
999-1053
|
Washer 5/16 internal star lock stainless steel |
$0.99
|
2 |
|
ships same day |
007 |
175-5176
|
Lefthand roller bracket (OBSOLETE) |
$129.47
|
1 |
|
usually ships 1-5 days |
008 |
175-5177
|
Righthand roller bracket (OBSOLETE) |
$1.98
|
1 |
|
usually ships 1-5 days |
009 |
175-5178
|
Push-on cap (OBSOLETE) |
$3.56
|
2 |
|
usually ships 1-5 days |
010 |
175-5179
|
Roller (OBSOLETE) |
$58.30
|
6 |
|
usually ships 1-5 days |
011 |
N/A
|
Not available |
Call for price
|
2 |
(Rod) |
usually ships 3-26 days |
012 |
999-0436
|
Bolt M6-1 x 10mm hex head full thread zinc (350B) |
$0.99
|
4 |
|
ships same day |
013 |
N/A
|
Not available |
Call for price
|
4 |
(Washer 6mm flat) |
usually ships 3-26 days |
014 |
999-0187
|
Washer 1/2 flat plain finish |
$0.99
|
6 |
|
ships same day |