| # | Part | Description | Price | Req | Notes | Availability |
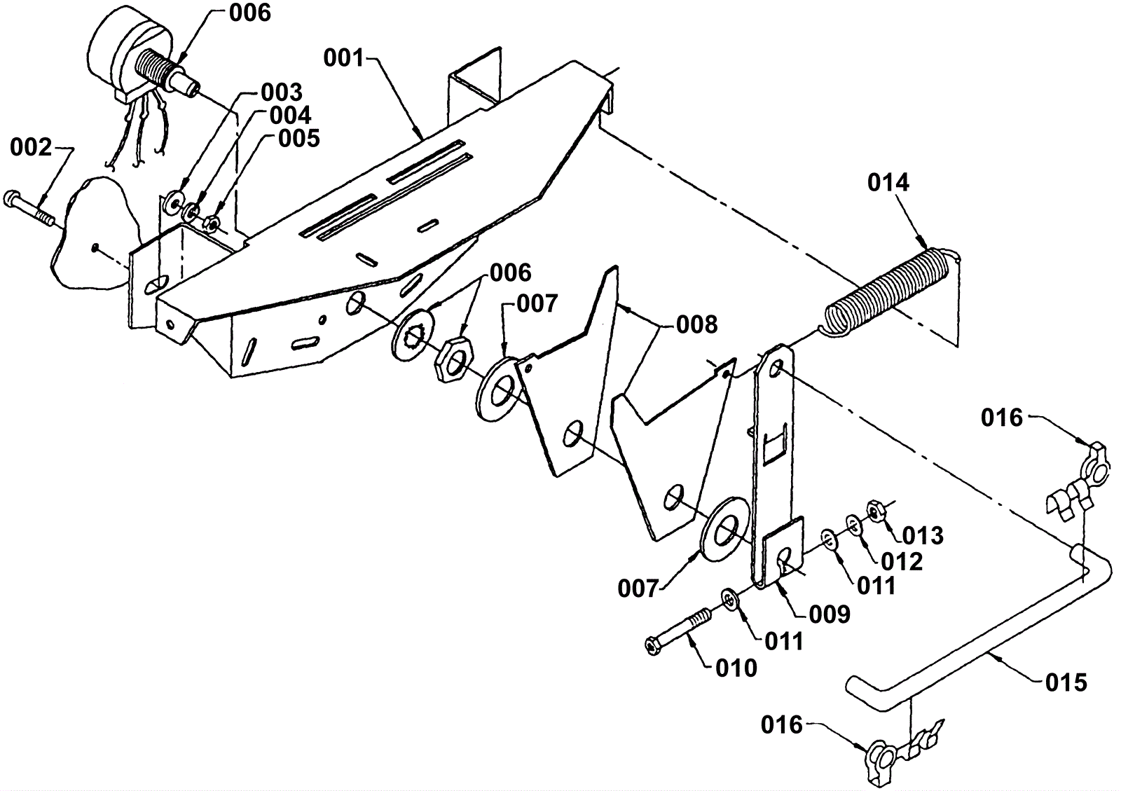
000 |
175-1345
|
Potentiometer bracket assembly complete (OBSOLETE) |
$259.49
|
|
(Includes all items except reference numbers 002 - 005) |
usually ships 1-5 days |
001 |
175-5137
|
Speed control pot/switch bracket (OBSOLETE) |
$22.99
|
1 |
|
usually ships 1-5 days |
002 |
999-1029
|
Screw 10-24 x 5/8 truss head phillips stainless steel |
$0.99
|
2 |
|
ships same day |
003 |
999-0998
|
Washer #10 flat stainless steel |
$0.99
|
2 |
|
ships same day |
004 |
999-0053
|
Washer #10 split lock plain finish |
$0.99
|
2 |
|
ships same day |
005 |
999-0356
|
Nut 10-24 lock stainless steel |
$0.99
|
2 |
|
ships same day |
006 |
175-1336
|
Potentiometer assembly (OBSOLETE) |
$109.56
|
1 |
|
usually ships 1-5 days |
007 |
N/A
|
Not available |
Call for price
|
2 |
Washer plain 0.50 inch narrow, zp |
usually ships 3-26 days |
008 |
175-2044
|
Potentiometer centering finger (OBSOLETE) |
$5.06
|
2 |
|
usually ships 1-5 days |
009 |
175-2047
|
Potentiometer arm clamp |
$15.40
|
1 |
|
usually ships 1-5 days |
011 |
999-0377
|
Washer 6 SAE flat plain finish |
$0.99
|
2 |
|
ships same day |
012 |
999-0051
|
Washer #6 medium split lock |
$0.99
|
1 |
|
ships same day |
013 |
999-0195
|
Nut 6-32 hex plain |
$0.99
|
1 |
|
ships same day |
014 |
175-5140
|
Extension spring |
$4.75
|
2 |
|
usually ships 1-5 days |
015 |
175-5141
|
Rod handlebar to pot (OBSOLETE) |
$9.46
|
1 |
|
usually ships 10-13 days |
016 |
175-2064
|
Extension spring |
$10.34
|
2 |
|
usually ships 10-13 days |