| # | Part | Description | Price | Req | Notes | Availability |
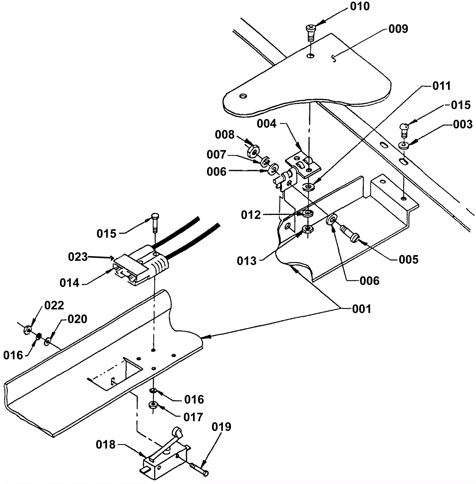
001 |
175-0449
|
Hood support bracket (OBSOLETE) |
$39.16
|
1 |
|
usually ships 1-5 days |
002 |
999-1029
|
Screw 10-24 x 5/8 truss head phillips stainless steel |
$0.99
|
4 |
|
ships same day |
003 |
175-0450
|
Mounting bracket (OBSOLETE) |
$41.69
|
4 |
|
usually ships 1-5 days |
004 |
175-0451
|
Hood hinge (OBSOLETE) |
$55.44
|
1 |
|
usually ships 1-5 days |
006 |
999-0998
|
Washer #10 flat stainless steel |
$0.99
|
8 |
|
ships same day |
007 |
999-0053
|
Washer #10 split lock plain finish |
$0.99
|
4 |
|
ships same day |
008 |
175-0447
|
Nut M5 hex (OBSOLETE) |
$0.99
|
4 |
|
usually ships 1-5 days |
009 |
175-0454
|
Plastic hood |
$504.13
|
2 |
|
usually ships 1-5 days |
010 |
175-2897
|
Screw M5 x 16mm |
$5.50
|
10 |
|
usually ships 1-5 days |
011 |
999-0998
|
Washer #10 flat stainless steel |
$0.99
|
10 |
|
ships same day |
012 |
999-0053
|
Washer #10 split lock plain finish |
$0.99
|
10 |
|
ships same day |
013 |
175-0447
|
Nut M5 hex (OBSOLETE) |
$0.99
|
10 |
|
usually ships 1-5 days |
014 |
175-0456
|
Battery cable & 50 A connector assembly (OBSOLETE) |
$49.28
|
1 |
|
usually ships 1-5 days |
015 |
175-0457
|
Screw 6-32 x 1 socket head (OBSOLETE) |
$1.45
|
2 |
|
usually ships 1-5 days |
016 |
999-0051
|
Washer #6 medium split lock |
$0.99
|
4 |
|
ships same day |
017 |
999-0195
|
Nut 6-32 hex plain |
$0.99
|
2 |
|
ships same day |
019 |
999-1167
|
Bolt 6-32 x 1 hex head stainless steel |
$2.27
|
2 |
|
usually ships 1-5 days |
020 |
999-0377
|
Washer 6 SAE flat plain finish |
$0.99
|
2 |
|
ships same day |
022 |
999-0195
|
Nut 6-32 hex plain |
$0.99
|
2 |
|
ships same day |
023 |
N/A
|
Not available |
Call for price
|
1 |
(not available) 50 amp Anderson plug assembly |
usually ships 3-26 days |