| # | Part | Description | Price | Req | Notes | Availability |
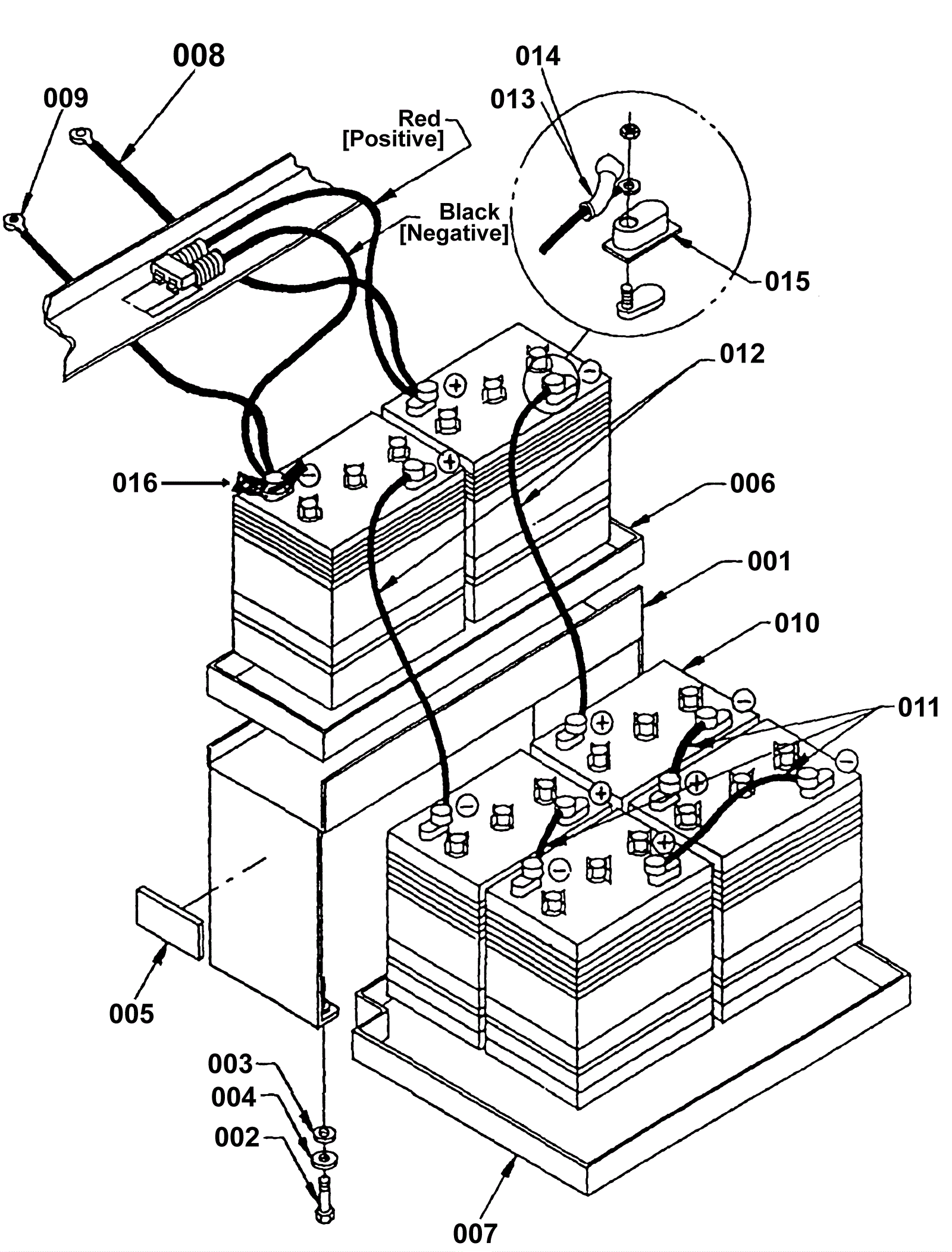
000 |
175-0365
|
Cable kit for battery set up (OBSOLETE) |
$67.76
|
|
|
usually ships 1-5 days |
001 |
175-0351
|
Battery tray (OBSOLETE) |
$113.19
|
1 |
|
usually ships 1-5 days |
002 |
999-1170
|
Bolt M10-1.5 x 20mm hex head stainless steel |
$3.06
|
4 |
|
ships same day |
003 |
175-0353
|
Washer plain (OBSOLETE) |
$0.99
|
4 |
|
usually ships 1-5 days |
005 |
175-0355
|
Battery tray cushion (OBSOLETE) |
$6.82
|
2 |
|
usually ships 1-5 days |
006 |
175-0356
|
Battery tray upper 26 inch (OBSOLETE) |
$41.80
|
1 |
|
usually ships 1-5 days |
007 |
175-0357
|
Battery tray lower 26 inch (OBSOLETE) |
$59.62
|
1 |
|
usually ships 1-5 days |
008 |
175-0358
|
Battery cable red (OBSOLETE) |
$30.36
|
1 |
|
usually ships 1-5 days |
009 |
175-0359
|
Battery cable black (OBSOLETE) |
$17.82
|
1 |
|
usually ships 1-5 days |
010 |
175-0360
|
Left side skirt assembly |
$667.81
|
6 |
|
usually ships 1-5 days |
011 |
175-9009
|
Cable |
$18.04
|
3 |
|
usually ships 10-13 days |
012 |
175-9022
|
Battery cable |
$24.31
|
2 |
|
usually ships 1-5 days |
013 |
N/A
|
Not available |
Call for price
|
6 |
(not available) Battery cable terminal boot, black |
usually ships 3-26 days |
014 |
N/A
|
Not available |
Call for price
|
6 |
(not available) Battery cable terminal boot, red |
usually ships 3-26 days |
015 |
N/A
|
Not available |
Call for price
|
12 |
(not available) Terminal cover |
usually ships 3-26 days |
016 |
175-0364
|
Nut wing (OBSOLETE) |
$1.58
|
13 |
|
usually ships 1-5 days |