# | Part | Description | Price | Req | Notes | Availability |
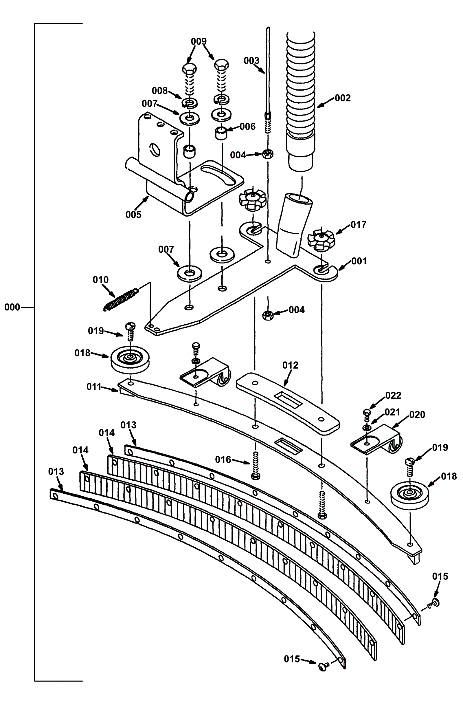
000a |
175-2059
|
Squeegee assembly curved 27 inch (680mm) (OBSOLETE) |
$325.23
|
1 |
(after 2001) (includes 11-22) |
usually ships 10-13 days |
000b |
N/A
|
Not available |
Call for price
|
1 |
(before 2001) (old style no longer available, replace with new style) |
usually ships 3-26 days |
001 |
175-3073
|
Squeegee mount bracket |
$394.24
|
1 |
|
usually ships 10-13 days |
002 |
175-2060
|
Vacuum hose with cuffs 1 1/2 x 24 inch |
$67.99
|
1 |
|
usually ships 10-13 days |
003 |
175-3068
|
Squeegee lift cable |
$35.86
|
1 |
|
usually ships 10-13 days |
004a |
999-0152
|
Nut 1/4-20 nylon insert lock zinc plated |
$0.99
|
2 |
(before 2001) |
ships same day |
004b |
999-0015
|
Nut 1/4-20 k-lock zinc plated |
$0.99
|
2 |
(after 2001) |
ships same day |
005 |
175-1016
|
Pivot mount bracket |
$105.05
|
1 |
|
ships same day |
006 |
175-2743
|
Sleeved bushing |
$5.15
|
2 |
|
usually ships 10-13 days |
007 |
999-0559
|
Washer 1/2 x 1/4 flat stainless steel |
$0.99
|
4 |
|
ships same day |
008 |
999-0126
|
Washer 1/2 split lock |
$1.28
|
2 |
|
ships same day |
009 |
999-0561
|
Bolt 1/2-13 x 1 hex head stainless steel |
$3.28
|
2 |
|
ships same day |
010 |
175-2970
|
Extension spring |
$7.37
|
1 |
|
usually ships 10-13 days |
011 |
275-9958
|
27 inch (680mm) squeegee weldment |
$442.09
|
1 |
(from 1997-2001) |
usually ships 10-13 days |
012 |
175-2027
|
Curved squeegee gasket |
$14.85
|
1 |
|
usually ships 10-13 days |
013 |
175-2035
|
Squeegee retaining plate |
$102.30
|
2 |
(from 1997-2001) |
usually ships 10-13 days |
014a |
175-2036
|
Squeegee blade 27 inch (680mm) urethane |
$41.25
|
2 |
(standard) |
ships same day |
014b |
275-5092
|
Squeegee blade kit 27 inch (680mm) linatex (OBSOLETE) |
$98.45
|
1 |
(optional) (includes 014c and 014d) |
usually ships 10-13 days |
014c |
175-9060
|
Squeegee blade 27 inch (680mm) linatex rear (OBSOLETE) |
$44.11
|
1 |
(optional) |
usually ships 10-13 days |
014d |
275-9421
|
Squeegee blade 27 inch (680mm) linatex front (OBSOLETE) |
$60.57
|
1 |
(optional) |
usually ships 10-13 days |
014e |
175-9059
|
Squeegee blade 27 inch gum rubber rear (OBSOLETE) |
$27.61
|
1 |
(optional) |
usually ships 10-13 days |
015a |
999-0586
|
Screw 10-24 x 1/2 truss head stainless steel |
$0.99
|
18 |
(after 2001) |
ships same day |
015b |
999-0999
|
Screw 10-24 x 3/8 truss head phillips stainless steel |
$1.43
|
18 |
(before 2001) |
ships same day |
016 |
999-0688
|
Bolt 5/16-18 x 1 1/4 hex head stainless steel |
$0.99
|
2 |
|
ships same day |
017 |
175-2812
|
Knob |
$10.34
|
2 |
|
ships same day |
018 |
175-0117
|
Guide wheel with bushing |
$10.67
|
2 |
|
ships same day |
019 |
999-1039
|
Screw 5/16-18 x 1 1/2 truss head phillips stainless steel |
$1.65
|
2 |
|
ships same day |
020 |
175-3091
|
Squeegee roller assembly |
$40.48
|
2 |
|
ships same day |
021 |
999-0553
|
Washer 5/16 medium split lock stainless steel |
$0.99
|
2 |
|
ships same day |
022 |
999-0030
|
Bolt 5/16-18 x 5/8 hex head grade 5 zinc plated |
$1.14
|
2 |
|
ships same day |