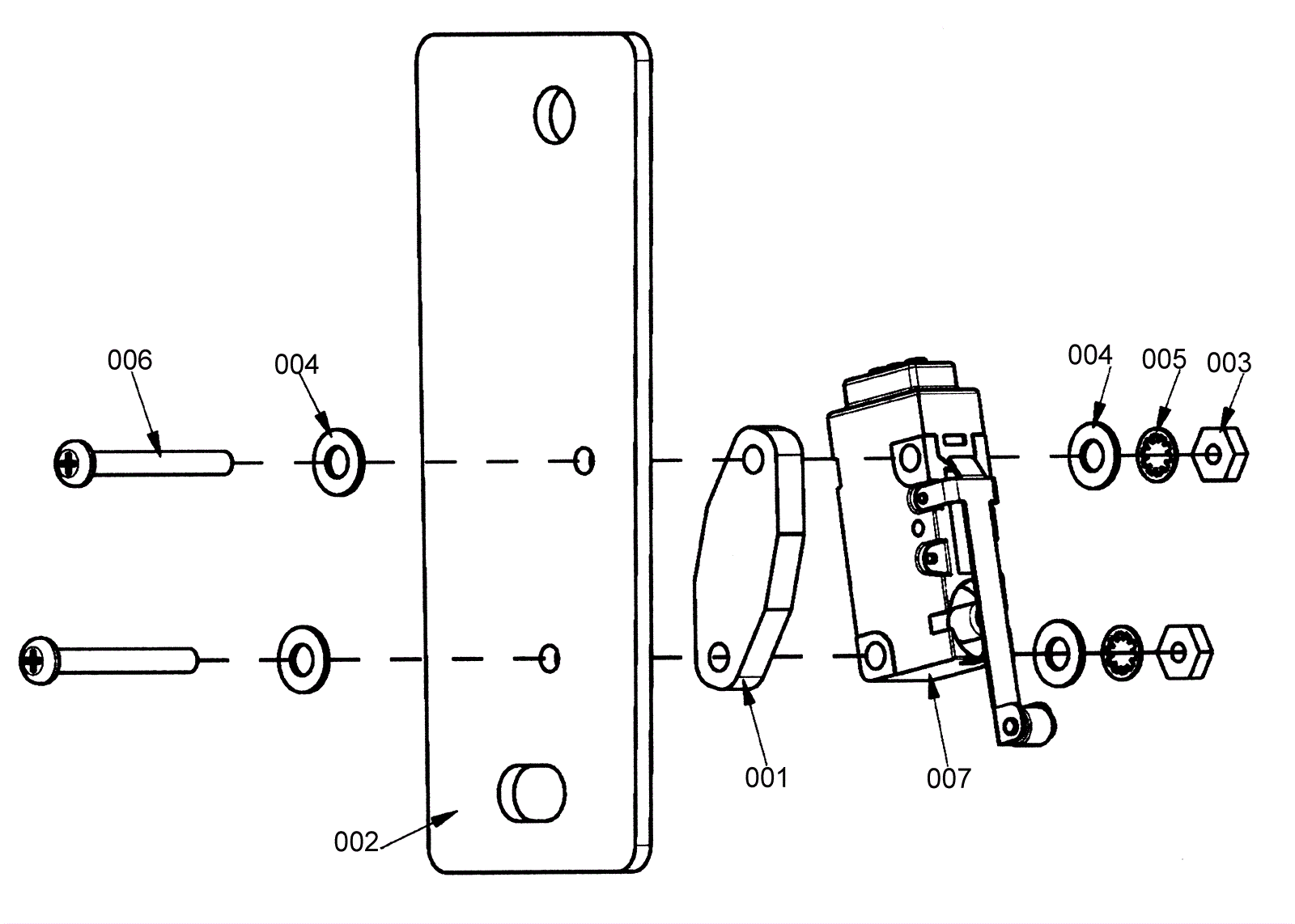
Switch Plate Assembly
Click to enlarge