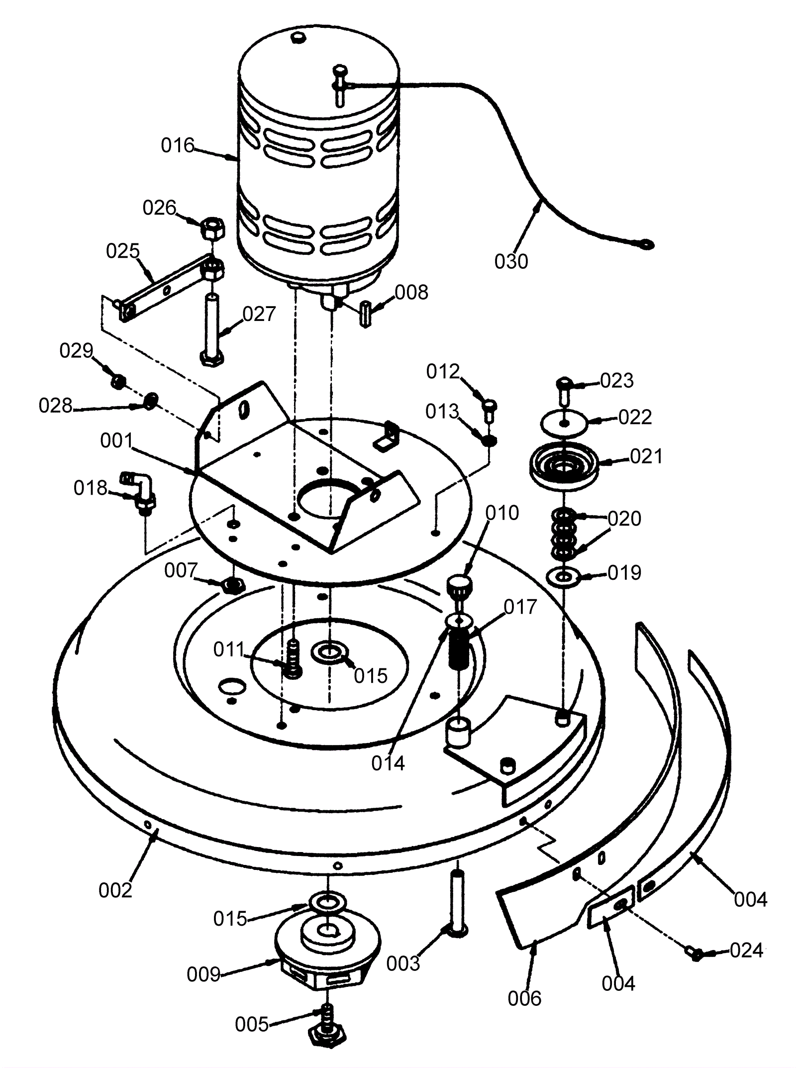
200X
Scrubhead Assembly
Click to enlarge
#
Part
Description
Price
Req
Notes
Availability
006
174-1543
Shroud skirt
$40.43
1
usually ships 9-13 days