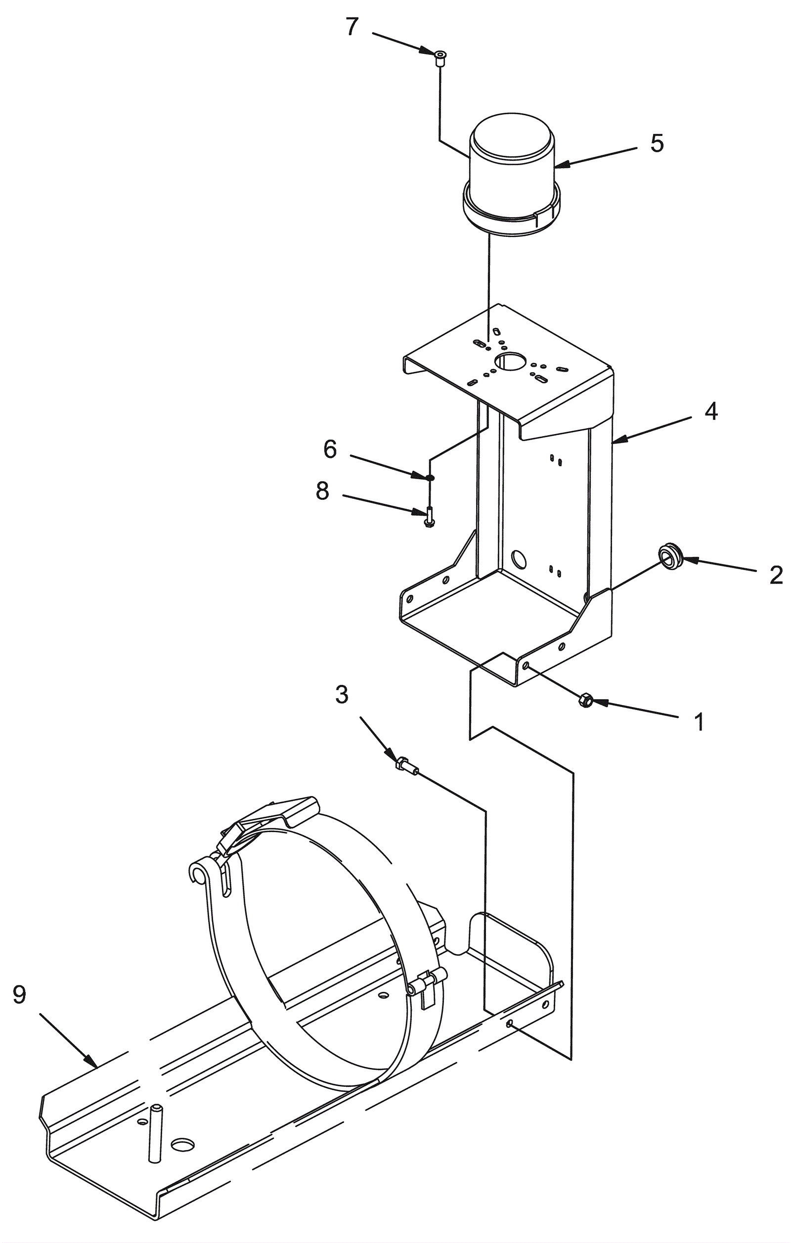
| # | Part | Description | Price | Req | Notes | Availability |
1 |
999-0496
|
Nut M8-1.25 nylon insert lock stainless steel |
$1.98
|
4 |
|
ships same day |
2 |
374-4145
|
Grommet |
Call for price
|
1 |
|
usually ships 1-5 days |
3 |
999-1133
|
Bolt M8-1.25 x 20mm hex head full thread plain |
$0.99
|
4 |
|
ships same day |
4 |
374-4645
|
Safety light mount weldment |
Call for price
|
1 |
|
usually ships 1-5 days |
5 |
374-4518
|
Amber flashing light assembly |
Call for price
|
1 |
|
usually ships 1-5 days |
6 |
N/A
|
Not available |
Call for price
|
2 |
(star washer) |
usually ships 3-26 days |
7 |
N/A
|
Not available |
Call for price
|
2 |
(expansion nut) |
usually ships 3-26 days |
8 |
N/A
|
Not available |
Call for price
|
2 |
(screw) |
usually ships 3-26 days |
9 |
N/A
|
Not available |
Call for price
|
|
(reserve LPG rack) (for reference only) |
usually ships 3-26 days |