| # | Part | Description | Price | Req | Notes | Availability |
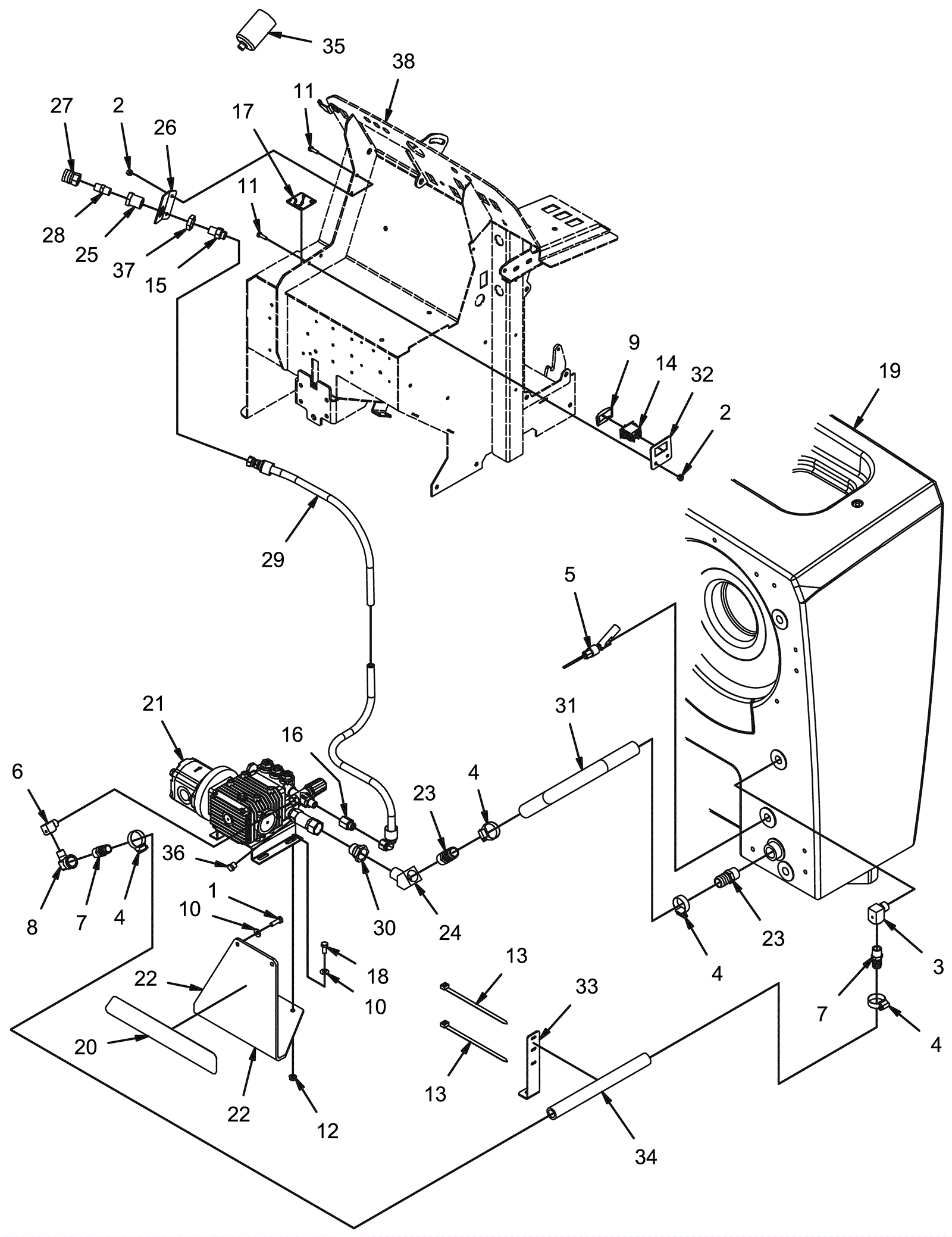
1 |
999-0501
|
Bolt M8-1.25 x 25mm hex head full thread stainless steel |
$2.64
|
2 |
|
ships same day |
2 |
999-0497
|
Nut M6-1 nylon insert lock stainless steel |
$0.99
|
4 |
|
ships same day |
3 |
274-2186
|
FITTING STREET 90 1/2 X 1/2 BRS |
$10.47
|
1 |
|
usually ships 1-5 days |
4 |
374-4080
|
Hose clamp |
$5.49
|
4 |
|
usually ships 1-5 days |
5 |
374-4017
|
Switch wire assembly |
Call for price
|
1 |
|
usually ships 1-5 days |
6 |
374-4593
|
Fitting |
Call for price
|
1 |
|
usually ships 1-5 days |
7 |
374-4594
|
Fitting |
Call for price
|
2 |
|
usually ships 1-5 days |
8 |
374-4595
|
Fitting |
Call for price
|
1 |
|
usually ships 1-5 days |
9 |
374-3825
|
Switch cover |
Call for price
|
1 |
|
usually ships 1-5 days |
10 |
374-0939
|
Washer 5/16 conical spring |
$1.08
|
6 |
|
usually ships 9-13 days |
11 |
999-0502
|
Bolt M6-1 x 20mm hex head full thread zinc |
$0.99
|
4 |
|
ships same day |
12 |
999-0665
|
Nut M8-1.25 flange lock |
$0.99
|
4 |
|
ships same day |
13 |
374-4596
|
Nylon cable tie |
Call for price
|
2 |
|
usually ships 1-5 days |
14 |
374-4532
|
Switch body |
Call for price
|
1 |
|
usually ships 1-5 days |
15 |
374-4598
|
Fitting |
Call for price
|
1 |
|
usually ships 1-5 days |
16 |
374-4597
|
Fitting |
Call for price
|
1 |
|
usually ships 1-5 days |
17 |
374-4599
|
Wash switch decal |
Call for price
|
1 |
|
usually ships 1-5 days |
18 |
999-9092
|
Screw M8-1.25 x 20mm hex head stainless steel |
$2.79
|
4 |
|
ships same day |
19a |
374-4600
|
Pressure washer solution tank |
Call for price
|
1 |
(standard machine) |
usually ships 1-5 days |
19b |
374-4601
|
Pressure washer solution tank |
Call for price
|
1 |
(high dump machine) |
usually ships 1-5 days |
20 |
374-3746
|
Step pad |
Call for price
|
1 |
|
usually ships 1-5 days |
21a |
374-4602
|
Pressure washer assembly |
Call for price
|
1 |
(order 21b as well) |
usually ships 1-5 days |
21b |
374-4618
|
Check valve replacement kit |
Call for price
|
1 |
(order with 21a) |
usually ships 1-5 days |
22 |
374-4603
|
Pressure washer mount |
Call for price
|
1 |
|
usually ships 1-5 days |
23 |
374-4604
|
Fitting |
Call for price
|
2 |
|
usually ships 1-5 days |
24 |
374-4605
|
Fitting |
Call for price
|
1 |
|
usually ships 1-5 days |
25 |
374-4606
|
Anchor coupling |
Call for price
|
1 |
(includes 37) |
usually ships 1-5 days |
26 |
374-4607
|
Quick disconnect mount |
Call for price
|
1 |
|
usually ships 1-5 days |
27 |
374-4608
|
Quick disconnect coupler with valving |
Call for price
|
1 |
|
usually ships 1-5 days |
28 |
374-4609
|
Fitting |
Call for price
|
1 |
|
usually ships 1-5 days |
29 |
374-4610
|
Hose |
Call for price
|
1 |
|
usually ships 1-5 days |
30 |
374-4611
|
Adapter |
Call for price
|
1 |
|
usually ships 1-5 days |
31 |
374-4612
|
Tubing |
Call for price
|
1 |
|
usually ships 1-5 days |
32 |
374-4613
|
Switch bracket |
Call for price
|
1 |
|
usually ships 1-5 days |
33 |
374-4614
|
Clamp bracket |
Call for price
|
1 |
|
usually ships 1-5 days |
34 |
374-4615
|
Tubing |
Call for price
|
1 |
|
usually ships 1-5 days |
35 |
374-4616
|
Ignition switch boot |
Call for price
|
1 |
|
usually ships 1-5 days |
36 |
174-3041
|
Pipe plug |
$1.72
|
1 |
|
usually ships 9-13 days |
37 |
N/A
|
Not available |
Call for price
|
1 |
(nut) (included with 25) |
usually ships 3-26 days |
38 |
N/A
|
Not available |
Call for price
|
|
(console) (for reference only) |
usually ships 3-26 days |
N/S |
374-4617
|
Pressure washer harness assembly |
Call for price
|
1 |
|
usually ships 1-5 days |
N/S |
274-0510
|
EDGING |
$2.87
|
1 |
|
usually ships 1-5 days |