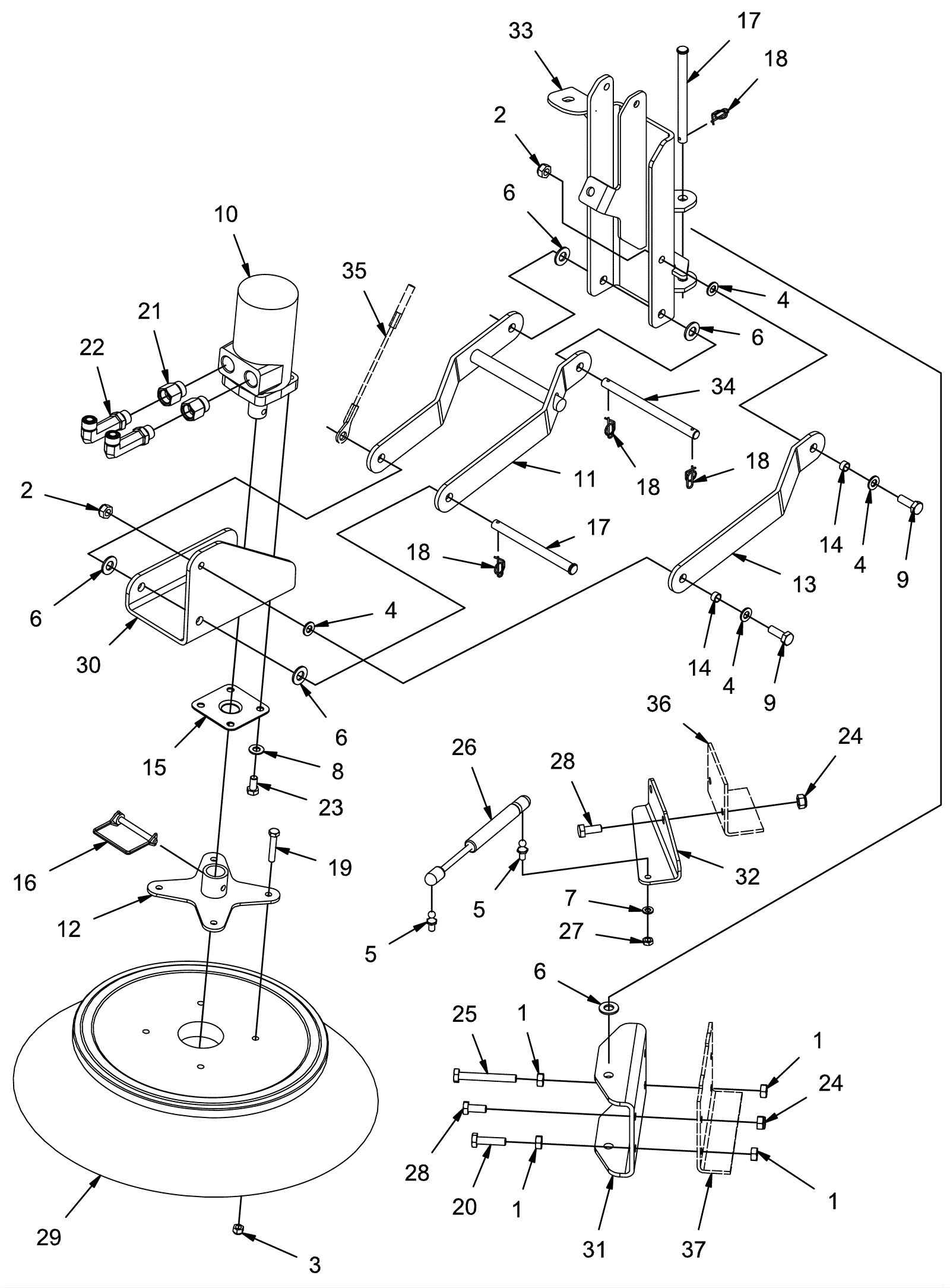
| # | Part | Description | Price | Req | Notes | Availability |
1 |
999-1428
|
Nut M10-1.5 hex zinc finish |
$0.99
|
4 |
|
ships same day |
2 |
999-1120
|
Nut M10-1.5 nylon insert lock stainless steel |
$4.27
|
2 |
|
ships same day |
3 |
999-0496
|
Nut M8-1.25 nylon insert lock stainless steel |
$1.98
|
4 |
|
ships same day |
4 |
174-8888
|
Washer |
$4.15
|
4 |
|
usually ships 9-13 days |
5 |
374-3171
|
Ball stud |
$3.58
|
2 |
|
usually ships 1-5 days |
6 |
374-0919
|
WASHER-FLAT 1/2 STANDARD ZP |
$1.33
|
5 |
|
usually ships 1-5 days |
7 |
374-0925
|
WASHER-LOCK 5/16 SPLIT ZP |
$1.33
|
2 |
|
usually ships 1-5 days |
8 |
374-0940
|
WASHER-CONICAL SPRING 3/8 |
Call for price
|
4 |
|
usually ships 1-5 days |
9 |
374-1639
|
SCR-M10-1.5 X 30 HEX HEAD GR 8.8 |
Call for price
|
2 |
|
usually ships 1-5 days |
10 |
374-4566
|
Motor |
Call for price
|
1 |
|
usually ships 1-5 days |
11 |
374-4567
|
Side brush trailing arm weldment |
Call for price
|
1 |
|
usually ships 1-5 days |
12 |
374-4568
|
Side brush flange weldment |
Call for price
|
1 |
|
usually ships 1-5 days |
13 |
374-4569
|
Side brush link |
Call for price
|
1 |
|
usually ships 1-5 days |
14 |
374-4570
|
Spacer |
Call for price
|
2 |
|
usually ships 1-5 days |
15 |
374-4571
|
String guard |
Call for price
|
1 |
|
usually ships 1-5 days |
16 |
374-4572
|
Wire lock pin |
Call for price
|
1 |
|
usually ships 1-5 days |
17 |
374-4573
|
Clevis pin |
Call for price
|
2 |
|
usually ships 1-5 days |
18 |
174-7161
|
Cotter pin |
$1.08
|
4 |
|
usually ships 1-5 days |
19 |
999-0470
|
Bolt M8-1.25 x 45mm hex head part thread zinc |
$0.99
|
4 |
|
ships same day |
20 |
999-0775
|
Screw M10-1.5 x 40mm hex head stainless steel |
$5.50
|
1 |
|
ships same day |
21 |
374-4574
|
Reducer fitting |
Call for price
|
2 |
|
usually ships 1-5 days |
22 |
374-4575
|
Long elbow fitting |
Call for price
|
2 |
|
usually ships 1-5 days |
23 |
999-0119
|
Bolt 3/8-16 x 3/4 hex head grade 5 zinc plated |
$1.01
|
4 |
|
ships same day |
24 |
999-6697
|
Nut M10-1.5 hex stainless steel |
$1.01
|
4 |
|
ships same day |
25 |
999-6709
|
Screw M10-1.5 x 80mm hex head stainless steel |
$5.94
|
1 |
|
ships same day |
26 |
374-3963
|
Gas strut |
$41.00
|
1 |
|
usually ships 1-5 days |
27 |
999-1019
|
Nut 5/16-18 hex jam stainless steel |
$0.99
|
2 |
|
ships same day |
28 |
174-3661
|
Hex head screw #M10-1.50 x 25 stainless steel |
$3.30
|
4 |
|
ships same day |
29 |
374-4576
|
20 inch side broom |
Call for price
|
1 |
|
usually ships 1-5 days |
30 |
374-4577
|
Side brush motor mount |
Call for price
|
1 |
|
usually ships 1-5 days |
31 |
374-4578
|
Side broom pivot mount |
Call for price
|
1 |
|
usually ships 1-5 days |
32 |
374-4579
|
Side broom gas strut mount |
Call for price
|
1 |
|
usually ships 1-5 days |
33 |
374-4580
|
Side broom pivot weldment |
Call for price
|
1 |
|
usually ships 1-5 days |
34 |
374-4581
|
Retaining pin |
Call for price
|
1 |
|
usually ships 1-5 days |
35 |
N/A
|
Not available |
Call for price
|
|
(side brush cable) (for reference only) |
usually ships 3-26 days |
36 |
N/A
|
Not available |
Call for price
|
|
(frame) (for reference only) |
usually ships 3-26 days |
37 |
N/A
|
Not available |
Call for price
|
|
(frame) (for reference only) |
usually ships 3-26 days |