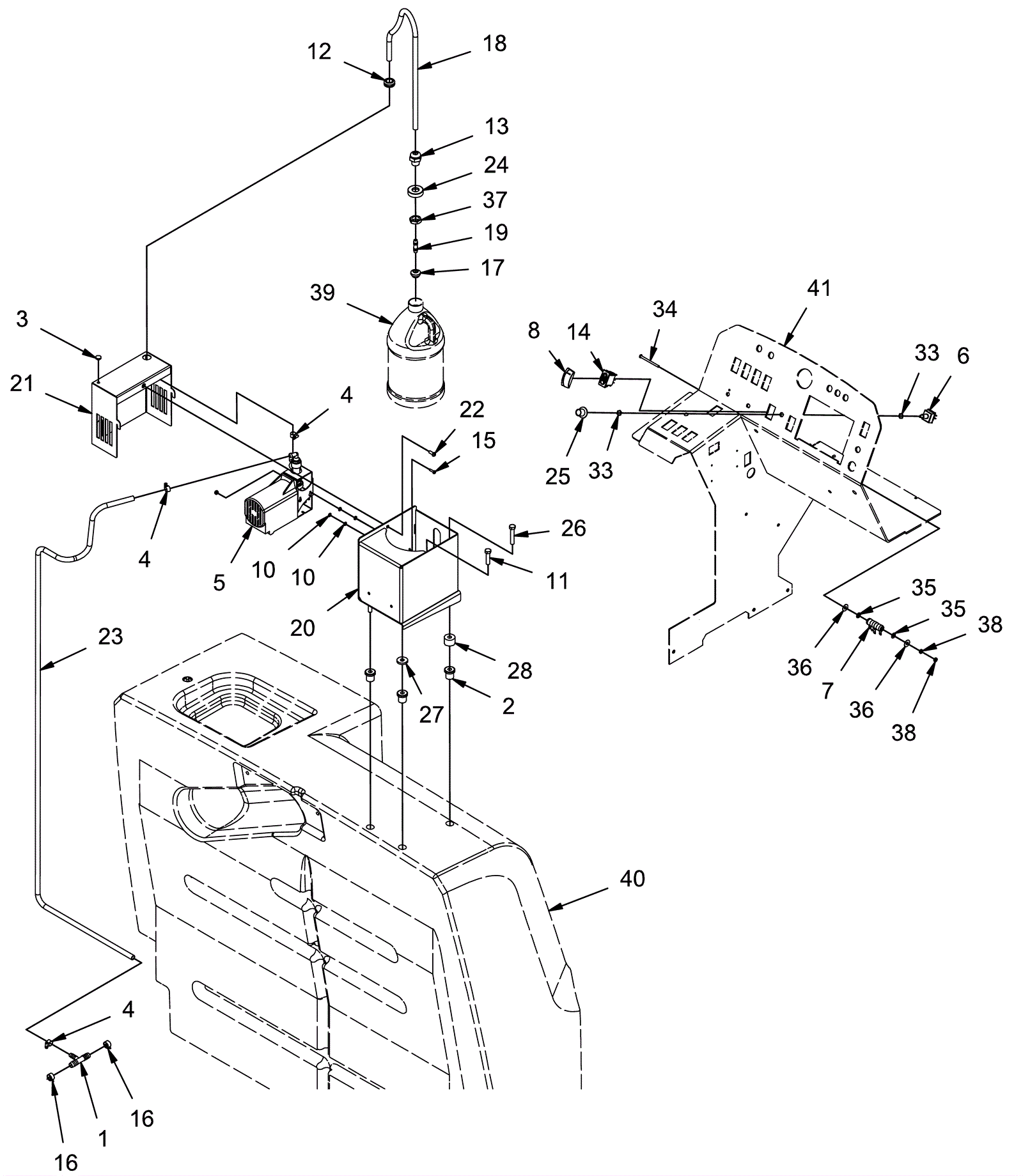
| # | Part | Description | Price | Req | Notes | Availability |
1 |
174-7188
|
Tee fitting |
$0.90
|
1 |
|
usually ships 7-8 days |
2 |
374-3901
|
Isolator |
Call for price
|
3 |
|
usually ships 1-5 days |
3 |
174-1868
|
Rubber bumper 1/4 x 1/8 inch |
$1.55
|
1 |
|
ships same day |
4 |
174-1628
|
Hose clamp |
$5.02
|
3 |
|
usually ships 1-5 days |
5 |
374-4529
|
Metering pump |
Call for price
|
1 |
|
usually ships 1-5 days |
6 |
374-4530
|
4-way rotary switch |
Call for price
|
1 |
(includes 33) |
usually ships 1-5 days |
7 |
374-4531
|
Resistor |
Call for price
|
1 |
|
usually ships 1-5 days |
8 |
374-3825
|
Switch cover |
Call for price
|
1 |
|
usually ships 1-5 days |
10 |
999-0412
|
Washer #8 SAE flat |
$0.99
|
4 |
|
ships same day |
11 |
999-1489
|
Screw 3/8-16 x 1 1/2 hex head stainless steel |
$1.72
|
2 |
|
ships same day |
12 |
374-4145
|
Grommet |
Call for price
|
1 |
|
usually ships 1-5 days |
13 |
374-4546
|
Strain relief |
Call for price
|
1 |
(includes 37) |
usually ships 1-5 days |
14 |
374-4532
|
Switch body |
Call for price
|
1 |
|
usually ships 1-5 days |
15 |
174-2592
|
Screw 8 x 32 x 5/8 |
$1.08
|
2 |
|
usually ships 1-5 days |
16 |
374-4038
|
Wire hose clamp |
Call for price
|
2 |
|
usually ships 1-5 days |
17 |
374-4533
|
Suction strainer |
Call for price
|
1 |
|
usually ships 1-5 days |
18 |
374-4534
|
Tubing |
Call for price
|
1 |
|
usually ships 1-5 days |
19 |
374-4535
|
Fitting |
Call for price
|
1 |
|
usually ships 1-5 days |
20 |
374-4536
|
Chemical pump mount weldment |
Call for price
|
1 |
|
usually ships 1-5 days |
21 |
374-4537
|
Pump cover assembly |
Call for price
|
1 |
|
usually ships 1-5 days |
22 |
999-0920
|
Screw M6-1 x 16mm button head socket |
$0.99
|
1 |
|
ships same day |
23 |
374-4538
|
Tubing |
Call for price
|
1 |
|
usually ships 1-5 days |
24 |
374-4539
|
Chemical container cap |
Call for price
|
1 |
|
usually ships 1-5 days |
25 |
374-3835
|
Knob |
Call for price
|
1 |
|
usually ships 1-5 days |
26 |
999-0550
|
Bolt 3/8-16 x 2 hex head stainless steel |
$2.95
|
1 |
|
ships same day |
27 |
374-4540
|
Spacer |
Call for price
|
1 |
|
usually ships 1-5 days |
28 |
374-4541
|
Spacer |
Call for price
|
1 |
|
usually ships 1-5 days |
33 |
N/A
|
Not available |
Call for price
|
2 |
(nut) |
usually ships 3-26 days |
34 |
N/A
|
Not available |
Call for price
|
1 |
(screw #10-32 x 2 5/8) |
usually ships 3-26 days |
35 |
N/A
|
Not available |
Call for price
|
2 |
(ridge washer) |
usually ships 3-26 days |
36 |
999-0024
|
Washer 5/16 flat stainless steel |
$1.34
|
2 |
|
ships same day |
37 |
N/A
|
Not available |
Call for price
|
1 |
(plastic nut) |
usually ships 3-26 days |
38 |
N/A
|
Not available |
Call for price
|
2 |
(nut #19-32) |
usually ships 3-26 days |
39 |
N/A
|
Not available |
Call for price
|
|
(chemical container) (for reference only) |
usually ships 3-26 days |
40 |
N/A
|
Not available |
Call for price
|
|
(solution tank) (for reference only) |
usually ships 3-26 days |
41 |
N/A
|
Not available |
Call for price
|
|
(console) (for reference only) |
usually ships 3-26 days |
N/S |
999-0357
|
Nut 8-32 nylon insert lock stainless steel |
$0.99
|
2 |
|
ships same day |
N/S |
374-4542
|
Spray pump harness assembly |
Call for price
|
1 |
|
usually ships 1-5 days |
N/S |
374-4543
|
Spray pump harness assembly |
Call for price
|
1 |
|
usually ships 1-5 days |
N/S |
374-4544
|
Spray pump harness assembly |
Call for price
|
1 |
|
usually ships 1-5 days |
N/S |
374-4545
|
Wire assembly |
Call for price
|
1 |
|
usually ships 1-5 days |