| # | Part | Description | Price | Req | Notes | Availability |
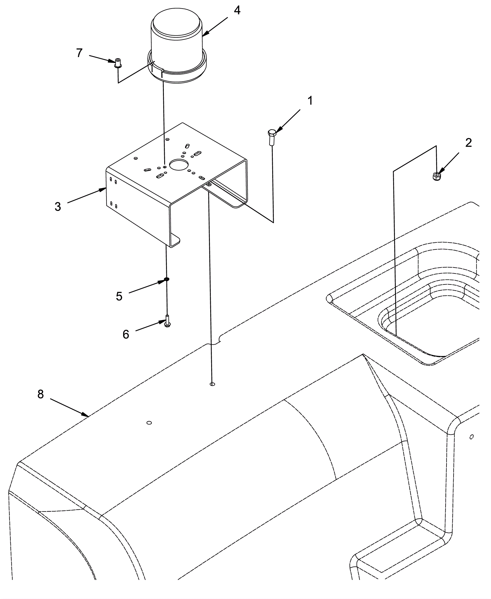
1 |
999-0501
|
Bolt M8-1.25 x 25mm hex head full thread stainless steel |
$2.64
|
2 |
|
ships same day |
2 |
999-0496
|
Nut M8-1.25 nylon insert lock stainless steel |
$1.98
|
2 |
|
ships same day |
3 |
374-4524
|
Safety lights mount |
Call for price
|
1 |
|
usually ships 1-5 days |
4 |
374-4518
|
Amber flashing light assembly |
Call for price
|
1 |
(includes 5-7) |
usually ships 1-5 days |
5 |
N/A
|
Not available |
Call for price
|
2 |
(star washer) (included in 4) |
usually ships 3-26 days |
6 |
N/A
|
Not available |
Call for price
|
2 |
(screw) (included in 4) |
usually ships 3-26 days |
7 |
N/A
|
Not available |
Call for price
|
2 |
(expansion nut) (included in 4) |
usually ships 3-26 days |
8 |
N/A
|
Not available |
Call for price
|
|
(solution tank) (for reference only) |
usually ships 3-26 days |
N/S |
374-4525
|
Safety light and backup alarm harness |
Call for price
|
1 |
|
usually ships 1-5 days |