| # | Part | Description | Price | Req | Notes | Availability |
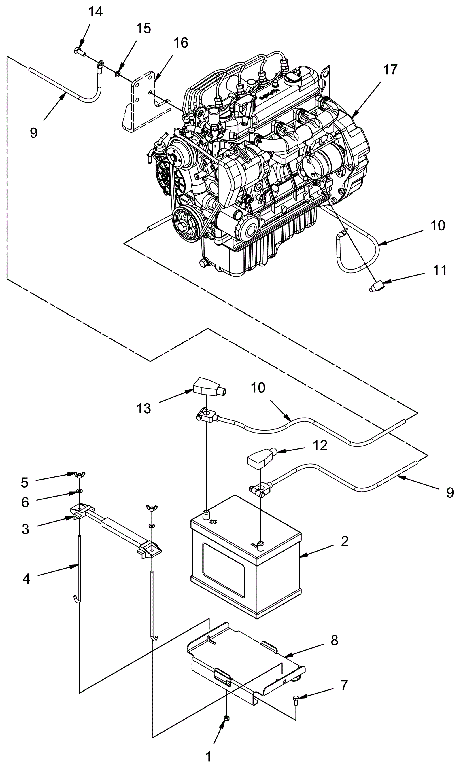
1 |
999-0496
|
Nut M8-1.25 nylon insert lock stainless steel |
$1.98
|
2 |
|
ships same day |
2 |
374-4334
|
12V battery |
Call for price
|
1 |
|
usually ships 1-5 days |
3 |
374-4335
|
Battery hold down |
Call for price
|
1 |
|
usually ships 1-5 days |
4 |
374-4336
|
Battery tie down rod |
Call for price
|
2 |
|
usually ships 1-5 days |
5 |
374-0918
|
NUT-WING 1/4-20 ZP |
$1.33
|
2 |
|
usually ships 1-5 days |
6 |
999-0016
|
Washer 1/4 flat plain finish |
$0.99
|
2 |
|
ships same day |
7 |
999-1133
|
Bolt M8-1.25 x 20mm hex head full thread plain |
$0.99
|
2 |
|
ships same day |
8 |
374-4337
|
Battery tray |
Call for price
|
1 |
|
usually ships 1-5 days |
9 |
374-4338
|
Negative battery cable |
Call for price
|
1 |
(includes 12) |
usually ships 1-5 days |
10 |
374-4339
|
Positive battery cable |
Call for price
|
1 |
(includes 13) |
usually ships 1-5 days |
11 |
274-1585
|
TERMINAL INSULATOR-RED 1GA |
$8.96
|
1 |
|
usually ships 1-5 days |
12 |
N/A
|
Not available |
Call for price
|
1 |
(black battery boot) (included with 9) |
usually ships 3-26 days |
13 |
N/A
|
Not available |
Call for price
|
1 |
(red battery boot) (included with 10) |
usually ships 3-26 days |
14 |
999-1372
|
Bolt M10-1.5 x 25mm hex head stainless steel |
$3.56
|
|
(for reference only) |
ships same day |
15 |
999-1081
|
Washer M10 split lock stainless steel |
$1.09
|
|
(for reference only) |
ships same day |
16 |
N/A
|
Not available |
Call for price
|
|
(engine mount) (for reference only) |
usually ships 3-26 days |
17 |
N/A
|
Not available |
Call for price
|
|
(engine) (for reference only) |
usually ships 3-26 days |