| # | Part | Description | Price | Req | Notes | Availability |
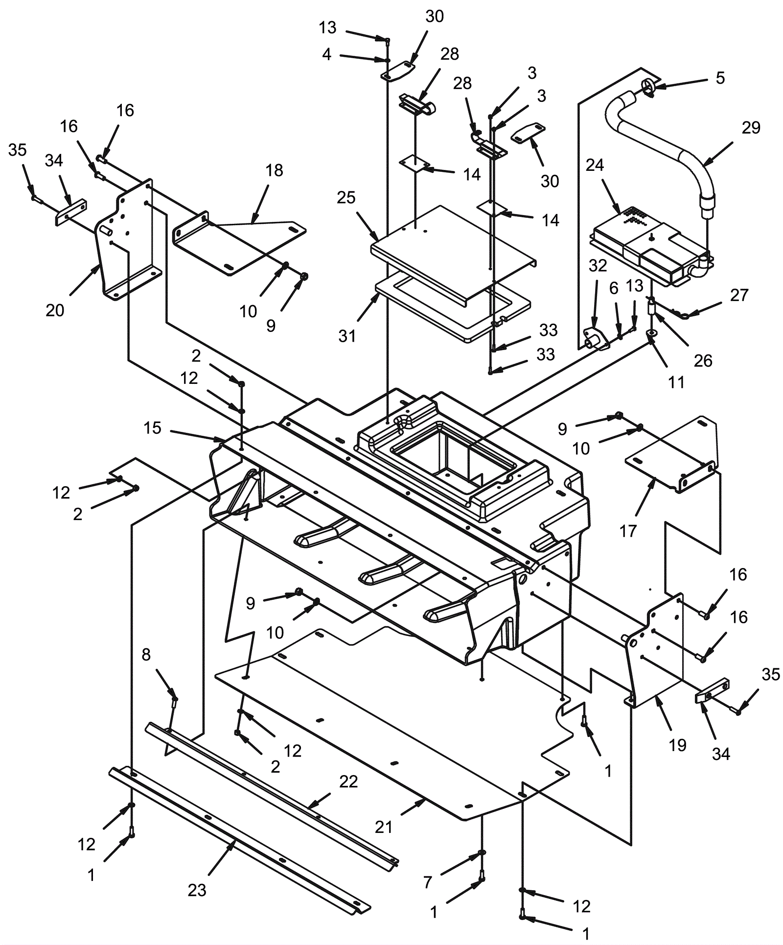
1 |
999-0501
|
Bolt M8-1.25 x 25mm hex head full thread stainless steel |
$2.64
|
11 |
|
ships same day |
2 |
999-0496
|
Nut M8-1.25 nylon insert lock stainless steel |
$1.98
|
18 |
|
ships same day |
3 |
999-0495
|
Nut M5-.8 nylon insert lock zinc plated |
$0.99
|
4 |
|
ships same day |
4 |
999-1261
|
Washer M6 flat stainless steel |
$0.99
|
4 |
|
ships same day |
5 |
374-4080
|
Hose clamp |
$5.49
|
1 |
|
usually ships 1-5 days |
6 |
374-0938
|
WASHER-CONICAL SPRING 1/4 |
$1.08
|
2 |
|
usually ships 9-13 days |
7 |
374-0939
|
Washer 5/16 conical spring |
$1.08
|
1 |
|
usually ships 9-13 days |
8 |
999-0910
|
Screw M8-1.25 x 25mm button head socket |
$3.19
|
4 |
|
ships same day |
9 |
999-6697
|
Nut M10-1.5 hex stainless steel |
$1.01
|
8 |
|
ships same day |
10 |
999-9099
|
Washer M10 flat stainless steel |
$0.99
|
8 |
|
ships same day |
11 |
174-3644
|
Washer fender m8 x 24 stainless steel |
$1.08
|
1 |
|
ships same day |
12 |
999-9097
|
Washer M8 flat stainless steel |
$0.99
|
26 |
|
ships same day |
13 |
999-0507
|
Bolt M6-1 x 16mm hex head full thread plain finish |
$0.99
|
6 |
|
ships same day |
14 |
374-4081
|
Spacer plate |
Call for price
|
2 |
|
usually ships 1-5 days |
15 |
374-4082
|
High dump hopper |
Call for price
|
1 |
|
usually ships 1-5 days |
16 |
374-4083
|
Bolt M10-1.50 x 25 button cap |
Call for price
|
8 |
|
usually ships 1-5 days |
17 |
374-4084
|
Left hand hopper mount weldment |
Call for price
|
1 |
|
usually ships 1-5 days |
18 |
374-4085
|
Right hand hopper mount |
Call for price
|
1 |
|
usually ships 1-5 days |
19 |
374-4086
|
Left hand side support weldment |
Call for price
|
1 |
|
usually ships 1-5 days |
20 |
374-4087
|
Right hand side support weldment |
Call for price
|
1 |
|
usually ships 1-5 days |
21 |
374-4088
|
Hopper skid plate |
Call for price
|
1 |
|
usually ships 1-5 days |
22 |
374-4089
|
Hopper lip |
Call for price
|
1 |
|
usually ships 1-5 days |
23 |
374-4090
|
Upper angle |
Call for price
|
1 |
|
usually ships 1-5 days |
24 |
374-4091
|
Separator weldment |
Call for price
|
1 |
|
usually ships 1-5 days |
25 |
374-4092
|
Hopper cover |
Call for price
|
1 |
|
usually ships 1-5 days |
26 |
374-4093
|
Strainer pin |
Call for price
|
1 |
|
usually ships 1-5 days |
27 |
374-4094
|
Hair cotter pin |
Call for price
|
1 |
|
usually ships 1-5 days |
28 |
374-4095
|
Pull latch |
Call for price
|
2 |
|
usually ships 1-5 days |
29 |
374-4096
|
Hose assembly |
Call for price
|
1 |
|
usually ships 1-5 days |
30 |
374-4097
|
Striker plate |
Call for price
|
2 |
|
usually ships 1-5 days |
31 |
374-4098
|
Hopper access seal |
Call for price
|
1 |
|
usually ships 1-5 days |
32 |
374-4099
|
Seal face weldment |
Call for price
|
1 |
|
usually ships 1-5 days |
33 |
999-1618
|
Bolt M5-.8 x 16mm hex head stainless steel |
$0.99
|
4 |
|
ships same day |
34 |
374-4100
|
Guide |
Call for price
|
2 |
|
usually ships 1-5 days |
35 |
999-1621
|
Screw M8-1.25 x 30mm socket head stainless steel |
$2.30
|
4 |
|
usually ships 1-5 days |