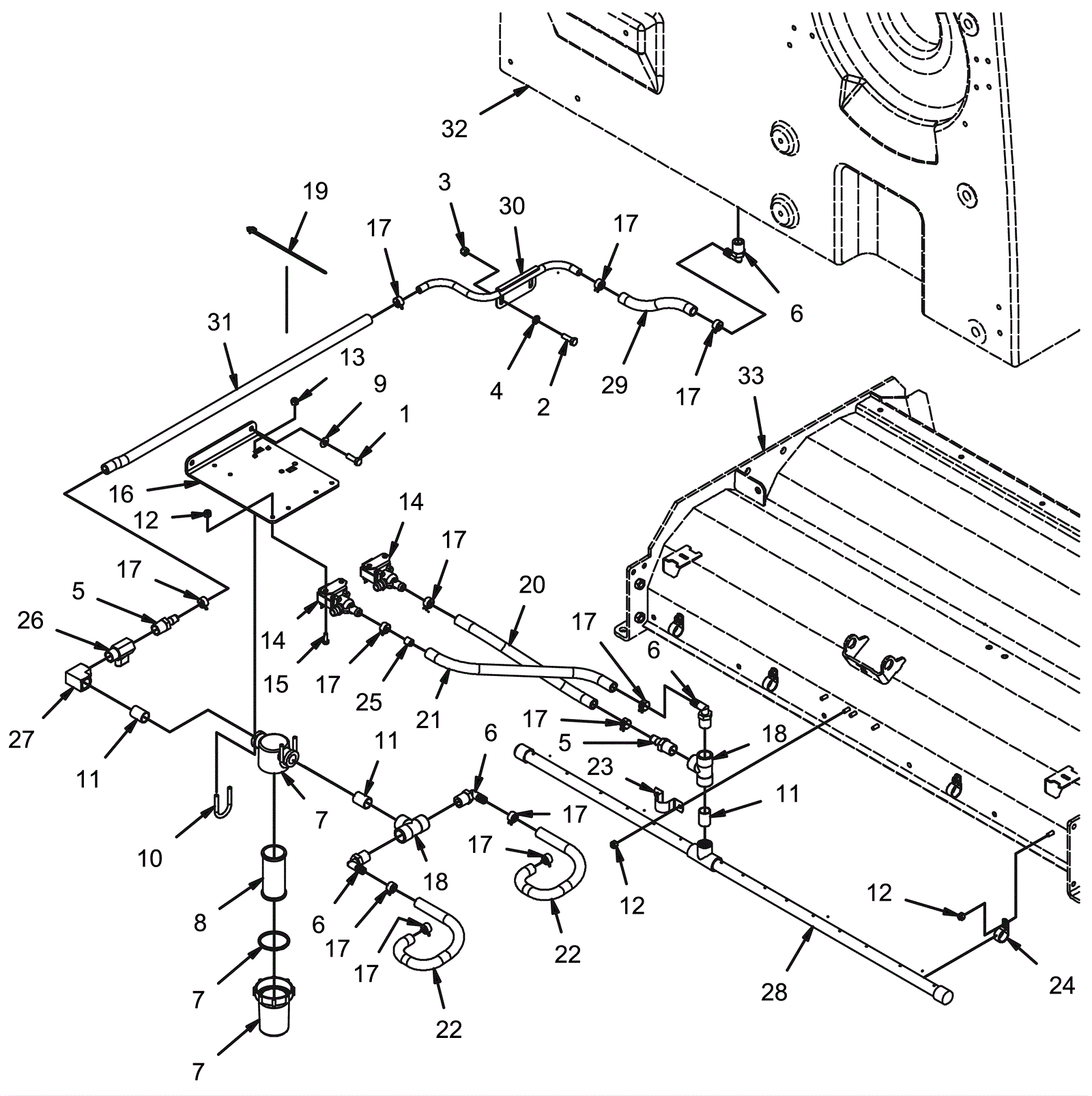
| # | Part | Description | Price | Req | Notes | Availability |
1 |
999-0501
|
Bolt M8-1.25 x 25mm hex head full thread stainless steel |
$2.64
|
2 |
|
ships same day |
2 |
999-0501
|
Bolt M8-1.25 x 25mm hex head full thread stainless steel |
$2.64
|
2 |
|
ships same day |
3 |
999-0496
|
Nut M8-1.25 nylon insert lock stainless steel |
$1.98
|
2 |
|
ships same day |
4 |
999-9097
|
Washer M8 flat stainless steel |
$0.99
|
2 |
|
ships same day |
5 |
374-1652
|
FITTING PP 1/2MPT 1/2BARB |
$1.51
|
2 |
|
usually ships 1-5 days |
6 |
174-1851
|
90 degree elbow fitting |
$5.02
|
4 |
|
usually ships 9-13 days |
7 |
174-1680
|
Strainer -in-line solution |
$55.54
|
1 |
|
usually ships 9-13 days |
8 |
174-6565
|
Screen |
$11.01
|
1 |
|
usually ships 9-13 days |
9 |
374-0939
|
Washer 5/16 conical spring |
$1.08
|
2 |
|
usually ships 9-13 days |
10 |
374-4035
|
Clamp |
Call for price
|
2 |
|
usually ships 1-5 days |
11 |
174-2586
|
Fitting brass nipple 1/2 mpt |
$10.06
|
3 |
|
usually ships 1-5 days |
12 |
999-9131
|
Nut M6 x 1 nylon lock stainless steel |
$0.99
|
10 |
|
ships same day |
13 |
999-0294
|
Nut 1/4-20 hex nylon lock type NE stainless steel |
$1.18
|
4 |
|
ships same day |
14 |
374-4036
|
12V solenoid valve |
Call for price
|
2 |
|
usually ships 1-5 days |
15 |
999-0507
|
Bolt M6-1 x 16mm hex head full thread plain finish |
$0.99
|
4 |
|
ships same day |
16 |
374-4037
|
Filter mount bracket |
Call for price
|
1 |
|
usually ships 1-5 days |
17 |
374-4038
|
Wire hose clamp |
Call for price
|
12 |
|
usually ships 1-5 days |
18 |
374-4039
|
Fitting |
Call for price
|
2 |
|
usually ships 1-5 days |
19 |
374-4040
|
Mounted cable tie |
Call for price
|
4 |
|
usually ships 1-5 days |
20 |
174-1361
|
Hose 1/2 x 18 1/2 inch |
$6.44
|
1 |
|
ships same day |
21 |
374-4041
|
Tubing |
Call for price
|
1 |
|
usually ships 1-5 days |
22 |
374-4042
|
Tubing |
Call for price
|
2 |
|
usually ships 1-5 days |
23 |
374-4043
|
Clamp |
Call for price
|
1 |
|
usually ships 1-5 days |
24 |
374-4044
|
Hose clamp |
Call for price
|
4 |
|
usually ships 1-5 days |
25 |
374-4045
|
Solution orifice |
Call for price
|
1 |
|
usually ships 1-5 days |
26 |
374-4046
|
Ball valve |
Call for price
|
1 |
|
usually ships 1-5 days |
27 |
374-4047
|
Elbow fitting |
Call for price
|
1 |
|
usually ships 1-5 days |
28 |
374-4048
|
Solution delivery bar |
Call for price
|
1 |
|
usually ships 1-5 days |
29 |
374-4049
|
Tubing |
Call for price
|
1 |
|
usually ships 1-5 days |
30 |
374-4050
|
Solution tube weldment |
Call for price
|
1 |
|
usually ships 1-5 days |
31 |
374-4051
|
Tubing |
Call for price
|
1 |
|
usually ships 1-5 days |
32 |
N/A
|
Not available |
Call for price
|
|
(solution tank) (for reference only) |
usually ships 3-26 days |
33 |
N/A
|
Not available |
Call for price
|
|
(scrub head) (for reference only) |
usually ships 3-26 days |