| # | Part | Description | Price | Req | Notes | Availability |
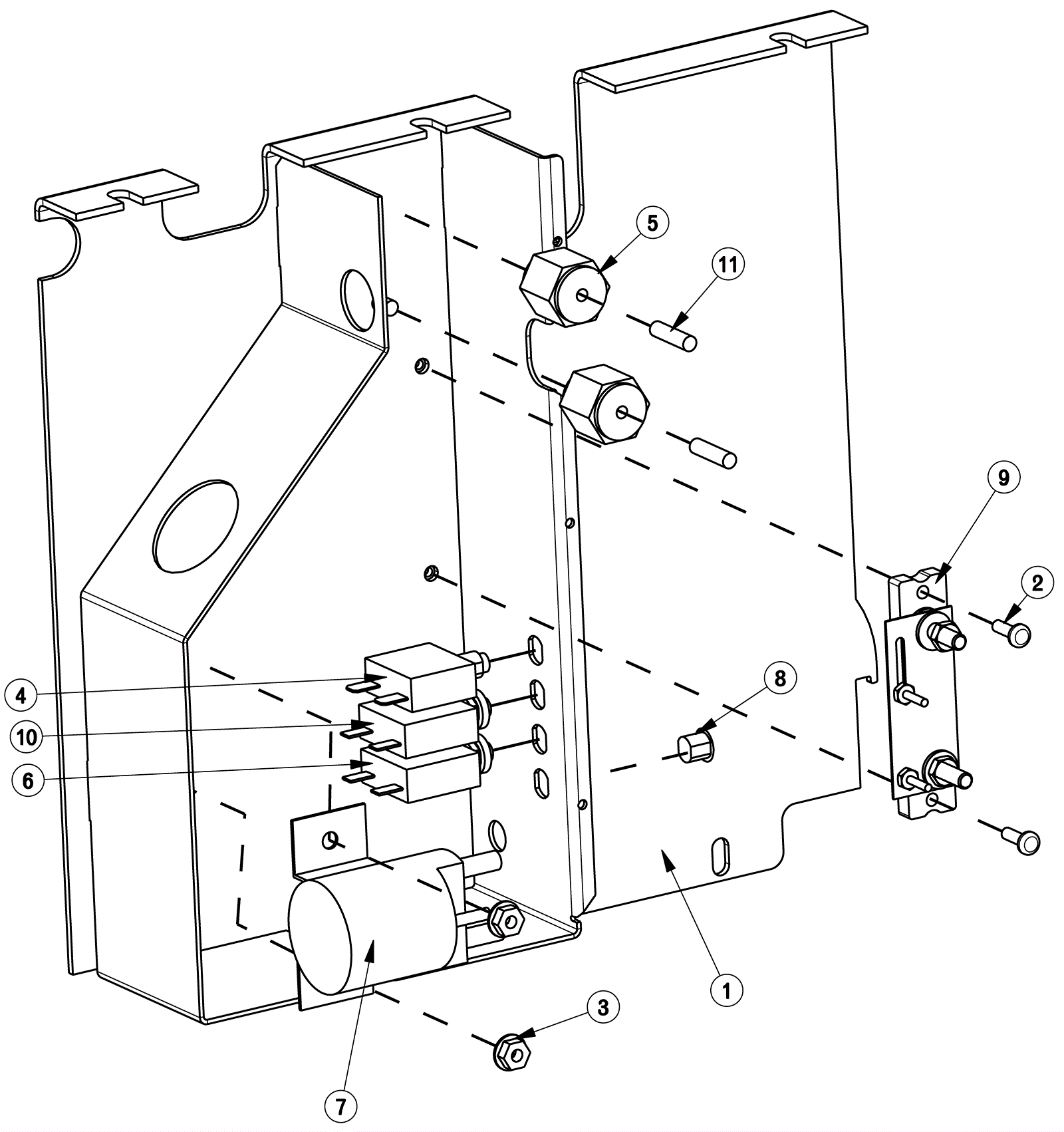
1 |
174-6532
|
Back panel weldment |
$177.18
|
1 |
|
usually ships 9-13 days |
2 |
999-0726
|
Screw 10-32 x 5/8 pan head phillips zinc plated |
$0.99
|
2 |
|
ships same day |
3 |
999-0595
|
Nut 1/4-20 flange lock serrated zinc plated |
$0.99
|
2 |
|
ships same day |
4 |
991-1633
|
70amp circuit breaker |
$57.60
|
1 |
|
usually ships 21-22 days |
5 |
174-0156
|
Insulated standoff |
$6.41
|
2 |
|
usually ships 1-5 days |
6 |
174-5740
|
Circuit Breaker 18 amp |
$39.19
|
1 |
|
usually ships 1-5 days |
7a |
274-6912
|
36V 100a contact |
$102.54
|
1 |
|
usually ships 1-5 days |
7b |
991-1227
|
36V solenoid 4 post (2 large 2 small) |
$102.54
|
1 |
(NON-OEM) |
ships same day |
8 |
174-1519
|
Circuit breaker plug |
$1.62
|
1 |
|
usually ships 1-5 days |
9 |
174-6533
|
Shunt calibrated assembly |
$50.11
|
1 |
|
usually ships 1-5 days |
10 |
174-6534
|
Circuit breaker 3amp |
$19.77
|
1 |
|
usually ships 9-13 days |
11 |
174-0165
|
Brass stud |
$6.42
|
2 |
|
usually ships 1-5 days |