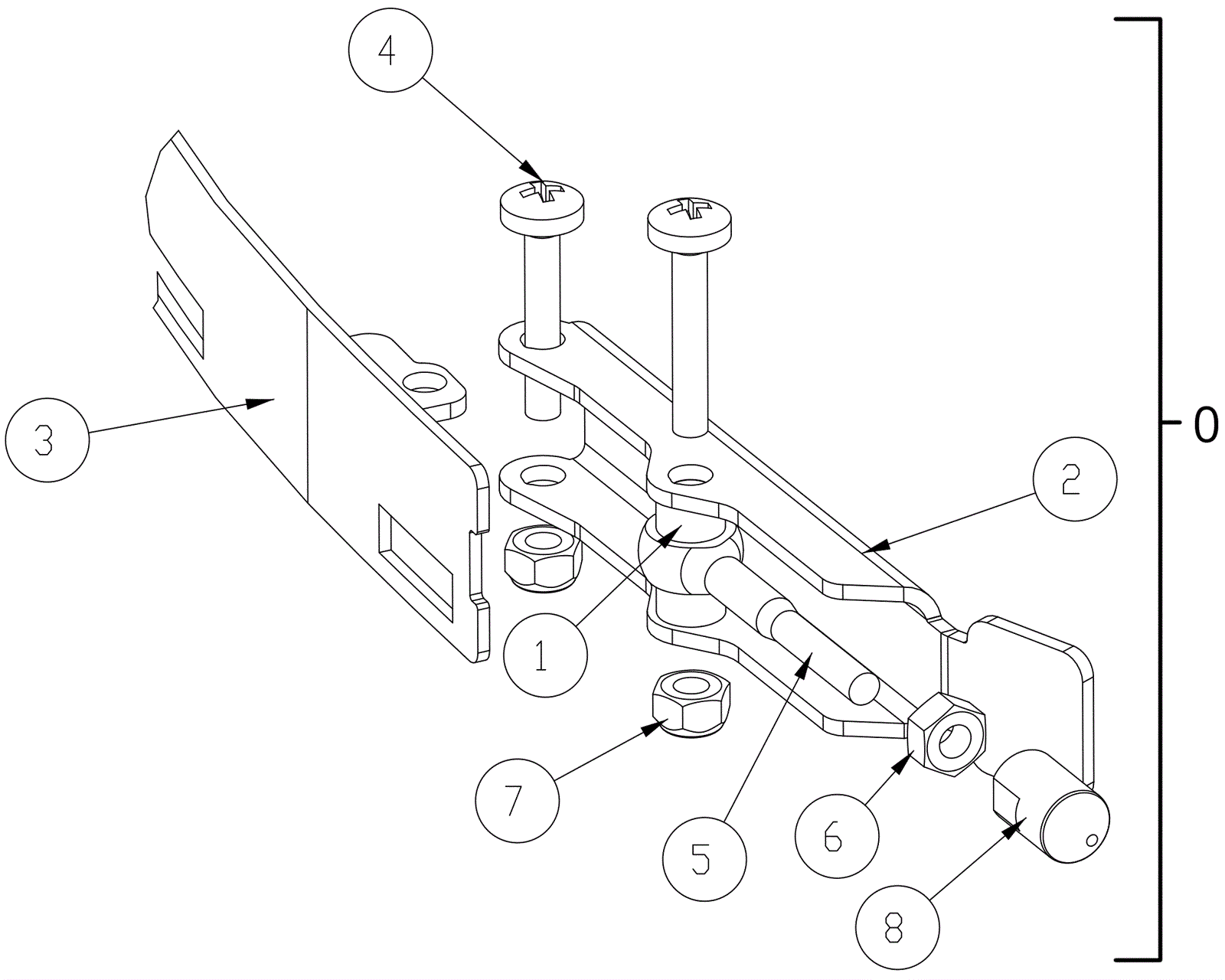
| # | Part | Description | Price | Req | Notes | Availability |
0 |
274-6924
|
STRAP W/ LATCH, FRONT LEFT, 34 inch SQG |
$110.92
|
1 |
(includes 1-8) |
usually ships 9-13 days |
1 |
174-8277
|
Spacer |
$2.63
|
2 |
|
usually ships 9-13 days |
2 |
174-8327
|
Lever |
$14.25
|
1 |
|
usually ships 9-13 days |
3 |
174-8330
|
Front left strap weldment |
$44.71
|
1 |
|
usually ships 9-13 days |
4 |
999-1425
|
Screw M5-.8 x 25mm pan head stainless steel |
$1.01
|
2 |
|
ships same day |
5 |
174-8338
|
Bolt M5 x 40mm eye stainless steel |
$19.36
|
1 |
|
usually ships 9-13 days |
6 |
999-0740
|
Nut M5-.8 hex stainless steel |
$0.99
|
1 |
|
ships same day |
7 |
999-0495
|
Nut M5-.8 nylon insert lock zinc plated |
$0.99
|
2 |
|
ships same day |
8 |
174-8341
|
Pressure pin |
$10.53
|
1 |
|
usually ships 9-13 days |