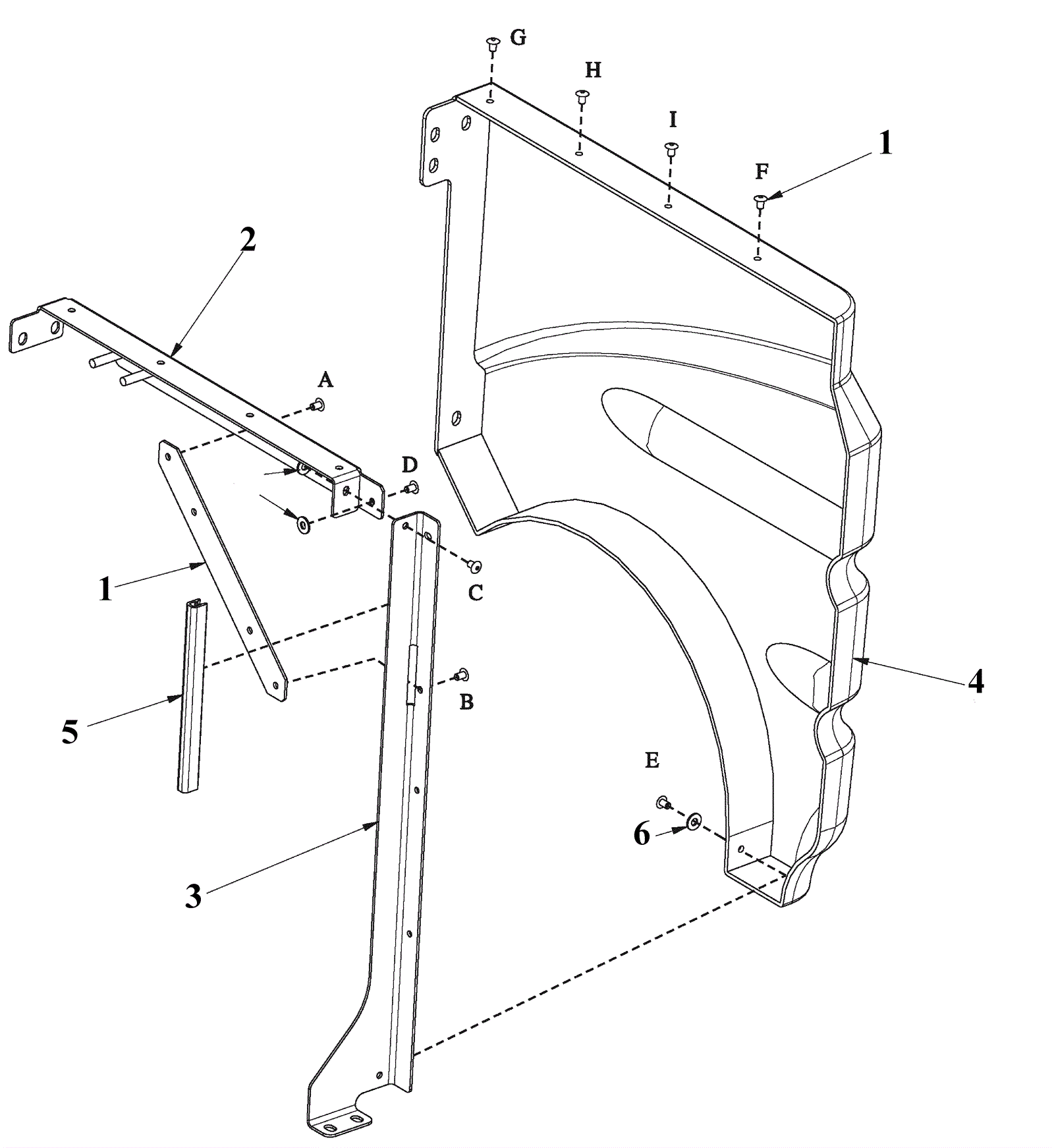
Battery Panel Assembly Right Hand Side
Click to enlarge
#
Part
Description
Price
Req
Notes
Availability
6
999-0006
Washer 3/16 flat zinc plated
$0.99
3
ships same day
7
174-5108
Rivet 3/16 x 1/4 pop
$1.08
9
usually ships 1-5 days