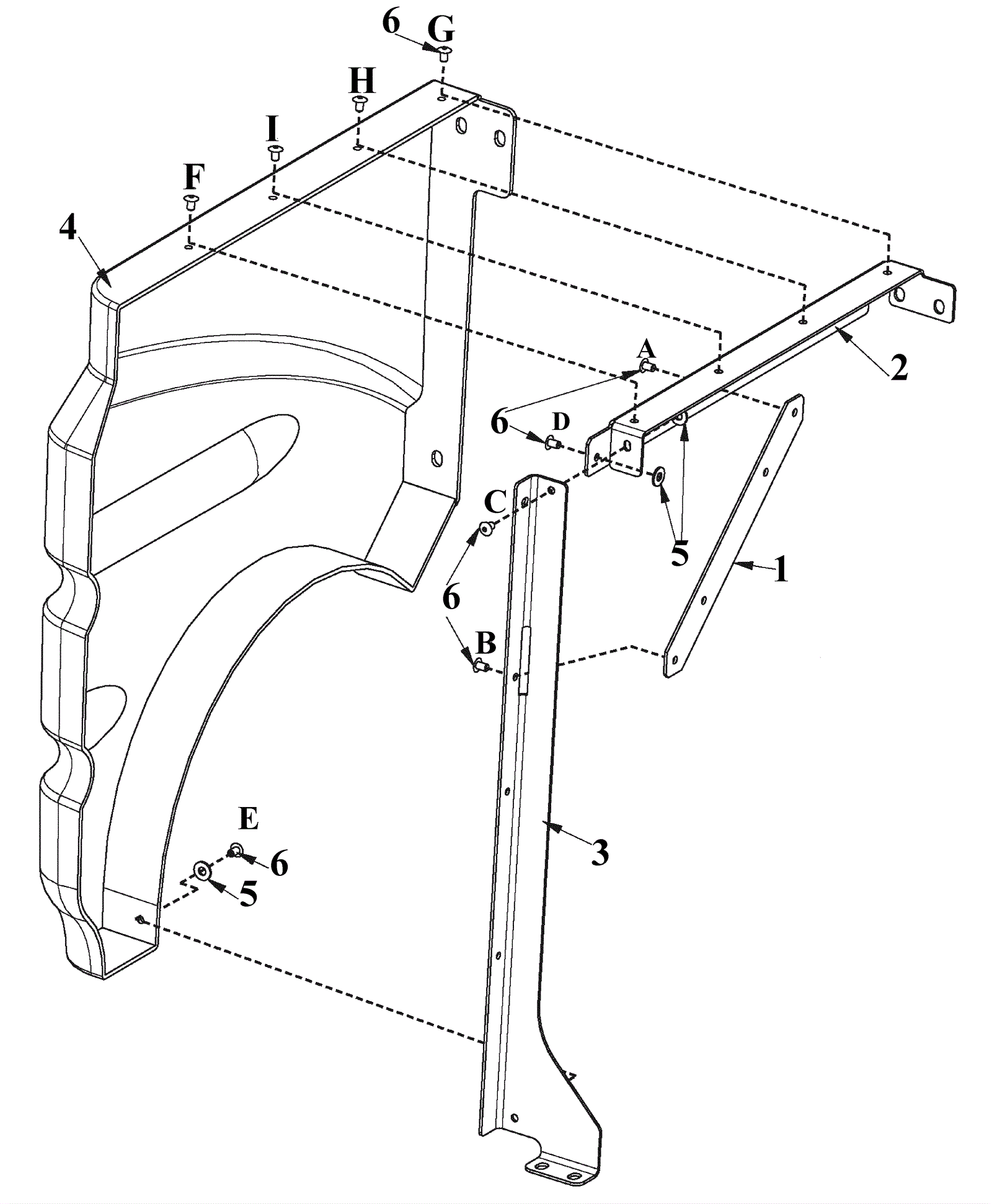
Battery Panel Assembly Left Hand Side
Click to enlarge
#
Part
Description
Price
Req
Notes
Availability
5
999-0006
Washer 3/16 flat zinc plated
$0.99
3
ships same day
6
174-5108
Rivet 3/16 x 1/4 pop
$1.08
9
usually ships 1-5 days