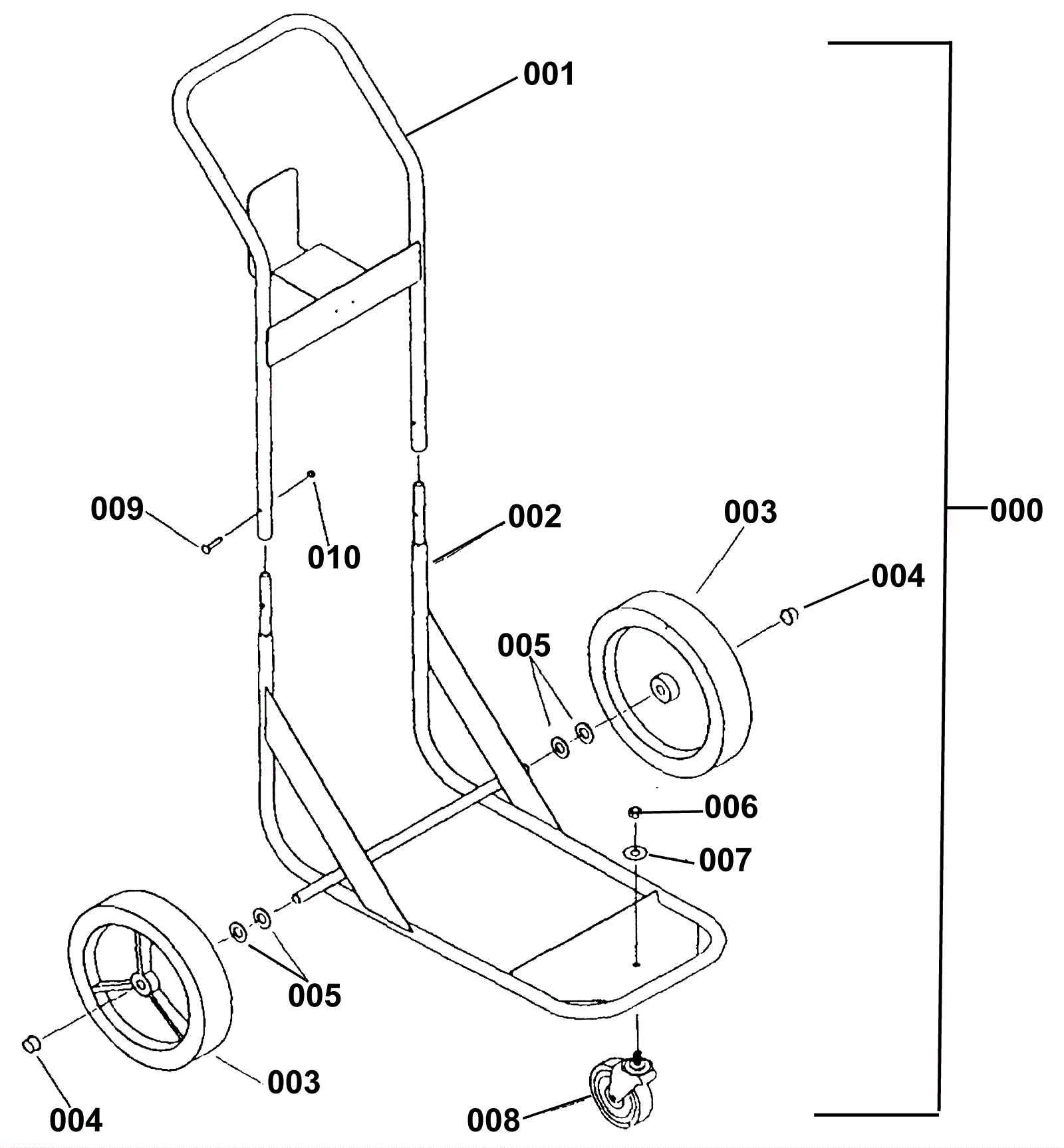
| # | Part | Description | Price | Req | Notes | Availability |
000 |
174-3144
|
Optional cart |
$524.21
|
1 |
|
usually ships 1-5 days |
001 |
174-3146
|
Handle weldment |
$181.89
|
1 |
|
usually ships 1-5 days |
002 |
174-3147
|
Frame weldment |
$290.78
|
1 |
|
usually ships 1-5 days |
003 |
174-8510
|
8 inch wheel |
$33.21
|
2 |
|
usually ships 9-13 days |
004 |
174-3149
|
Hub cap |
$1.48
|
2 |
|
usually ships 9-13 days |
005 |
174-3093
|
Washer .56 x 1 flat |
$1.08
|
4 |
|
usually ships 9-13 days |
006 |
999-0324
|
Nut 3/8-16 nylon insert lock jam zinc plated |
$0.99
|
1 |
|
ships same day |
007 |
999-0328
|
Washer 7/16 USS flat |
$0.99
|
1 |
|
ships same day |
008 |
174-3150
|
3 Inch caster |
$14.77
|
1 |
|
usually ships 9-13 days |
009 |
174-3151
|
Screw 10-32 x 1 stainless steel |
$1.14
|
2 |
|
usually ships 1-5 days |
010 |
999-0086
|
Nut 10-32 nylon insert lock zinc plated |
$0.99
|
2 |
|
ships same day |