| # | Part | Description | Price | Req | Notes | Availability |
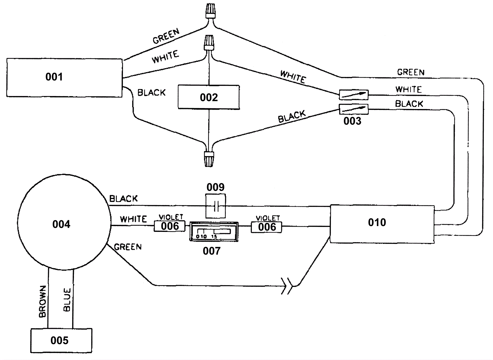
001a |
174-4020
|
14/3 power cord 50 foot |
$192.44
|
1 |
|
usually ships 9-13 days |
001b |
991-5005
|
14/3 replacement power cord 50 foot (yellow) |
$108.51
|
1 |
(NON-OEM) |
ships same day |
002 |
174-5128
|
115V indicator light |
$13.64
|
1 |
|
usually ships 9-13 days |
003 |
174-4024
|
Switch |
$27.25
|
1 |
|
usually ships 9-13 days |
004 |
174-5061
|
Motor 1.5HP 115V |
$826.33
|
1 |
|
usually ships 1-5 days |
005 |
174-3083
|
Indicator light assembly |
$17.78
|
1 |
|
usually ships 9-13 days |
006 |
174-5146
|
Wire assembly violet 5 inch |
Call for price
|
1 |
|
usually ships 1-5 days |
007 |
174-5147
|
25 amp meter with clip |
$68.57
|
1 |
|
usually ships 9-13 days |
009 |
174-5059
|
Circuit breaker 20 amp (push button) |
$5.70
|
1 |
|
usually ships 9-13 days |
010 |
174-5127
|
Handle cord |
$80.78
|
1 |
|
usually ships 1-5 days |