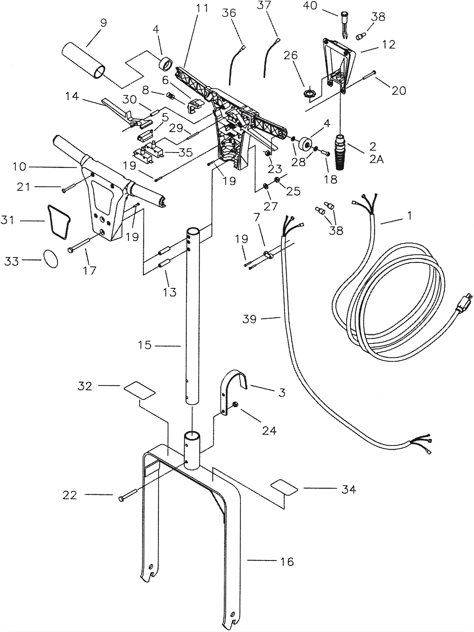
| # | Part | Description | Price | Req | Notes | Availability |
1a |
174-4020
|
14/3 power cord 50 foot |
$192.44
|
1 |
|
usually ships 9-13 days |
1b |
991-5005
|
14/3 replacement power cord 50 foot (yellow) |
$108.51
|
1 |
(NON-OEM) |
ships same day |
2a |
174-4012
|
Strain relief |
$32.38
|
1 |
|
usually ships 9-13 days |
2b |
174-3053
|
Strain relief |
$10.34
|
1 |
|
usually ships 9-13 days |
3 |
174-4017
|
Cord hook |
$12.66
|
1 |
|
usually ships 9-13 days |
4 |
174-4008
|
End cap |
$2.19
|
2 |
|
usually ships 9-13 days |
5 |
174-4006
|
Switch cap |
$2.81
|
1 |
|
usually ships 9-13 days |
6 |
174-4007
|
Safety button |
$3.52
|
2 |
|
usually ships 9-13 days |
7 |
174-4019
|
Strain relief |
$1.85
|
1 |
|
usually ships 9-13 days |
8 |
174-4011
|
Trigger spring |
$2.00
|
2 |
|
usually ships 9-13 days |
9 |
174-4015
|
Foam grip |
$5.14
|
2 |
|
usually ships 9-13 days |
10 |
174-4004
|
Front handle |
$29.56
|
1 |
|
usually ships 9-13 days |
11 |
174-4005
|
Rear handle |
$27.34
|
1 |
|
usually ships 9-13 days |
12 |
174-5120
|
Rear electrical box (OBSOLETE) |
$9.56
|
1 |
|
usually ships 9-13 days |
13 |
174-4029
|
Bushing |
$1.31
|
2 |
|
usually ships 9-13 days |
14 |
174-4001
|
Switch lever |
$4.31
|
2 |
|
ships same day |
15 |
174-5121
|
Handle tube |
$101.18
|
1 |
|
usually ships 9-13 days |
16 |
174-5126
|
Yoke weldment |
$202.15
|
1 |
|
usually ships 1-5 days |
17 |
174-6260
|
Screw 1/4 - 20 x 2 1/4 truss head MC |
$1.08
|
2 |
|
usually ships 9-13 days |
18 |
999-0415
|
Screw 1/4-20 x 3/4 pan head slotted zinc plated |
$0.99
|
2 |
|
ships same day |
19 |
174-4064
|
Screw 8 x 5/8 B hi/lo stainless steel plated |
$1.08
|
4 |
|
usually ships 9-13 days |
20 |
174-5991
|
Screw #10 x 5/8 plated hi/low |
$1.10
|
4 |
|
usually ships 9-13 days |
21 |
174-5134
|
Screw 10 x 1 1/4 |
$1.08
|
4 |
|
usually ships 9-13 days |
22 |
999-1892
|
Screw 1/4-20 x 2 hex cap stainless steel |
$1.52
|
2 |
|
ships same day |
23 |
999-0609
|
Nut 1/4-20 hex stainless steel |
$0.99
|
2 |
|
ships same day |
24 |
999-0190
|
Nut 1/4-20 hex plain finish |
$0.99
|
2 |
|
ships same day |
25 |
174-1943
|
Nut nyloc 1/4 x 20 x 1/2 |
$1.08
|
2 |
|
usually ships 9-13 days |
26 |
174-3091
|
Nut 1/2 pipe lock |
$1.11
|
1 |
|
usually ships 9-13 days |
27 |
999-0335
|
Washer 1/4 x 5/8 SAE flat stainless steel |
$0.99
|
2 |
|
ships same day |
28 |
174-5227
|
Washer 1/4 steel plated |
$1.08
|
4 |
|
ships same day |
29 |
174-4014
|
Roll pin 1/8 x 1.50 |
$1.08
|
2 |
|
usually ships 9-13 days |
30 |
174-5123
|
Roll pin 1/4 x 1 1/4 |
$1.08
|
2 |
|
usually ships 9-13 days |
31 |
174-4013
|
Minuteman runner decal |
$4.07
|
1 |
|
usually ships 9-13 days |
32 |
174-5139
|
Read manual/foot lever decal |
$1.34
|
1 |
|
usually ships 1-5 days |
34a |
174-8229
|
Patent number label |
$1.39
|
1 |
|
usually ships 1-5 days |
34b |
174-8229
|
Patent number label |
$1.39
|
1 |
|
usually ships 1-5 days |
35 |
174-4024
|
Switch |
$27.25
|
2 |
|
usually ships 9-13 days |
36 |
174-5140
|
Wire assembly white 6' |
$3.73
|
1 |
|
usually ships 9-13 days |
37 |
174-5141
|
Wire assembly black 6 inch |
$1.41
|
1 |
|
usually ships 9-13 days |
38a |
374-1713
|
SPLICE, CRIMP, END |
$1.31
|
3 |
|
usually ships 1-5 days |
38b |
174-5130
|
Wire cap 12-18 74B |
$1.03
|
2 |
|
usually ships 9-13 days |
39 |
174-5127
|
Handle cord |
$80.78
|
1 |
|
usually ships 1-5 days |
40a |
274-1833
|
LAMP-250V RED NEON VDE |
$9.58
|
1 |
|
usually ships 1-5 days |
40b |
174-5128
|
115V indicator light |
$13.64
|
1 |
|
usually ships 9-13 days |
40c |
174-5129
|
Indicator light 240V |
$12.68
|
1 |
|
usually ships 1-5 days |
N/S |
174-0194
|
Handle grip |
$9.28
|
1 |
|
usually ships 9-13 days |
N/S |
174-5138
|
Warning handle decal |
Call for price
|
1 |
|
usually ships 1-5 days |
N/S |
174-5143
|
Switch pad |
Call for price
|
1 |
|
usually ships 1-5 days |
N/S |
174-5144
|
Screw 8-18 x 3/4 hi/lo |
$1.08
|
2 |
|
usually ships 9-13 days |
N/S |
174-0416
|
Terminal block |
$3.72
|
1 |
|
usually ships 1-5 days |