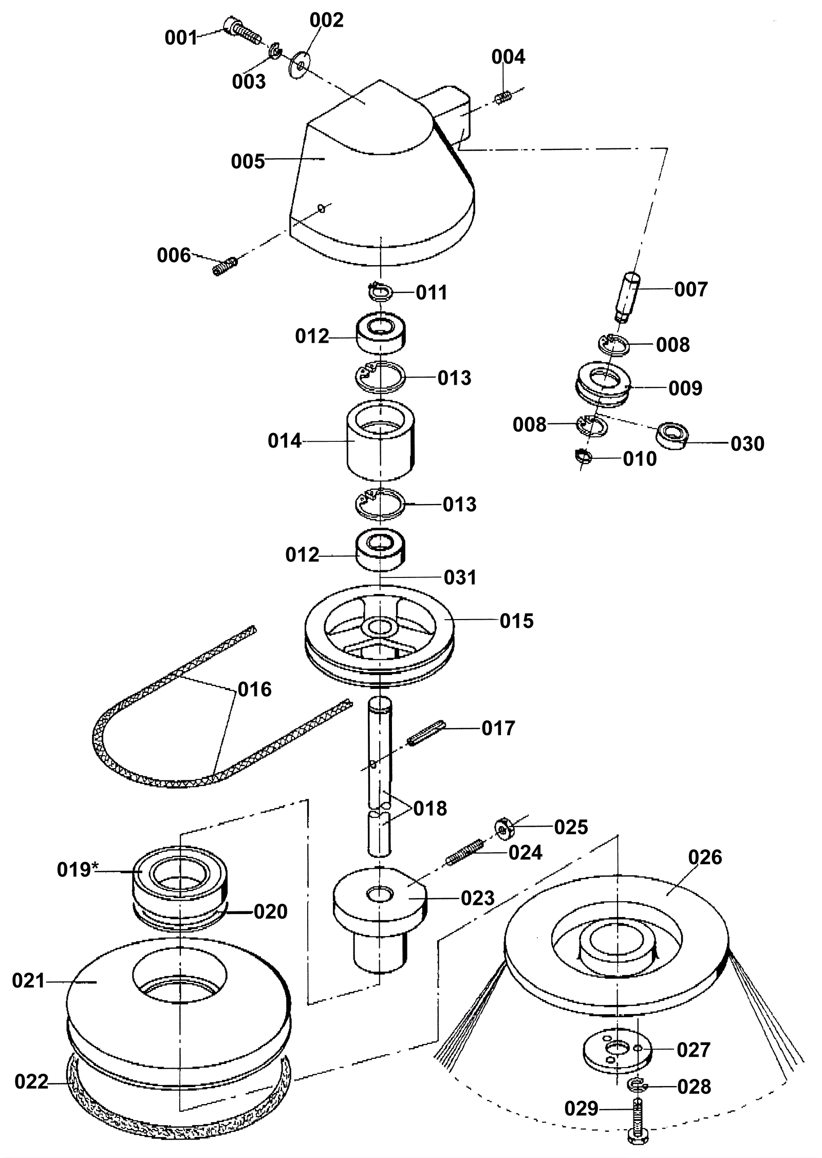
Side Brush Drive
Click to enlarge