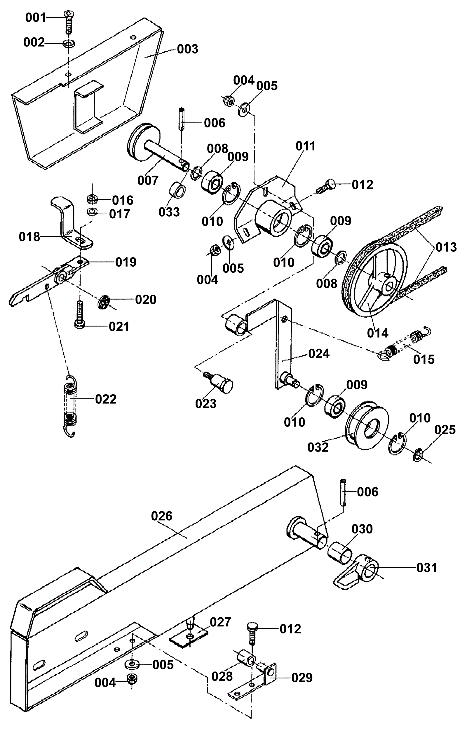
Side Brush Installation
Click to enlarge