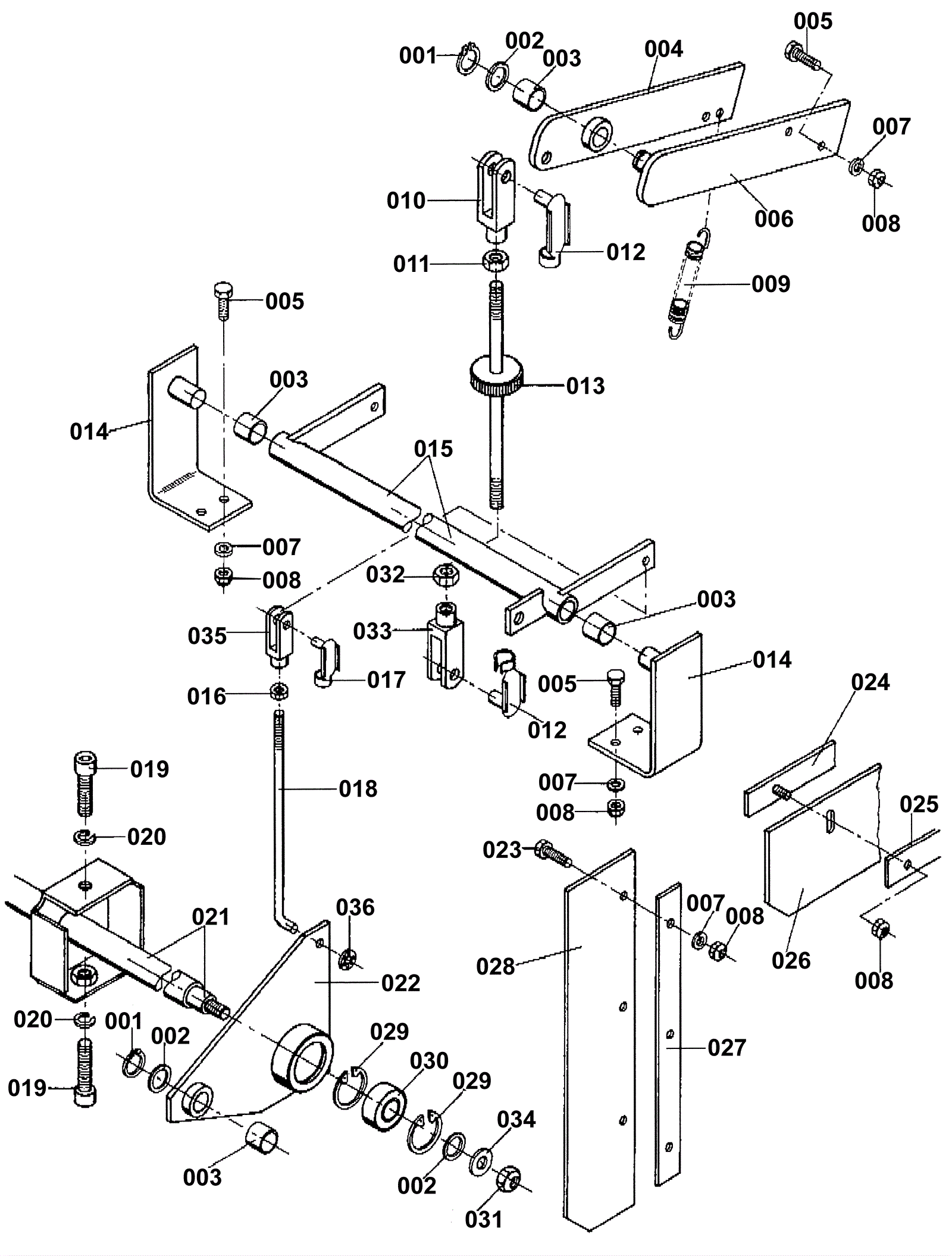
Sweep Roller with Drive Assy (left hand)
Click to enlarge