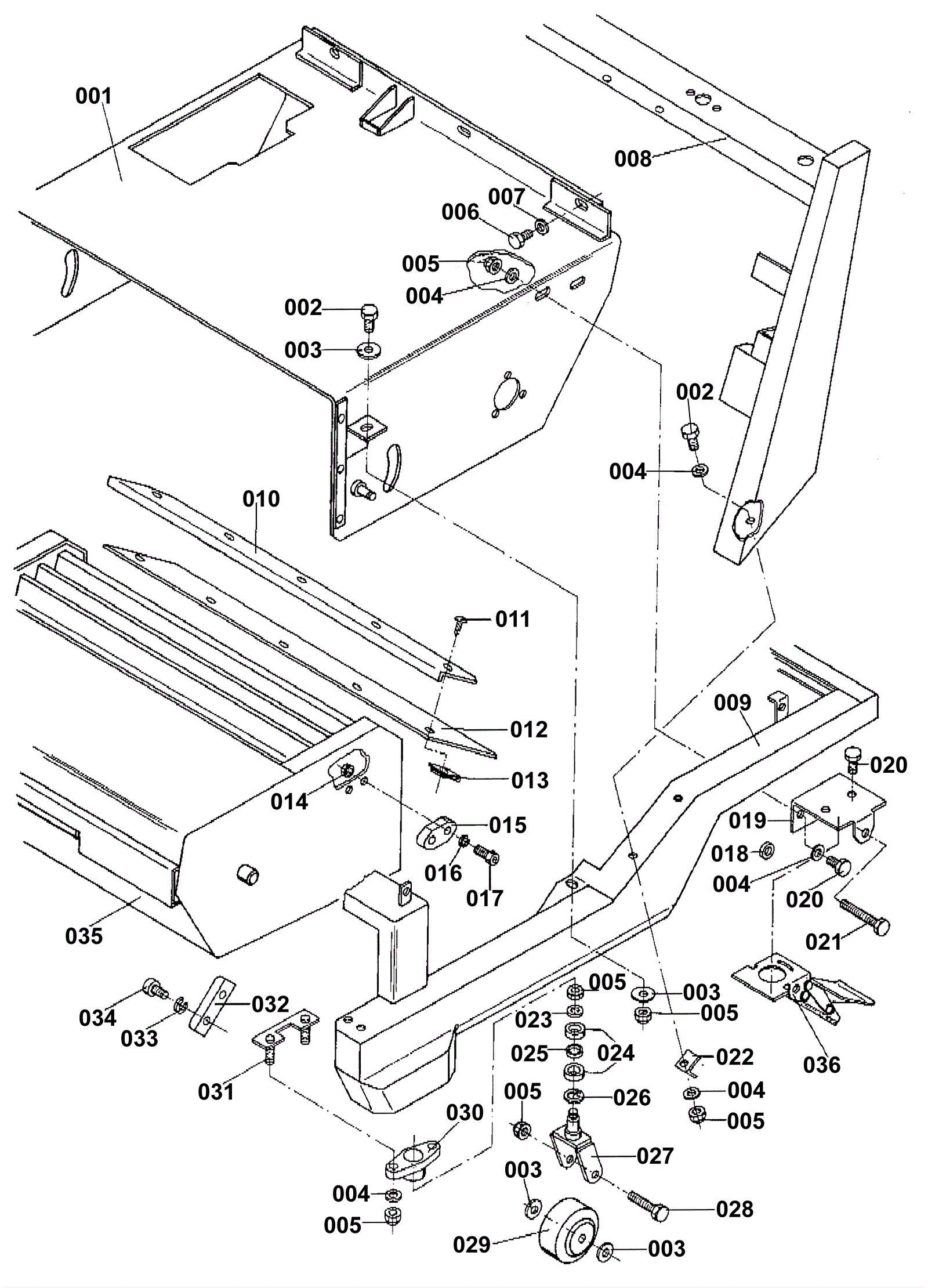
Chassis Lifter Hopper
Click to enlarge