| # | Part | Description | Price | Req | Notes | Availability |
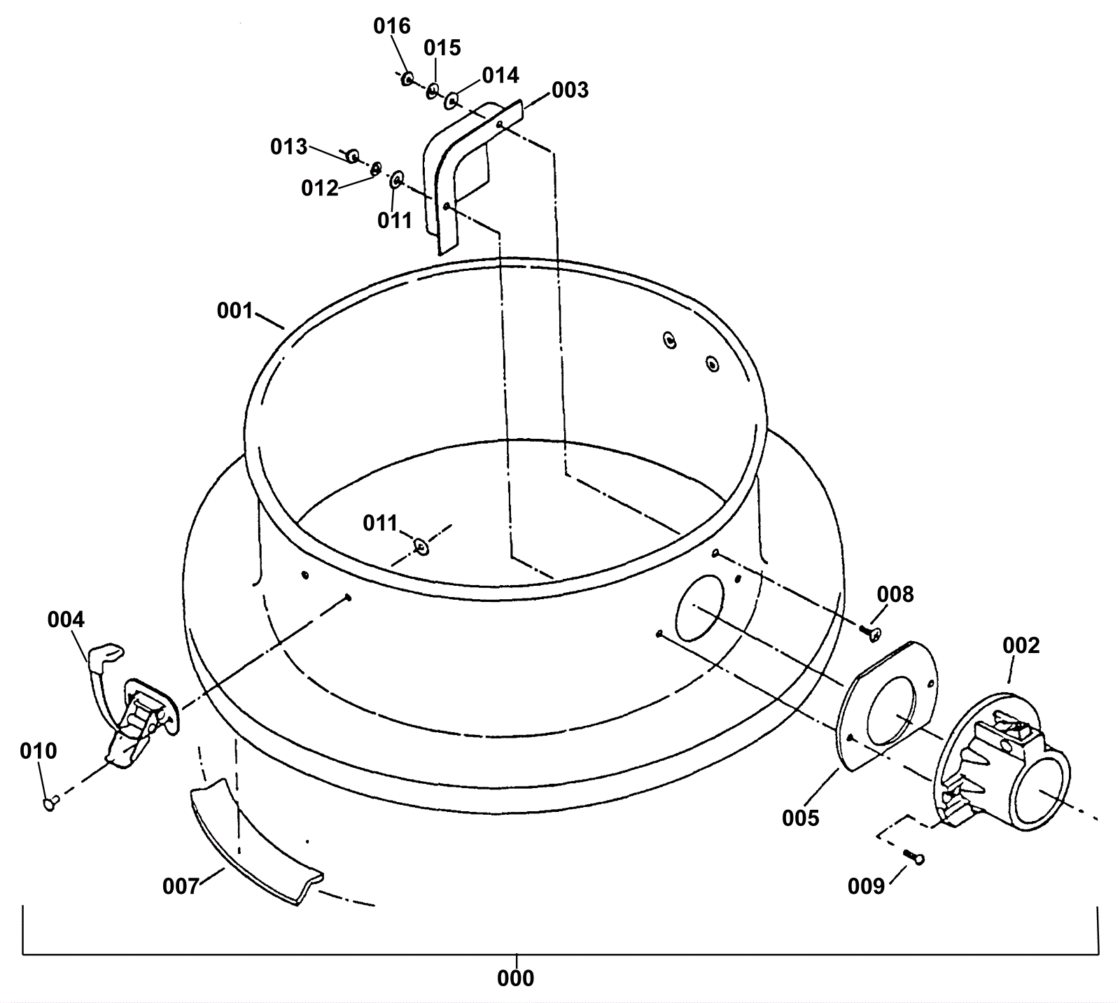
000a |
174-2857
|
30 Gallon adapter assembly |
Call for price
|
|
|
usually ships 1-5 days |
000b |
174-2902
|
55 Gallon adapter assembly |
$377.81
|
|
|
usually ships 1-5 days |
001a |
174-2854
|
Painted 55 gallon adapter |
$365.62
|
1 |
|
usually ships 1-5 days |
001b |
174-2855
|
Painted 30 gallon adapter |
Call for price
|
1 |
|
usually ships 1-5 days |
002 |
174-2856
|
Molded intake 15/30 |
Call for price
|
1 |
|
usually ships 1-5 days |
003 |
174-2253
|
Intake deflector |
$17.08
|
1 |
|
usually ships 1-5 days |
004 |
174-2401
|
Latch |
$16.33
|
2 |
|
usually ships 9-13 days |
005 |
174-2262
|
Diecut poron intake gasket |
$1.22
|
1 |
|
usually ships 9-13 days |
007 |
174-1495
|
Gasket |
$25.77
|
1 |
|
usually ships 9-13 days |
008 |
174-2271
|
Screw 8-32 x 1/2 |
$1.10
|
1 |
|
usually ships 9-13 days |
009 |
999-0705
|
Screw 10-24 x 3/4 pan head phillips stainless steel |
$0.99
|
2 |
|
ships same day |
010 |
174-0824
|
Rivet |
$1.08
|
4 |
|
usually ships 1-5 days |
011 |
999-0006
|
Washer 3/16 flat zinc plated |
$0.99
|
6 |
|
ships same day |
012 |
174-5259
|
Washer #10 helical |
$1.08
|
2 |
|
usually ships 9-13 days |
013 |
999-0442
|
Nut 10-24 nylon insert lock stainless steel |
$1.76
|
2 |
|
ships same day |
014 |
999-0266
|
Washer #8 SAE flat stainless steel |
$0.99
|
1 |
|
ships same day |
015 |
174-5406
|
Washer 8 helical |
$2.28
|
1 |
|
usually ships 9-13 days |
016 |
999-0357
|
Nut 8-32 nylon insert lock stainless steel |
$0.99
|
1 |
|
ships same day |