| # | Part | Description | Price | Req | Notes | Availability |
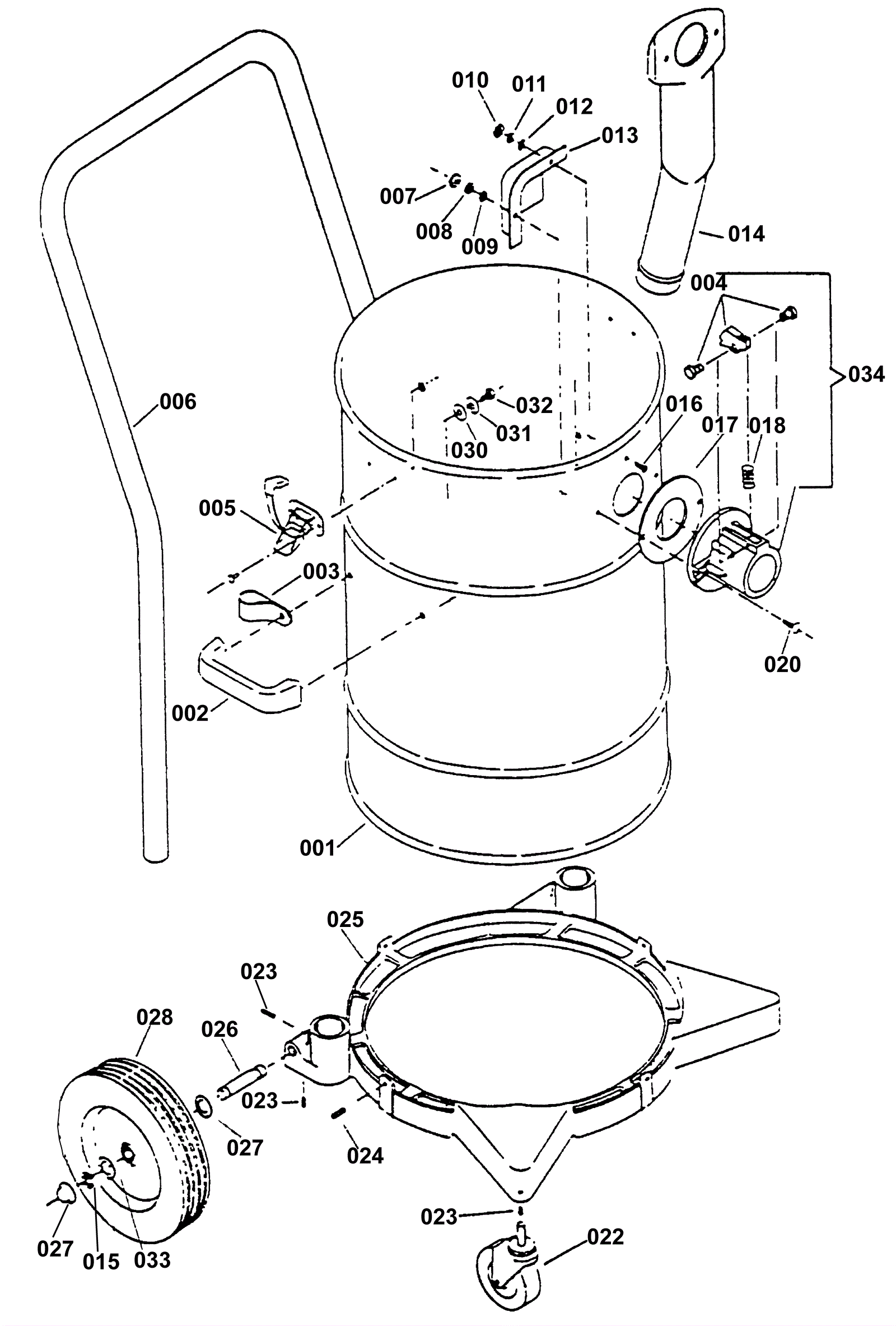
001a |
174-2865
|
15 Gallon tank |
$253.81
|
1 |
|
usually ships 1-5 days |
001b |
174-2866
|
55 Gallon stainless steel polished tank |
$658.73
|
1 |
|
usually ships 1-5 days |
002 |
174-1457
|
Tank polished handle |
Call for price
|
1 |
|
usually ships 1-5 days |
003 |
174-8617
|
Handle clamp |
$23.17
|
2 |
|
usually ships 1-5 days |
004 |
174-0821
|
Trigger with pins |
$3.52
|
1 |
|
usually ships 1-5 days |
005 |
174-2401
|
Latch |
$16.33
|
2 |
|
usually ships 9-13 days |
006 |
174-2868
|
Plated handle |
$77.44
|
1 |
|
usually ships 1-5 days |
007 |
999-0460
|
Nut 10-32 hex |
$0.99
|
2 |
|
ships same day |
008 |
174-5259
|
Washer #10 helical |
$1.08
|
2 |
|
usually ships 9-13 days |
009 |
999-0006
|
Washer 3/16 flat zinc plated |
$0.99
|
2 |
|
ships same day |
010 |
999-0357
|
Nut 8-32 nylon insert lock stainless steel |
$0.99
|
1 |
|
ships same day |
011 |
174-5406
|
Washer 8 helical |
$2.28
|
1 |
|
usually ships 9-13 days |
012 |
999-0266
|
Washer #8 SAE flat stainless steel |
$0.99
|
1 |
|
ships same day |
013 |
174-2253
|
Intake deflector |
$17.08
|
1 |
|
usually ships 1-5 days |
014 |
174-2869
|
Molded downtube |
$47.38
|
1 |
|
usually ships 9-13 days |
015 |
174-0178
|
1/2 inch external retaining ring |
$1.10
|
2 |
|
usually ships 9-13 days |
016 |
174-2271
|
Screw 8-32 x 1/2 |
$1.10
|
1 |
|
usually ships 9-13 days |
017 |
174-2262
|
Diecut poron intake gasket |
$1.22
|
1 |
|
usually ships 9-13 days |
018 |
174-0820
|
Return spring |
$1.03
|
1 |
|
usually ships 1-5 days |
019 |
174-2263
|
Complete intake assembly (aluminum) |
$23.18
|
1 |
|
usually ships 9-13 days |
020 |
999-1070
|
Screw 10-32 x 5/8 truss head phillips stainless steel |
$0.99
|
2 |
|
ships same day |
021 |
174-1453
|
Swivel caster |
Call for price
|
2 |
|
usually ships 1-5 days |
022 |
174-0822
|
Screw 1/4-20 x 1/3 |
$1.08
|
4 |
|
usually ships 9-13 days |
023 |
999-0081
|
Screw 1/4-20 x 5/8 pan head slotted zinc |
$0.99
|
6 |
|
ships same day |
024 |
174-2899
|
Wheel bracket |
$282.71
|
1 |
|
usually ships 1-5 days |
025 |
174-0827
|
Plated axle |
$6.28
|
2 |
|
usually ships 9-13 days |
026 |
174-5159
|
Washer 33/64 x 1/64 wave |
$1.10
|
2 |
|
usually ships 9-13 days |
027 |
174-8510
|
8 inch wheel |
$33.21
|
2 |
|
usually ships 9-13 days |
028 |
174-3149
|
Hub cap |
$1.48
|
2 |
|
usually ships 9-13 days |
029 |
174-1458
|
Rubber washer |
$1.17
|
4 |
|
usually ships 1-5 days |
030 |
999-0016
|
Washer 1/4 flat plain finish |
$0.99
|
4 |
|
ships same day |
031 |
174-5718
|
Bolt 1/4 20 x 5/8 hex head |
$1.08
|
4 |
|
usually ships 1-5 days |
032 |
999-0855
|
Washer 9/16 SAE flat |
$0.99
|
2 |
|
ships same day |
033 |
174-2263
|
Complete intake assembly (aluminum) |
$23.18
|
1 |
|
usually ships 9-13 days |
034 |
174-1841
|
Hose adapter 1-1/4 inch |
Call for price
|
|
|
usually ships 1-5 days |
N/S |
174-1839
|
Hose adapter 1-1/2 inch |
Call for price
|
|
|
usually ships 1-5 days |
N/S |
174-1841
|
Hose adapter 1-1/4 inch |
Call for price
|
|
|
usually ships 1-5 days |
N/S |
174-2872
|
Complete 15 gallon tank assembly |
Call for price
|
|
|
usually ships 1-5 days |
N/S |
174-2873
|
Complete 15 gallon stainless steel tank assembly |
Call for price
|
|
|
usually ships 1-5 days |
N/S |
174-2874
|
Complete wheel braket assembly |
$429.60
|
|
|
usually ships 1-5 days |
N/S |
174-2875
|
Complete plated tank assembly with deflector |
Call for price
|
|
|
usually ships 1-5 days |
N/S |
174-2876
|
Complete stainless steel tank assembly with deflector |
$893.33
|
|
|
usually ships 1-5 days |
N/S |
274-4896
|
KIT, INTAKE REPLACE W/ 2 inch HOSE CUFF |
$40.61
|
|
|
usually ships 1-5 days |