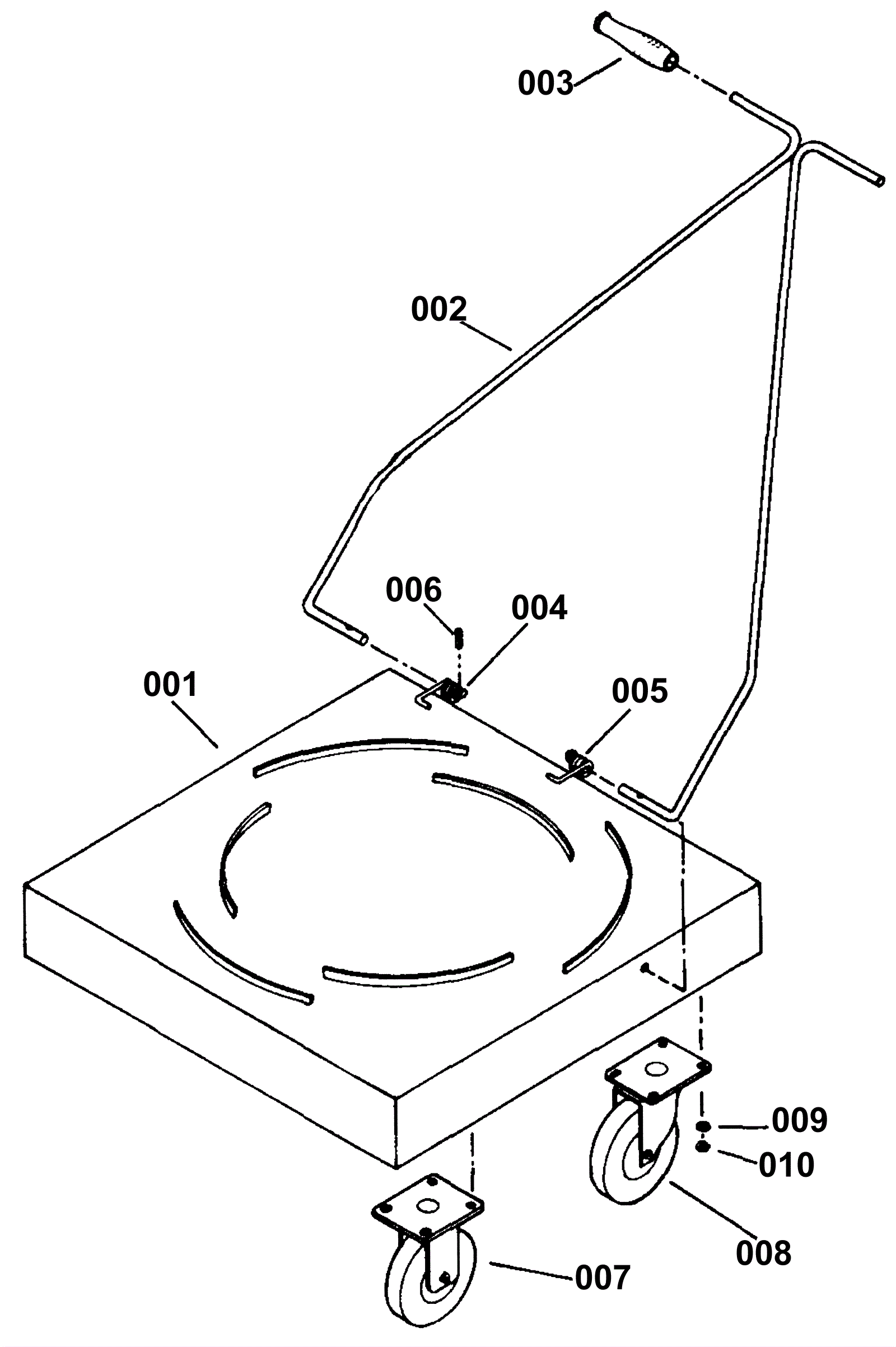
| # | Part | Description | Price | Req | Notes | Availability |
000 |
174-1470
|
Complete dolly cart |
$530.60
|
|
|
usually ships 1-5 days |
001 |
174-1465
|
Weldment dolly |
$252.85
|
1 |
|
usually ships 1-5 days |
002 |
174-1466
|
Handle weldment |
$185.42
|
1 |
|
usually ships 1-5 days |
003 |
174-1467
|
Handle grip |
$5.04
|
2 |
|
usually ships 1-5 days |
004 |
174-5807
|
Right torsion spring |
$11.25
|
1 |
|
usually ships 9-13 days |
005 |
174-5814
|
Left torsion spring |
$10.34
|
1 |
|
usually ships 9-13 days |
006 |
174-0915
|
Rollpin .187 x 1 |
$1.08
|
2 |
|
usually ships 1-5 days |
007 |
174-1468
|
5 Inch rigid caster |
$18.44
|
2 |
|
usually ships 1-5 days |
008 |
174-1469
|
5 Inch swivel caster |
$22.33
|
2 |
|
usually ships 1-5 days |
009 |
999-0028
|
Washer 5/16 split lock plain finish |
$0.99
|
16 |
|
ships same day |
010 |
999-0069
|
Nut 5/16-18 hex |
$0.99
|
16 |
|
ships same day |