| # | Part | Description | Price | Req | Notes | Availability |
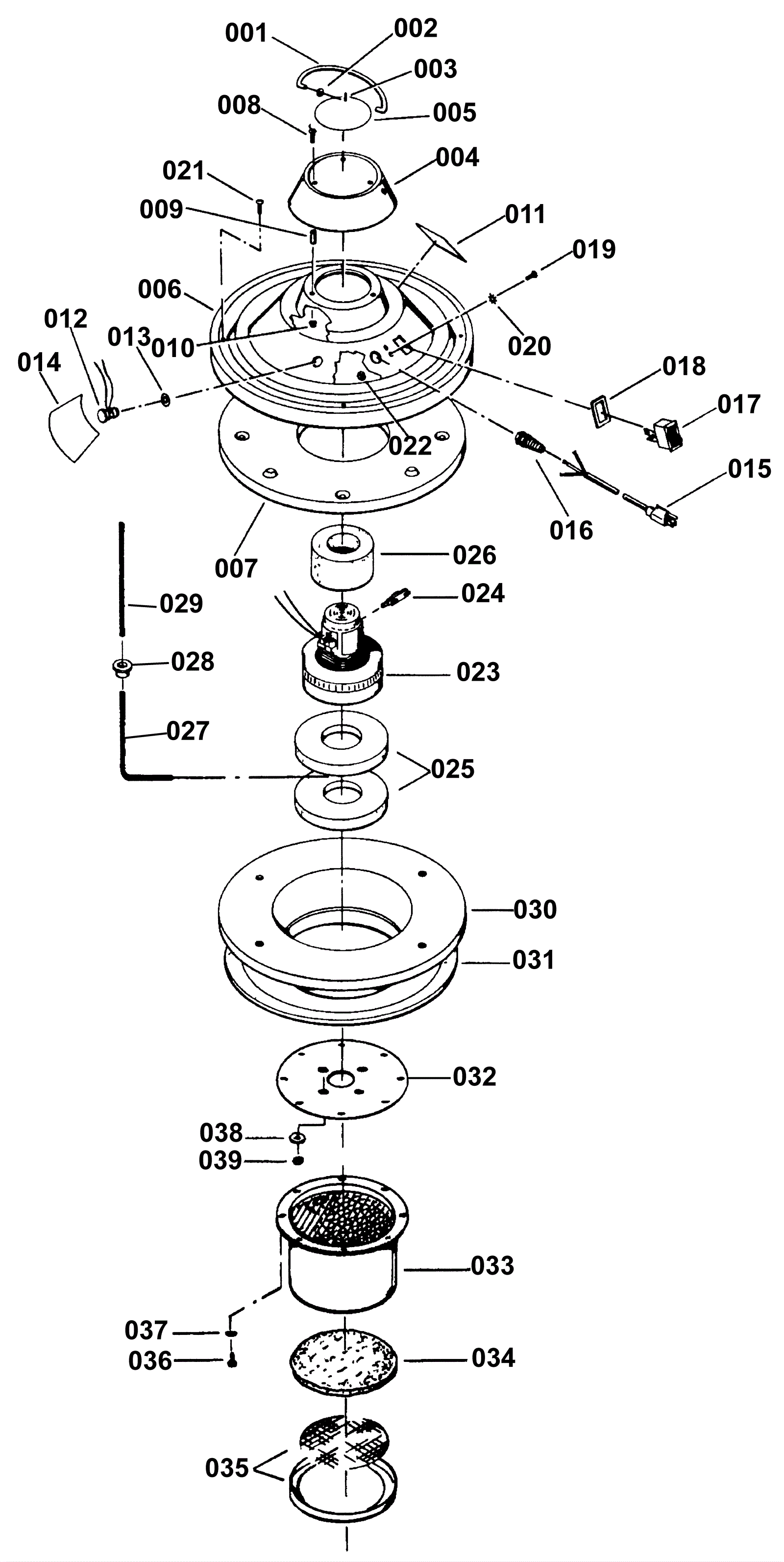
001 |
174-1845
|
Plug assembly |
$90.01
|
1 |
|
usually ships 1-5 days |
002 |
999-0016
|
Washer 1/4 flat plain finish |
$0.99
|
3 |
|
ships same day |
003 |
174-3219
|
Cotter pin .06 x .75 |
$1.08
|
2 |
|
usually ships 9-13 days |
004 |
174-1425
|
Motor cap |
$55.81
|
1 |
|
usually ships 1-5 days |
005 |
174-1426
|
Decal clor bar |
$13.01
|
1 |
|
usually ships 1-5 days |
006 |
174-1427
|
Plated motor cover |
$48.58
|
1 |
|
usually ships 1-5 days |
007 |
174-1428
|
Plated motor hold down |
$31.36
|
1 |
|
usually ships 1-5 days |
008 |
174-1429
|
Screw 10-24 x 1.00 |
$1.08
|
3 |
|
usually ships 9-13 days |
009 |
174-1430
|
Spacer |
$1.08
|
3 |
|
usually ships 9-13 days |
010 |
174-3171
|
Nut 10-24 flange wizz |
$1.08
|
3 |
|
usually ships 9-13 days |
011 |
174-1431
|
Decal warning dry |
$11.36
|
1 |
|
usually ships 1-5 days |
012 |
174-1432
|
115V Vacuum light sensor |
$24.40
|
1 |
|
usually ships 1-5 days |
013 |
174-0283
|
3/4 retaining ring |
$4.41
|
1 |
|
ships same day |
014 |
174-1433
|
Decal check filter |
$3.17
|
1 |
|
usually ships 1-5 days |
015 |
174-3003
|
16/3 power cord 50 foot |
$75.64
|
1 |
|
usually ships 9-13 days |
016 |
174-2293
|
Strain relief with nut |
$11.80
|
1 |
|
usually ships 9-13 days |
017 |
174-0181
|
Rocker switch |
$18.63
|
1 |
|
usually ships 9-13 days |
018 |
174-1434
|
Gasket switch (OBSOLETE) |
Call for price
|
1 |
|
usually ships 1-5 days |
019 |
999-0723
|
Screw 10-32 x 1/2 pan head slotted stainless steel |
$0.99
|
2 |
|
ships same day |
020 |
999-0089
|
Washer #10 internal star lock zinc plated |
$0.99
|
2 |
|
ships same day |
021 |
999-1283
|
Screw M4-.7 x 6mm pan head phillips zinc |
$0.99
|
4 |
|
usually ships 1-5 days |
022 |
999-0460
|
Nut 10-32 hex |
$0.99
|
|
|
ships same day |
023 |
991-1208
|
120V 2 stage vacuum motor peripheral |
$156.78
|
1 |
|
ships same day |
024 |
174-3002
|
Carbon brush (sold individually) |
$11.63
|
2 |
|
usually ships 9-13 days |
025 |
174-1435
|
Gasket 2 1/2 x 5/8 neoprene |
$8.88
|
2 |
|
ships same day |
026 |
174-0171
|
Foam ring |
$2.85
|
1 |
|
usually ships 9-13 days |
027 |
174-1436
|
Venturi tube |
$18.31
|
1 |
|
usually ships 1-5 days |
028 |
174-1437
|
Snub Bushing 375 x 125 |
$1.08
|
1 |
|
usually ships 1-5 days |
029 |
174-1438
|
Vacuum sensor tube |
$3.90
|
1 |
|
usually ships 1-5 days |
030 |
174-1439
|
Motor tank lid with stud |
$157.84
|
1 |
|
usually ships 1-5 days |
031 |
174-2389
|
Gasket lid |
Call for price
|
1 |
|
usually ships 9-13 days |
032 |
174-1440
|
Mounting plate |
$50.70
|
1 |
|
usually ships 1-5 days |
033 |
174-1441
|
Filter copolm |
$301.10
|
1 |
|
usually ships 9-13 days |
034 |
274-6055
|
FILTER, SMALL (12 PER PACK) |
$67.52
|
1 |
|
usually ships 9-13 days |
035 |
174-1443
|
Complete retainer impact assembly |
$90.00
|
1 |
|
usually ships 1-5 days |
036 |
999-0093
|
Screw 8-32 x 3/8 flat head slotted zinc plated |
$0.99
|
8 |
|
ships same day |
037 |
174-3206
|
Washer 8 inter tooth |
$1.08
|
8 |
|
usually ships 1-5 days |
038 |
174-0536
|
Washer 1/4 |
$1.08
|
4 |
|
usually ships 9-13 days |
039 |
999-0190
|
Nut 1/4-20 hex plain finish |
$0.99
|
4 |
|
ships same day |