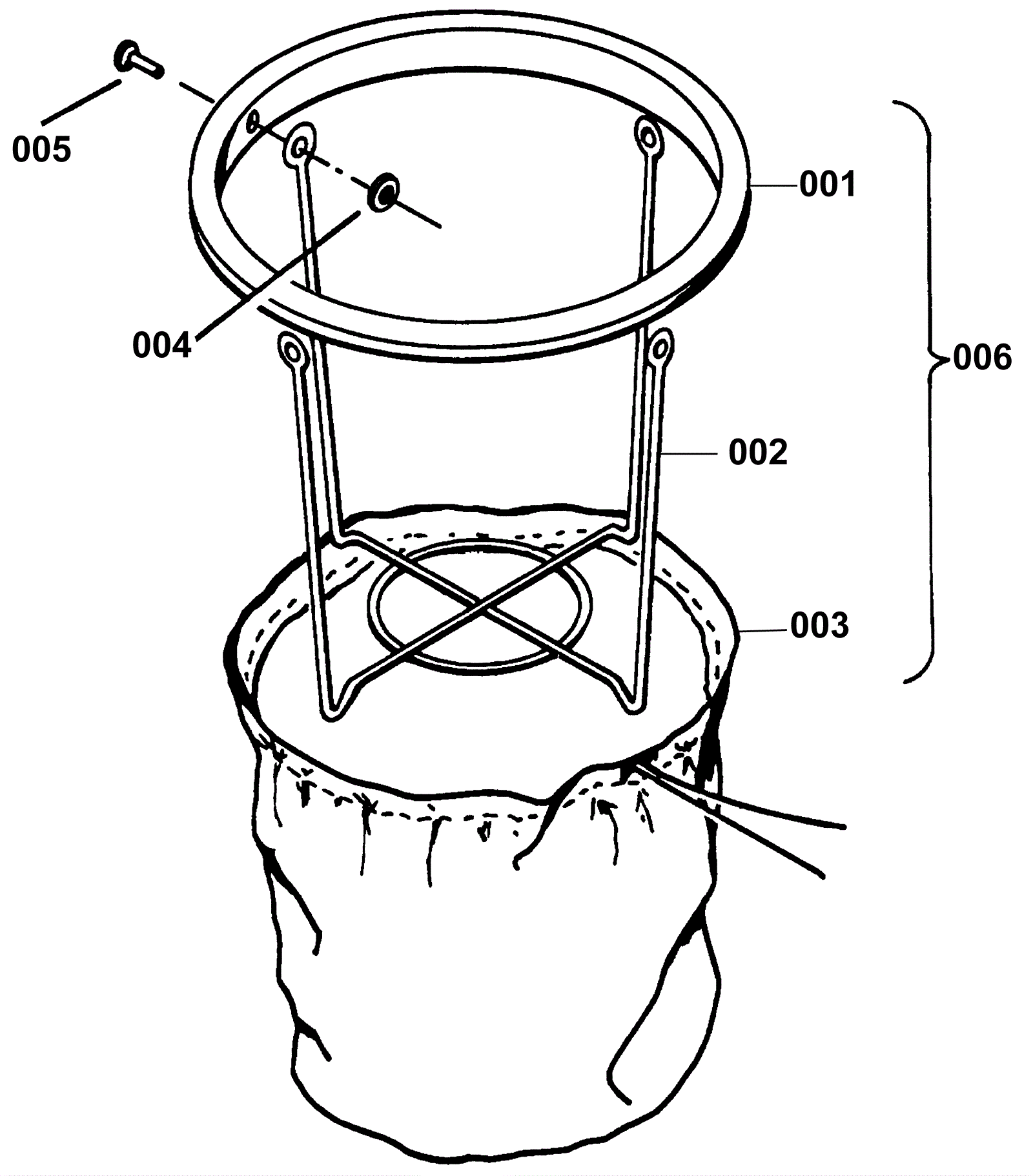
| # | Part | Description | Price | Req | Notes | Availability |
001 |
174-1924
|
Ring molded bag |
$26.58
|
1 |
|
usually ships 1-5 days |
002 |
174-1925
|
Frame bag |
$48.77
|
1 |
|
usually ships 1-5 days |
003 |
174-2375
|
6 gallon cloth filter |
$51.50
|
1 |
|
ships same day |
004 |
999-0006
|
Washer 3/16 flat zinc plated |
$0.99
|
4 |
|
ships same day |
005 |
174-5108
|
Rivet 3/16 x 1/4 pop |
$1.08
|
4 |
|
usually ships 1-5 days |
006 |
174-1423
|
6 Gallon bag complete assembly |
$114.88
|
1 |
|
usually ships 9-13 days |