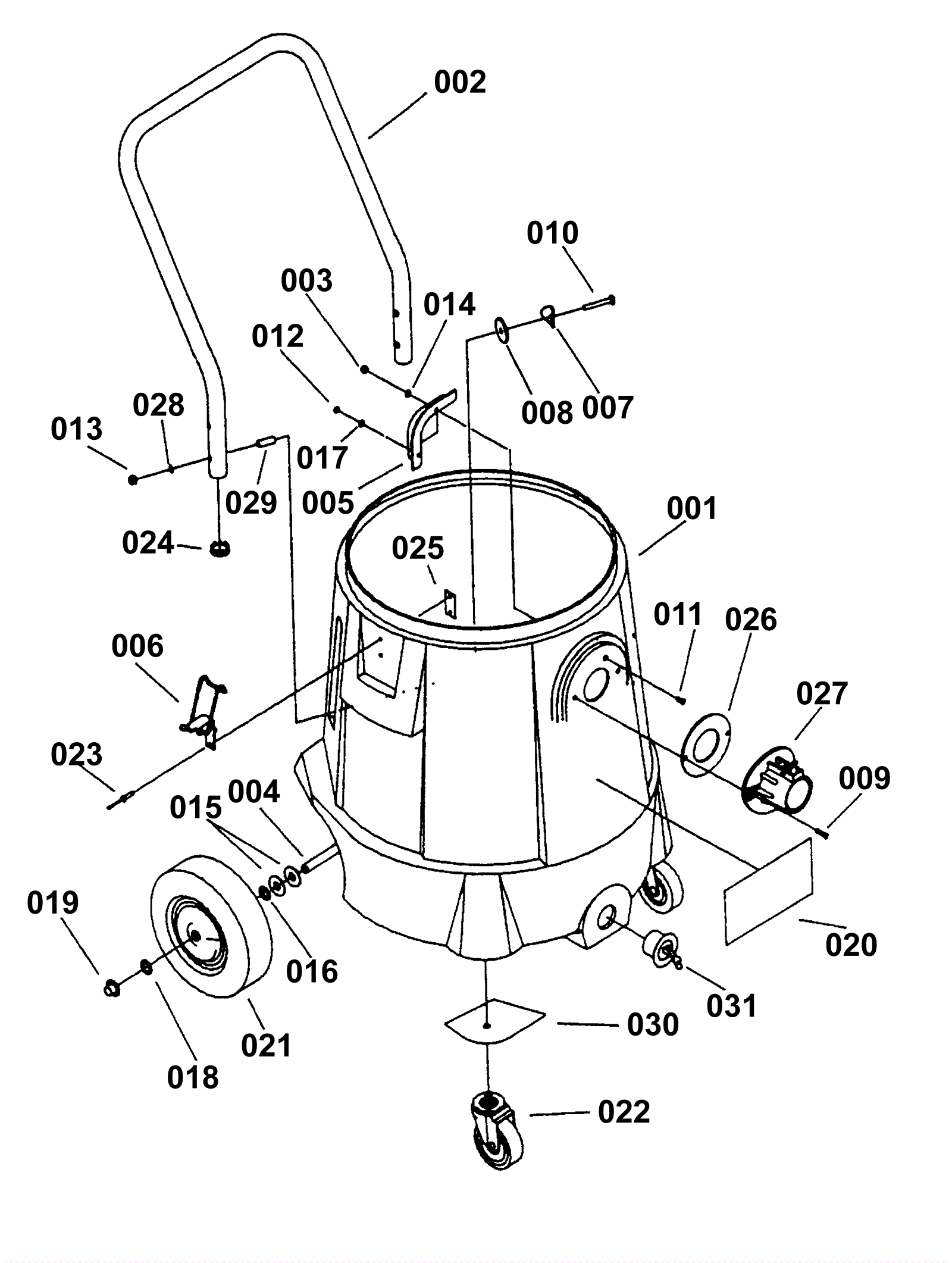
| # | Part | Description | Price | Req | Notes | Availability |
001 |
174-2265
|
15 Gallon tank (OBSOLETE) |
Call for price
|
1 |
Includes 004 |
usually ships 1-5 days |
002 |
174-2251
|
Handle |
$48.75
|
1 |
390 Series |
usually ships 1-5 days |
003 |
999-0308
|
Nut 8-32 plain |
$0.99
|
1 |
|
ships same day |
004 |
174-2266
|
Axle |
$12.68
|
1 |
Included in 001 |
usually ships 9-13 days |
005 |
174-2253
|
Intake deflector |
$17.08
|
1 |
|
usually ships 1-5 days |
006 |
174-2267
|
Latch |
$15.79
|
2 |
|
usually ships 9-13 days |
007 |
174-2268
|
Washer flat |
$1.08
|
4 |
|
usually ships 1-5 days |
008 |
174-2269
|
Gasket |
$1.73
|
4 |
|
usually ships 1-5 days |
009 |
174-3187
|
Screw 10-24 x 1 stainless steel |
$1.08
|
2 |
|
ships same day |
010 |
174-2270
|
Screw 1/4-20 x 1 3/4 |
$1.08
|
4 |
|
usually ships 1-5 days |
011 |
174-2271
|
Screw 8-32 x 1/2 |
$1.10
|
1 |
|
usually ships 9-13 days |
012 |
999-0442
|
Nut 10-24 nylon insert lock stainless steel |
$1.76
|
2 |
|
ships same day |
013 |
999-0429
|
Nut 1/4-20 acorn nickel plated |
$0.99
|
4 |
|
ships same day |
014 |
999-0266
|
Washer #8 SAE flat stainless steel |
$0.99
|
1 |
|
ships same day |
015 |
999-0187
|
Washer 1/2 flat plain finish |
$0.99
|
4 |
|
ships same day |
016 |
174-5159
|
Washer 33/64 x 1/64 wave |
$1.10
|
2 |
|
usually ships 9-13 days |
017 |
999-0998
|
Washer #10 flat stainless steel |
$0.99
|
2 |
|
ships same day |
018 |
999-0855
|
Washer 9/16 SAE flat |
$0.99
|
2 |
|
ships same day |
019 |
174-3149
|
Hub cap |
$1.48
|
2 |
|
usually ships 9-13 days |
021 |
174-8510
|
8 inch wheel |
$33.21
|
2 |
|
usually ships 9-13 days |
022 |
174-3150
|
3 Inch caster |
$14.77
|
2 |
|
usually ships 9-13 days |
023 |
174-2209
|
Pop rivet |
$1.08
|
4 |
|
usually ships 9-13 days |
024 |
174-2260
|
Tube Closure |
$1.00
|
2 |
|
usually ships 9-13 days |
025 |
174-2261
|
Back clamp plate |
$4.20
|
2 |
|
usually ships 1-5 days |
026 |
174-2262
|
Diecut poron intake gasket |
$1.22
|
1 |
|
usually ships 9-13 days |
027 |
174-2263
|
Complete intake assembly (aluminum) |
$23.18
|
1 |
|
usually ships 9-13 days |
028 |
999-0060
|
Washer 1/4 split lock plain finish |
$0.99
|
4 |
|
ships same day |
029 |
174-5189
|
Bushing 1/4 x 3/8 x 1 |
$10.55
|
4 |
|
usually ships 1-5 days |
030 |
174-2274
|
Backing plate |
$10.33
|
2 |
|
usually ships 1-5 days |
031 |
174-2264
|
Drain plug |
$34.36
|
1 |
|
usually ships 9-13 days |
N/S |
174-2275
|
Tank assembly complete |
$155.25
|
|
|
usually ships 1-5 days |