| # | Part | Description | Price | Req | Notes | Availability |
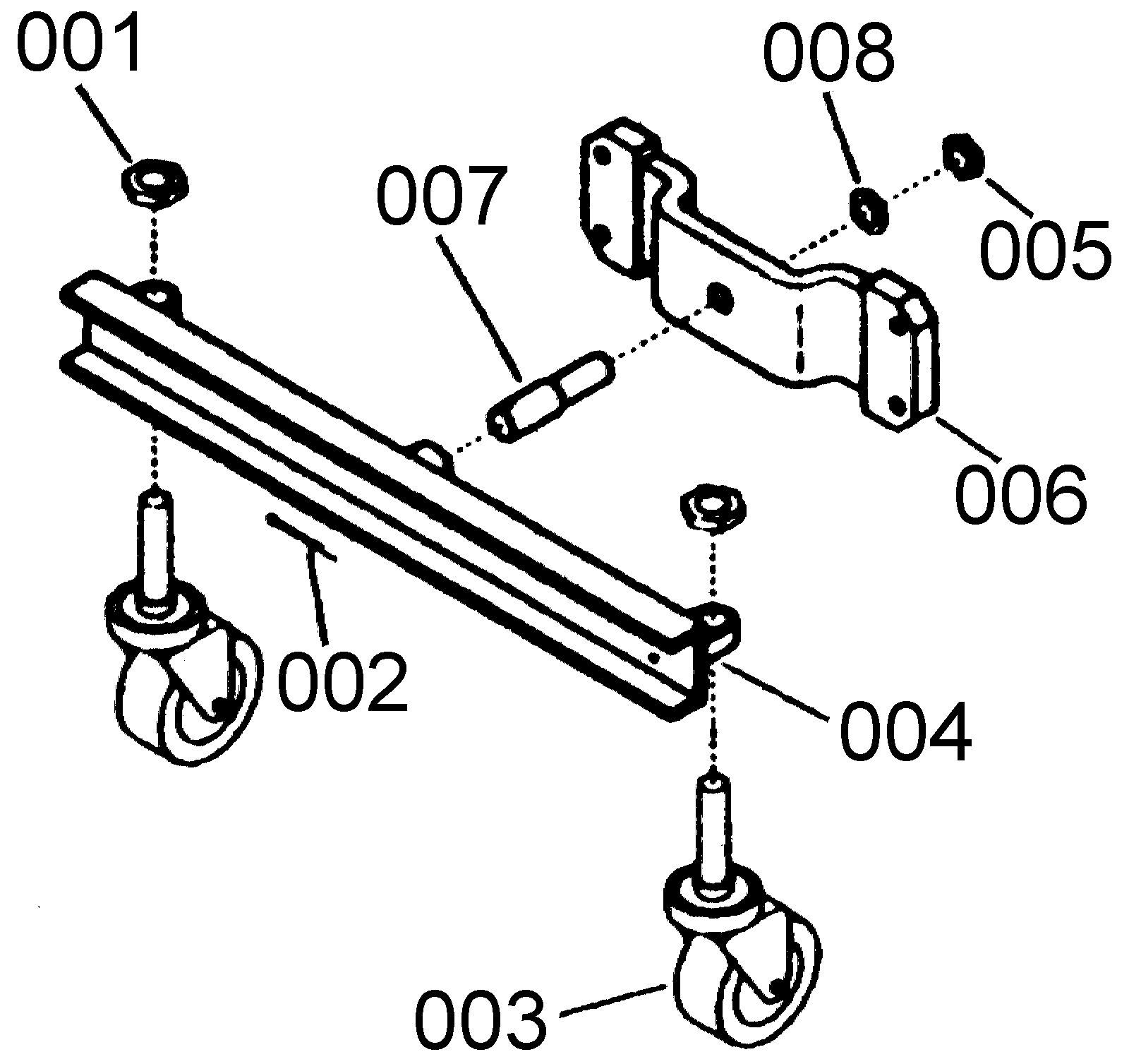
001 |
174-2409
|
Nut 3/4 jam |
$4.06
|
2 |
|
usually ships 3-9 days |
002 |
174-0340
|
Square keyway |
$0.81
|
1 |
|
usually ships 1-5 days |
003 |
N/A
|
Not available |
Call for price
|
2 |
(Caster wheel) |
usually ships 3-26 days |
004 |
174-1142
|
Axle support weldment (OBSOLETE) |
Call for price
|
1 |
|
usually ships 9-13 days |
005 |
174-1143
|
Hex nut |
$1.05
|
1 |
|
usually ships 1-5 days |
006 |
174-1144
|
Mount plate |
Call for price
|
1 |
|
usually ships 1-5 days |
007 |
174-1145
|
Pivot pin |
$21.67
|
1 |
|
usually ships 1-5 days |
008 |
999-0260
|
Washer 1/2 internal starlock |
$0.99
|
1 |
|
ships same day |
009 |
174-1147
|
Disposable vacuum bag (OBSOLETE) |
$11.04
|
1 |
|
usually ships 3-9 days |