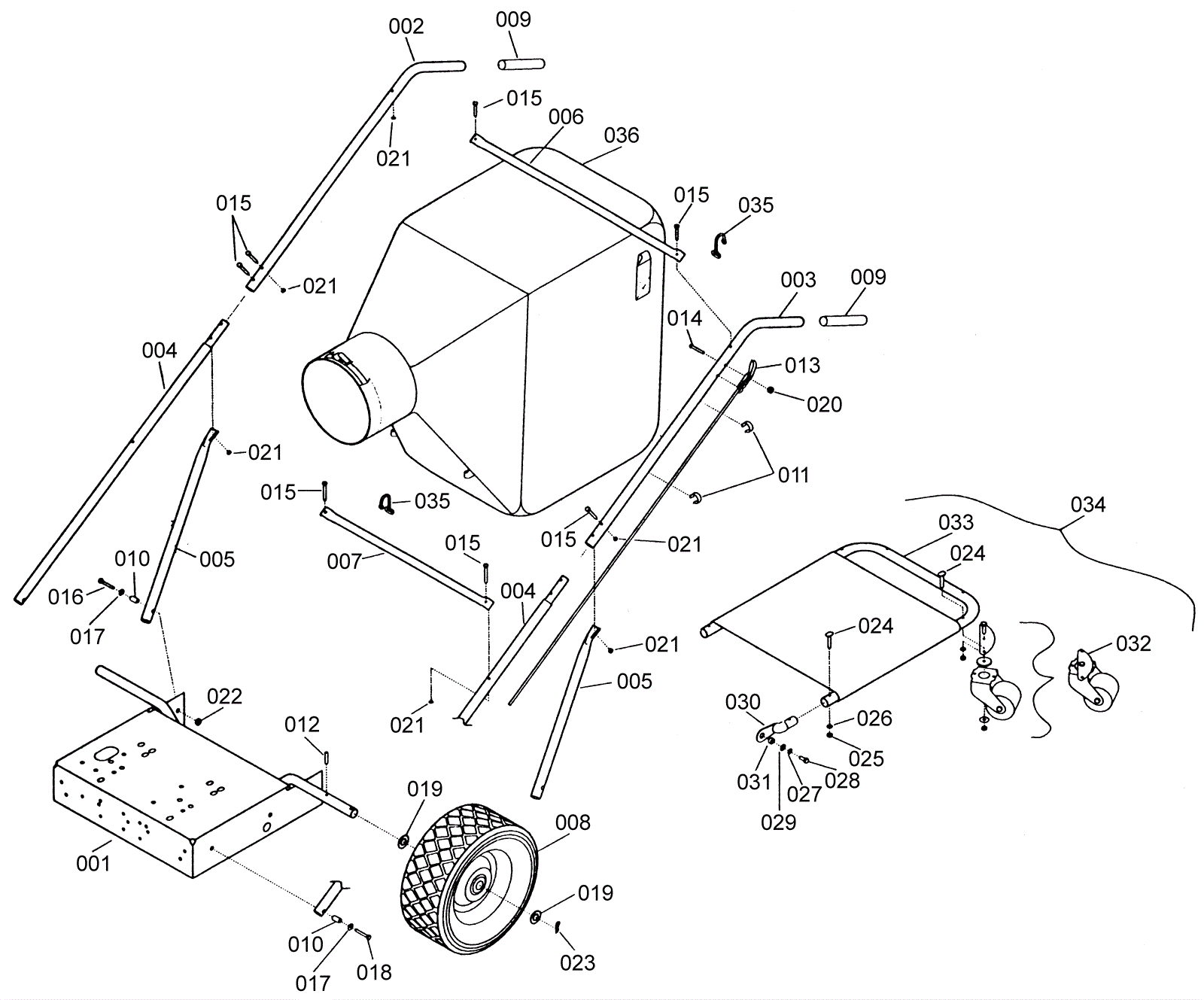
| # | Part | Description | Price | Req | Notes | Availability |
001 |
174-1053
|
Chassis weldment |
Call for price
|
1 |
|
usually ships 1-5 days |
002 |
174-1054
|
Right upper handle |
Call for price
|
1 |
|
usually ships 1-5 days |
003 |
174-1055
|
Left upper handle |
Call for price
|
1 |
|
usually ships 1-5 days |
004 |
174-1056
|
Lower handle |
Call for price
|
2 |
|
usually ships 1-5 days |
005 |
174-1057
|
Handle back brace |
Call for price
|
2 |
|
usually ships 1-5 days |
006 |
174-1058
|
Upper cross brace |
Call for price
|
1 |
|
usually ships 1-5 days |
007 |
174-1059
|
Lower cross brace |
Call for price
|
1 |
|
usually ships 1-5 days |
008 |
174-1060
|
Wheel assembly |
$228.68
|
2 |
|
usually ships 1-5 days |
009 |
174-0864
|
Black handle grip |
Call for price
|
2 |
|
usually ships 1-5 days |
010 |
174-1061
|
Insert |
Call for price
|
4 |
|
usually ships 1-5 days |
011 |
174-1062
|
Snap-on clamp |
$1.47
|
2 |
|
usually ships 1-5 days |
012 |
174-0971
|
Roll pin 3/16 x 1 1/2 |
$1.05
|
2 |
|
usually ships 1-5 days |
013b |
174-1063
|
Throttle control assembly |
Call for price
|
1 |
|
usually ships 1-5 days |
014 |
999-0223
|
Screw 10-24 x 1 1/4 round head slotted zinc plated |
$0.99
|
2 |
|
ships same day |
015 |
999-0344
|
Bolt 1/4-20 x 1 1/2 hex head plain finish |
$0.99
|
8 |
|
ships same day |
016 |
999-0178
|
Bolt 5/16-18 x 2 hex head grade 5 zinc plated |
$0.54
|
2 |
|
ships same day |
017 |
999-0024
|
Washer 5/16 flat stainless steel |
$1.34
|
4 |
|
ships same day |
018 |
999-0109
|
Bolt 5/16-18 x 1 1/2 hex head grade 5 zinc plated |
$0.99
|
2 |
|
ships same day |
019 |
999-0630
|
Washer 3/4 SAE flat |
$0.99
|
4 |
|
ships same day |
020 |
999-0442
|
Nut 10-24 nylon insert lock stainless steel |
$1.76
|
2 |
|
ships same day |
021 |
999-0190
|
Nut 1/4-20 hex plain finish |
$0.99
|
8 |
|
ships same day |
022 |
999-0211
|
Nut 5/16-18 hex nylon insert lock zinc plated |
$0.99
|
2 |
|
ships same day |
023 |
174-1066
|
Cotter pin |
Call for price
|
2 |
|
usually ships 1-5 days |
024 |
174-2414
|
Bolt 1/4-20 x 1 1/2 contour head |
$0.95
|
6 |
|
usually ships 1-5 days |
025 |
999-0190
|
Nut 1/4-20 hex plain finish |
$0.99
|
6 |
|
ships same day |
026 |
999-0060
|
Washer 1/4 split lock plain finish |
$0.99
|
6 |
|
ships same day |
027 |
999-0028
|
Washer 5/16 split lock plain finish |
$0.99
|
2 |
|
ships same day |
028 |
999-0029
|
Bolt 5/16-18 x 1/2 hex head plain finish |
$0.99
|
2 |
|
ships same day |
029 |
174-1067
|
Special washer |
Call for price
|
2 |
|
usually ships 1-5 days |
030 |
174-1068
|
Tubing end cap (OBSOLETE) |
Call for price
|
2 |
|
usually ships 1-5 days |
031 |
174-1069
|
Spacer |
Call for price
|
2 |
|
usually ships 1-5 days |
032 |
N/A
|
Not available |
Call for price
|
1 |
(Caster and plate assembly) |
usually ships 3-26 days |
033 |
174-1071
|
Frame and bag platform |
Call for price
|
1 |
|
usually ships 1-5 days |
034 |
N/A
|
Not available |
Call for price
|
1 |
(Bag platform) |
usually ships 3-26 days |
035 |
174-1073
|
Bag hook |
$1.05
|
4 |
|
usually ships 9-13 days |
036a |
174-1074
|
Vacuum dust bag (OBSOLETE) |
$214.78
|
1 |
|
usually ships 3-9 days |
036b |
174-1147
|
Disposable vacuum bag (OBSOLETE) |
$11.04
|
1 |
|
usually ships 3-9 days |