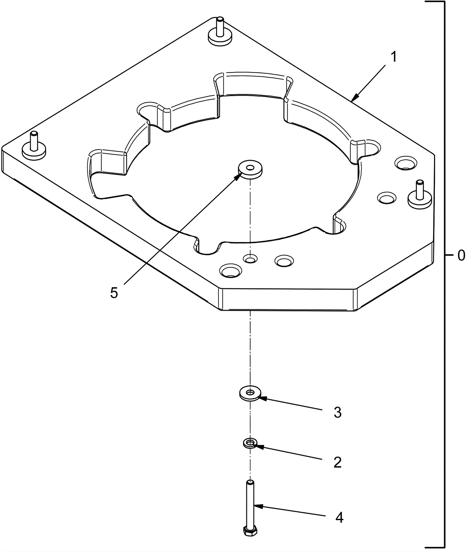
ROS -17
Weight Assembly
Click to enlarge
#
Part
Description
Price
Req
Notes
Availability
0
174-4290
Weight complete
$103.40
1
(includes 1-5)
usually ships 9-13 days
1
174-4291
Weight
$83.67
1
usually ships 9-13 days
2
174-4245
Washer M6 inox A2
$1.20
4
usually ships 9-13 days
3
174-4292
Washer
$1.20
4
usually ships 9-13 days
4
174-4293
Screw
$1.42
4
usually ships 9-13 days
5
174-4294
Spacer
$1.00
4
usually ships 9-13 days