| # | Part | Description | Price | Req | Notes | Availability |
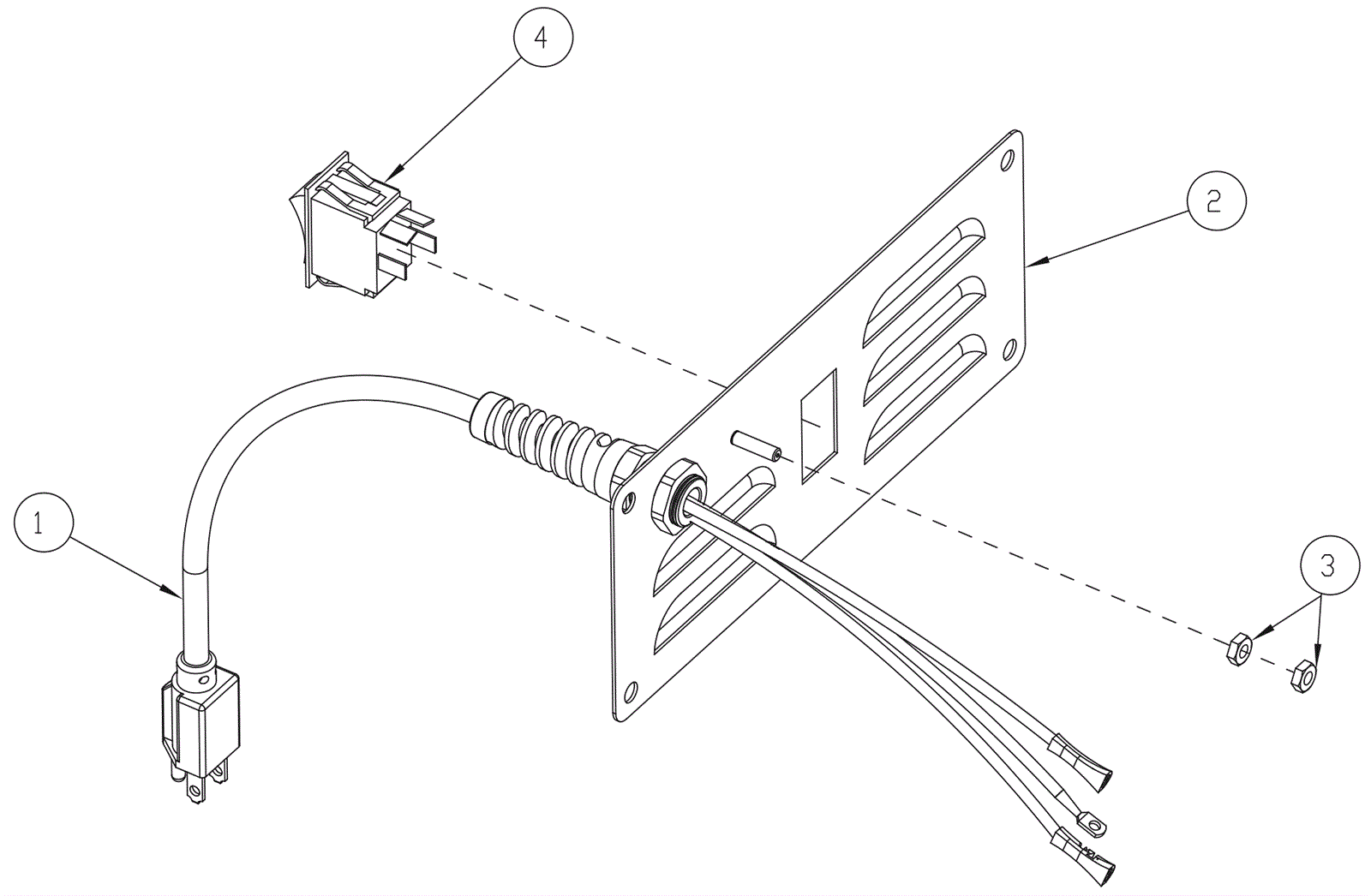
1 |
174-3934
|
12 inch 120V pigtail cord |
$9.61
|
1 |
|
usually ships 9-13 days |
2 |
174-3935
|
Top rear cover plate assembly |
$8.87
|
1 |
|
usually ships 9-13 days |
3 |
999-0460
|
Nut 10-32 hex |
$0.99
|
2 |
|
ships same day |
4 |
174-0181
|
Rocker switch |
$18.63
|
1 |
|
usually ships 9-13 days |