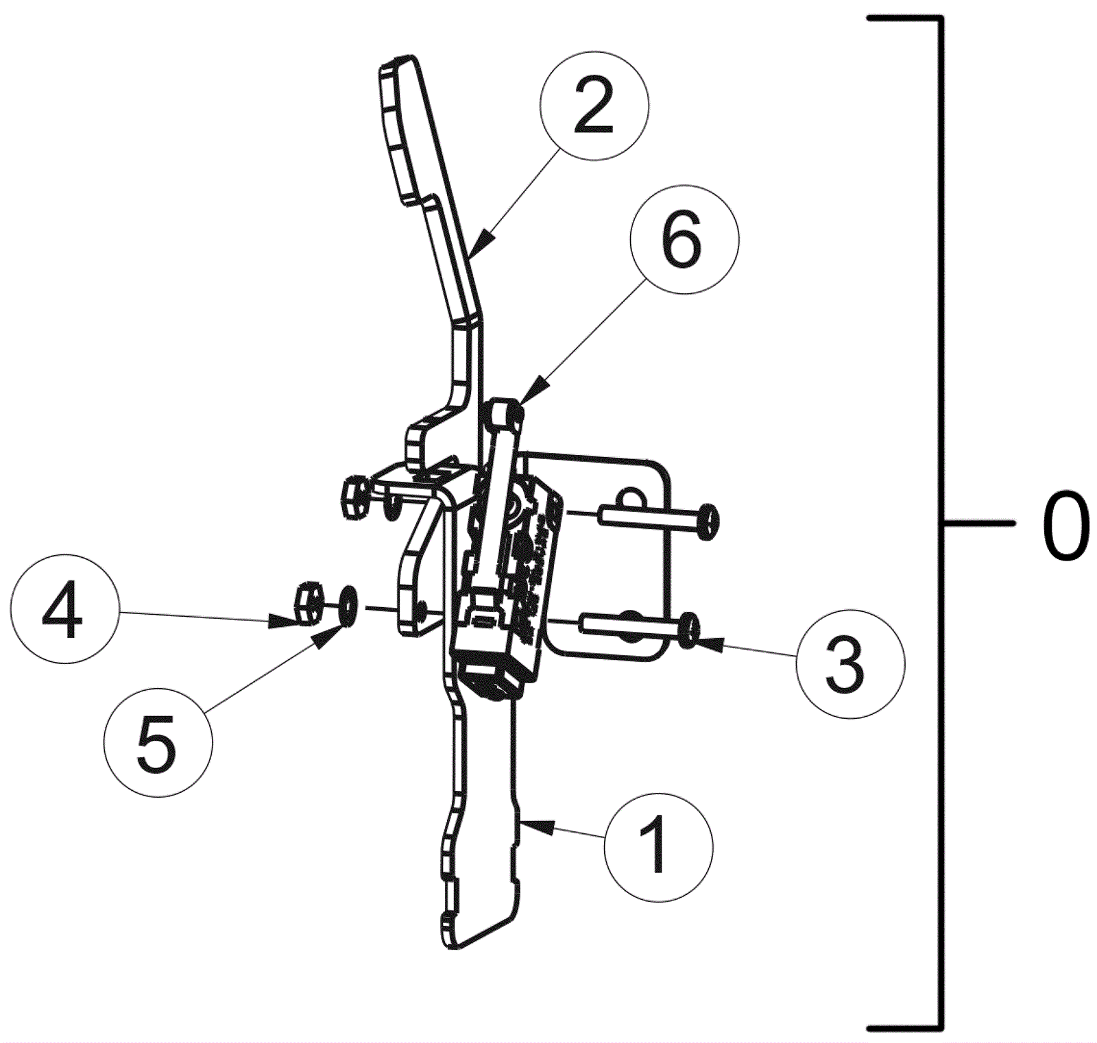
| # | Part | Description | Price | Req | Notes | Availability |
0 |
174-8287
|
Vac switch assembly |
$49.73
|
1 |
(includes 1-6) |
usually ships 9-13 days |
1 |
274-2082
|
BKT, VAC SWITCH MOUNT |
$11.74
|
1 |
|
usually ships 9-13 days |
2 |
274-9817
|
Vacuum switch cover |
$7.14
|
1 |
|
usually ships 1-5 days |
3 |
999-1059
|
Screw 4-40 x 3/4 pan head phillips zinc plated |
$0.99
|
2 |
|
ships same day |
4 |
999-0408
|
Nut 4-40 plain machine screw |
$0.99
|
2 |
|
ships same day |
5 |
999-0479
|
Washer #4 internal star lock zinc plated |
$0.99
|
2 |
|
ships same day |
6 |
174-8264
|
Switch assembly (with pack conduit) |
$29.58
|
1 |
|
usually ships 9-13 days |