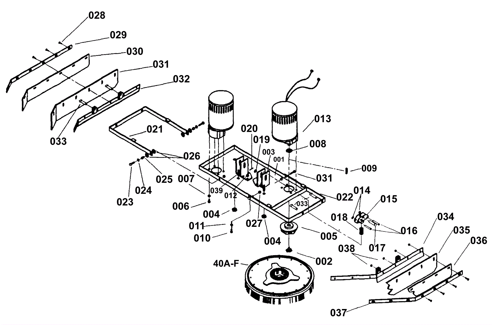
| # | Part | Description | Price | Req | Notes | Availability |
001 |
174-2685
|
Motor pan |
Call for price
|
1 |
|
usually ships 1-5 days |
002 |
174-0037
|
Retainer bolt |
$16.26
|
2 |
|
usually ships 9-13 days |
003 |
174-1699
|
Lift bracket weldment |
$20.20
|
2 |
|
usually ships 1-5 days |
004 |
174-0575
|
Nut 1/4 NPT nylon |
$1.11
|
2 |
|
usually ships 9-13 days |
005 |
174-0035
|
Drive hub |
$46.05
|
2 |
|
usually ships 9-13 days |
006 |
999-0594
|
Screw 3/8-16 x 1 socket head alloy plain finish |
$1.14
|
8 |
|
ships same day |
007 |
999-0034
|
Washer 3/8 split lock plain finish |
$1.82
|
8 |
|
ships same day |
008 |
999-9114
|
Washer 3/4 flat stainless steel |
$1.58
|
2 |
|
ships same day |
009 |
174-0036
|
Square keyway |
$1.19
|
2 |
|
usually ships 9-13 days |
010 |
999-0556
|
Bolt 5/16-18 x 3/4 hex head stainless steel |
$0.99
|
6 |
|
ships same day |
011 |
999-0028
|
Washer 5/16 split lock plain finish |
$0.99
|
6 |
|
ships same day |
012 |
999-0593
|
Nut 5/16-18 hex stainless steel |
$0.99
|
6 |
|
ships same day |
013a |
174-0482
|
36V 1.0HP brush gear motor assembly |
$1,347.70
|
2 |
|
usually ships 1-5 days |
013b |
991-8524
|
36V 1.0HP brush motor assembly with gear box |
$1,217.40
|
2 |
(NON-OEM) |
usually ships 18-24 days |
014 |
999-0024
|
Washer 5/16 flat stainless steel |
$1.34
|
4 |
|
ships same day |
015 |
174-0440
|
Bracket spring support |
$51.49
|
2 |
|
usually ships 1-5 days |
016 |
174-0203
|
Clevis pin |
$2.08
|
4 |
|
usually ships 1-5 days |
017 |
174-0348
|
Clevis pin |
$4.77
|
2 |
|
usually ships 1-5 days |
018 |
174-0149
|
Compression spring |
$4.20
|
2 |
|
usually ships 1-5 days |
019 |
999-0855
|
Washer 9/16 SAE flat |
$0.99
|
2 |
|
ships same day |
020 |
997-2506
|
Cotter pin |
$0.99
|
6 |
|
ships same day |
021 |
174-2686
|
Squeegee side bracket left |
$155.68
|
1 |
|
usually ships 1-5 days |
022 |
174-2687
|
Squeegee side bracket right |
$160.33
|
1 |
|
usually ships 1-5 days |
023 |
999-0039
|
Bolt 3/8-16 x 1 1/4 hex head grade 5 zinc plated |
$0.99
|
4 |
|
ships same day |
024 |
999-0032
|
Washer 3/8 USS flat plain finish |
$2.42
|
4 |
|
ships same day |
025 |
174-2688
|
Sleeve bushing |
Call for price
|
4 |
|
usually ships 1-5 days |
026 |
999-0566
|
Washer 1/2 flat nylon |
$0.99
|
8 |
|
ships same day |
027 |
999-0635
|
Nut 3/8-16 hex stainless steel |
$0.99
|
4 |
|
ships same day |
028 |
999-6667
|
Bolt 1/4-20 x 1 hex zinc |
$0.99
|
13 |
|
ships same day |
029 |
174-2690
|
Squeegee retainer side left |
$67.67
|
1 |
|
usually ships 1-5 days |
030 |
174-2691
|
Squeegee strip left side backup |
$14.67
|
1 |
|
usually ships 1-5 days |
031 |
174-2692
|
Squeegee left side |
$44.50
|
1 |
|
usually ships 1-5 days |
032 |
174-2693
|
Squeegee mount weldment left |
$224.23
|
1 |
|
usually ships 1-5 days |
033 |
174-2694
|
Pin hitch 1/2 x 1 1/2 |
$4.95
|
4 |
|
usually ships 1-5 days |
034 |
174-2695
|
Squeegee mount weldment right |
$1,107.14
|
1 |
|
usually ships 1-5 days |
035 |
174-2696
|
Squeegee right side |
$44.41
|
1 |
|
usually ships 1-5 days |
036 |
174-2697
|
Squeegee strip right side backup |
$20.99
|
1 |
|
usually ships 1-5 days |
037 |
174-2698
|
Squeegee retainer right side |
$89.05
|
1 |
|
usually ships 1-5 days |
038 |
999-0595
|
Nut 1/4-20 flange lock serrated zinc plated |
$0.99
|
13 |
|
ships same day |
039 |
174-2701
|
Fitting brass 1/4 mpt x 3/8 barb |
Call for price
|
2 |
|
usually ships 1-5 days |
040a |
174-2703
|
Power scrub brush |
$540.40
|
2 |
|
usually ships 1-5 days |
040b |
174-2703
|
Power scrub brush |
$540.40
|
2 |
|
usually ships 1-5 days |
040c |
996-0730
|
Pad driver (OBSOLETE) |
$186.35
|
2 |
|
usually ships 9-13 days |
040d |
996-1014
|
Nylon brush |
$381.03
|
2 |
|
usually ships 1-5 days |
040e |
996-1013
|
Polypropelene scrubbing brush |
$556.96
|
2 |
|
usually ships 1-5 days |
040f |
996-1013
|
Polypropelene scrubbing brush |
$556.96
|
2 |
|
usually ships 1-5 days |