| # | Part | Description | Price | Req | Notes | Availability |
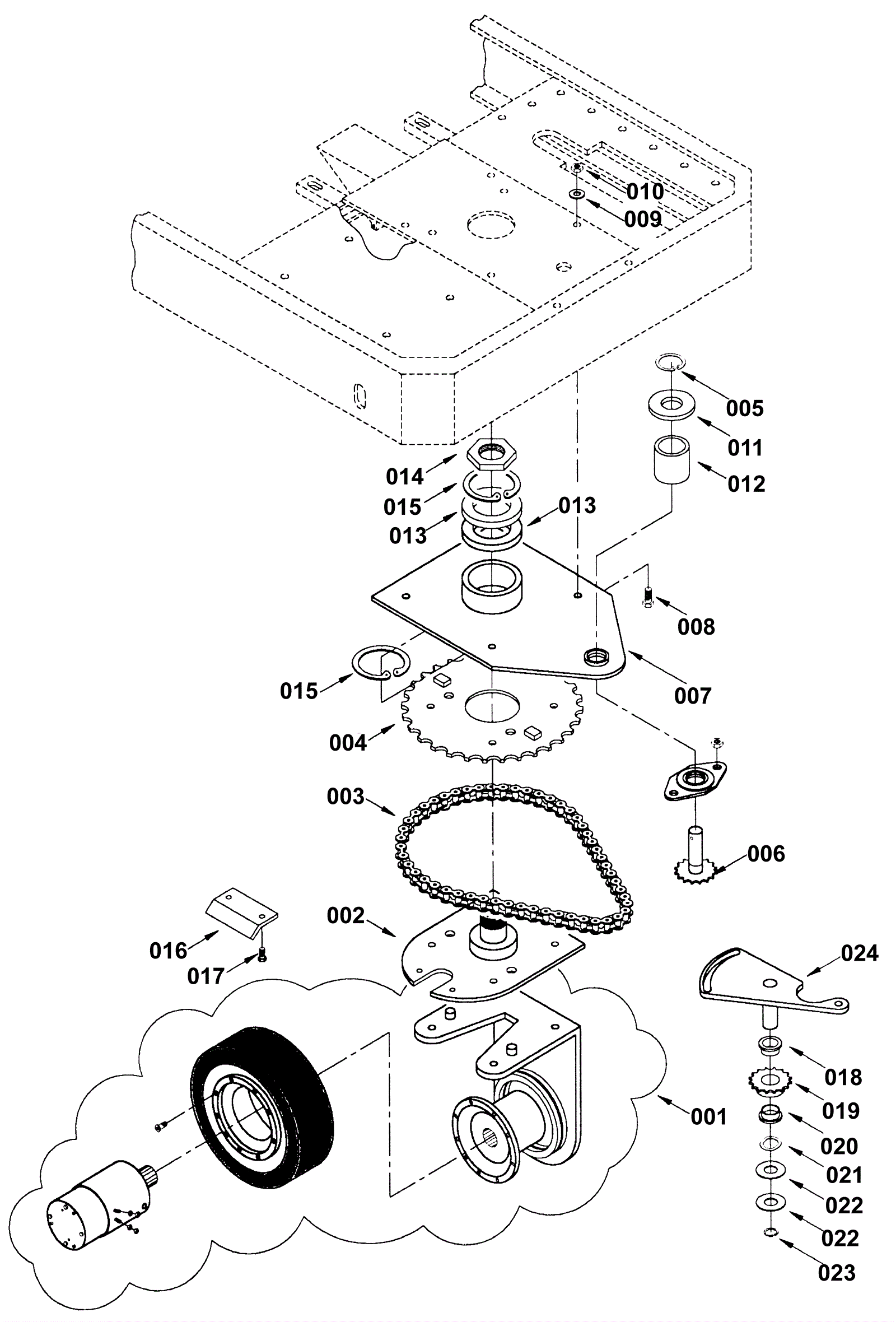
001 |
174-1659
|
Drive motor |
Call for price
|
1 |
|
usually ships 1-5 days |
002 |
174-1660
|
Motor mount weldment |
Call for price
|
1 |
|
usually ships 1-5 days |
003 |
174-1661
|
Steer chain |
Call for price
|
1 |
|
usually ships 1-5 days |
004 |
174-1662
|
Steering sprocket weldment |
Call for price
|
1 |
|
usually ships 1-5 days |
005 |
174-1663
|
Retaining ring |
Call for price
|
1 |
|
usually ships 1-5 days |
006 |
174-1664
|
Bottom steering input shaft weldment |
Call for price
|
1 |
|
usually ships 1-5 days |
007 |
174-1665
|
Steering mount weldment |
Call for price
|
1 |
|
usually ships 1-5 days |
008 |
999-0594
|
Screw 3/8-16 x 1 socket head alloy plain finish |
$1.14
|
4 |
|
ships same day |
009 |
999-0120
|
Washer 3/8 SAE flat |
$0.99
|
4 |
|
ships same day |
010 |
999-0959
|
Nut 3/8-16 hex |
$1.42
|
4 |
|
ships same day |
011 |
174-1666
|
Spacer |
Call for price
|
1 |
|
usually ships 1-5 days |
012 |
174-1667
|
Bearing |
Call for price
|
1 |
|
usually ships 1-5 days |
013 |
174-1668
|
Bearing 3 5/32 x 1 9/16 x 23/32 |
Call for price
|
2 |
|
usually ships 1-5 days |
014 |
174-1669
|
Bearing lock nut |
Call for price
|
1 |
|
usually ships 1-5 days |
015 |
174-1670
|
Retaining inner wheel ring |
$3.09
|
2 |
|
usually ships 1-5 days |
016 |
174-1671
|
Wire retainer plated |
Call for price
|
1 |
|
usually ships 1-5 days |
017 |
999-1212
|
Screw 10-32 x 1/2 hex head stainless steel |
$0.99
|
2 |
|
ships same day |
018 |
174-1672
|
Bushing |
Call for price
|
1 |
|
usually ships 1-5 days |
019 |
174-1673
|
Sprocket |
Call for price
|
1 |
|
usually ships 1-5 days |
020 |
174-1672
|
Bushing |
Call for price
|
1 |
|
usually ships 1-5 days |
021 |
174-5159
|
Washer 33/64 x 1/64 wave |
$1.10
|
1 |
|
usually ships 9-13 days |
022 |
999-0187
|
Washer 1/2 flat plain finish |
$0.99
|
2 |
|
ships same day |
023 |
174-0178
|
1/2 inch external retaining ring |
$1.10
|
1 |
|
usually ships 9-13 days |
024 |
174-1675
|
Chain idler weldment |
Call for price
|
1 |
|
usually ships 1-5 days |