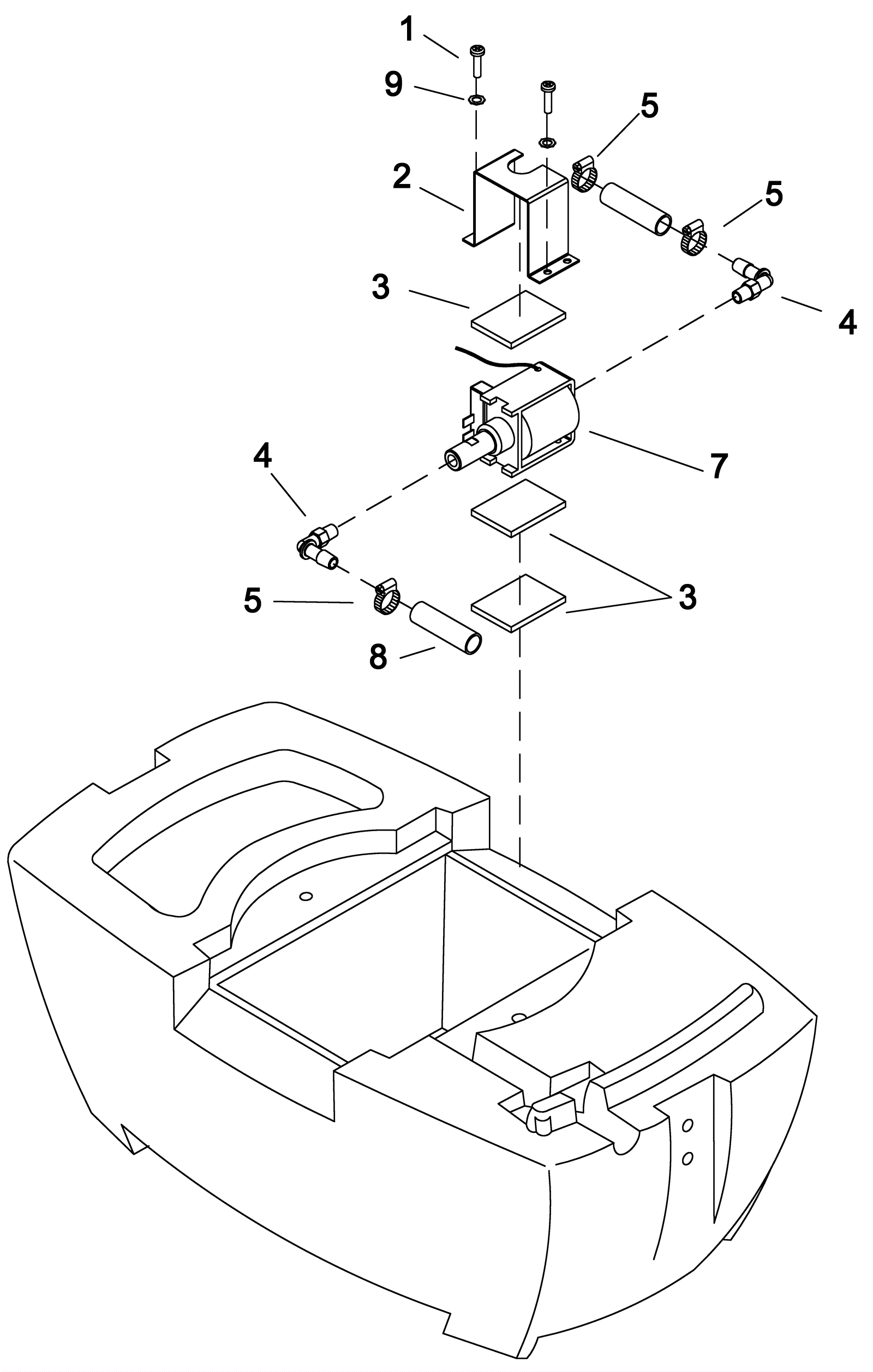
# | Part | Description | Price | Req | Notes | Availability |
1 |
999-0321
|
Screw 10-32 x 3/8 pan head slotted zinc plated |
$0.99
|
2 |
|
ships same day |
2 |
173-2721
|
Soleniod pump bracket |
$43.55
|
1 |
|
usually ships 11-15 days |
3 |
173-0213
|
Gasket |
$5.43
|
3 |
|
usually ships 11-15 days |
4 |
173-4930
|
Hose barb |
$24.24
|
2 |
|
usually ships 11-15 days |
5 |
173-1821
|
Hose clamp |
$6.83
|
3 |
|
ships same day |
7 |
173-7036
|
120V flojet pump |
$92.98
|
1 |
|
usually ships 11-15 days |
8 |
173-9159
|
Wirebound hose 1/2 x 23 inch |
$52.73
|
1 |
|
usually ships 11-15 days |
9 |
999-0311
|
Washer #10 external star lock zinc plated |
$0.99
|
2 |
|
ships same day |