| # | Part | Description | Price | Req | Notes | Availability |
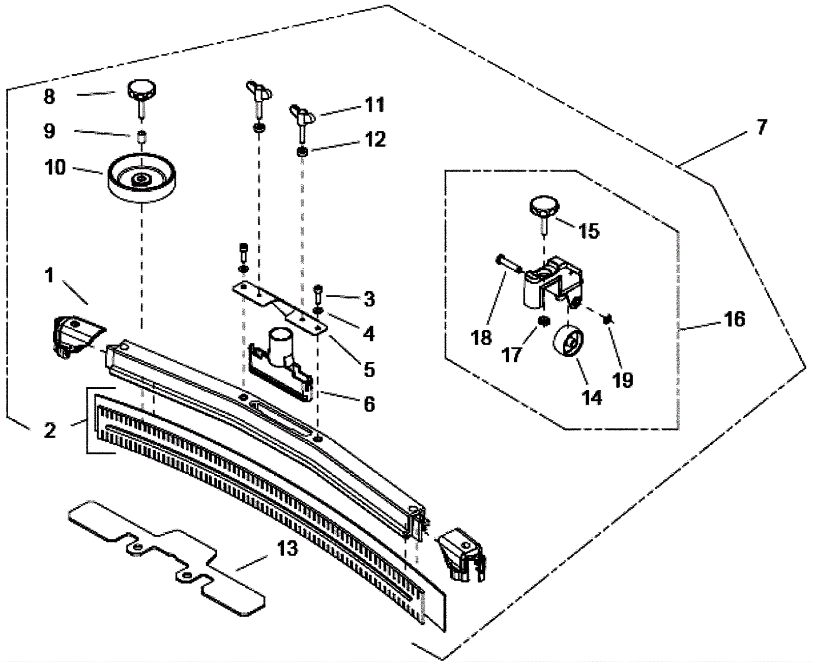
1 |
273-3475
|
Left and right end pieces |
$93.58
|
1 |
|
usually ships 11-15 days |
2a |
173-7420
|
Squeegee blade 26 inch kit urethane (pkg of 2) |
$97.69
|
1 |
|
ships same day |
2b |
173-7421
|
35 inch squeegee blade kit standard (pkg of 2) |
$236.58
|
1 |
|
ships same day |
2c |
173-7422
|
Squeegee blade 26 inch kit nonstreaking (pkg of 2) |
$120.05
|
1 |
|
ships same day |
3 |
273-3477
|
Screw |
$5.50
|
2 |
|
usually ships 11-15 days |
4 |
999-0150
|
Washer #8 medium split lock |
$0.99
|
2 |
|
ships same day |
6 |
273-3479
|
Suction nipple |
$38.49
|
1 |
|
usually ships 11-15 days |
7 |
273-1427
|
Curved suction bar |
$443.73
|
1 |
(includes 1-6 and 8-23) |
usually ships 11-15 days |
8 |
273-7072
|
Star knob |
$24.84
|
2 |
|
usually ships 11-15 days |
9 |
273-5924
|
Sleeve suction bar |
$9.77
|
2 |
|
usually ships 11-15 days |
10 |
273-3481
|
Guide wheel |
$31.55
|
2 |
|
ships same day |
11 |
373-4987
|
Wing screw M8x30 |
$7.54
|
2 |
|
usually ships 11-15 days |
12 |
273-5932
|
Sleeved bushing |
$14.36
|
2 |
|
usually ships 11-15 days |
13 |
273-5929
|
Weight |
$125.94
|
1 |
|
usually ships 11-15 days |
14 |
273-3489
|
Wheel |
$57.32
|
2 |
|
usually ships 11-15 days |
15 |
273-3484
|
Star grip |
$18.48
|
2 |
|
usually ships 11-15 days |
16 |
273-3485
|
Squeegee roller assembly |
$284.83
|
2 |
(includes 14-22) |
usually ships 11-15 days |
17 |
273-3490
|
Pressure spring |
$4.60
|
2 |
|
usually ships 11-15 days |
18 |
373-1746
|
Bolt |
$1.20
|
2 |
|
usually ships 11-15 days |
19 |
273-3488
|
Locking ring |
$3.45
|
2 |
|
usually ships 11-15 days |
N/S |
373-1737
|
Star grip |
$39.90
|
2 |
|
ships same day |
N/S |
273-3482
|
Plate |
$41.90
|
1 |
|
usually ships 11-15 days |