| # | Part | Description | Price | Req | Notes | Availability |
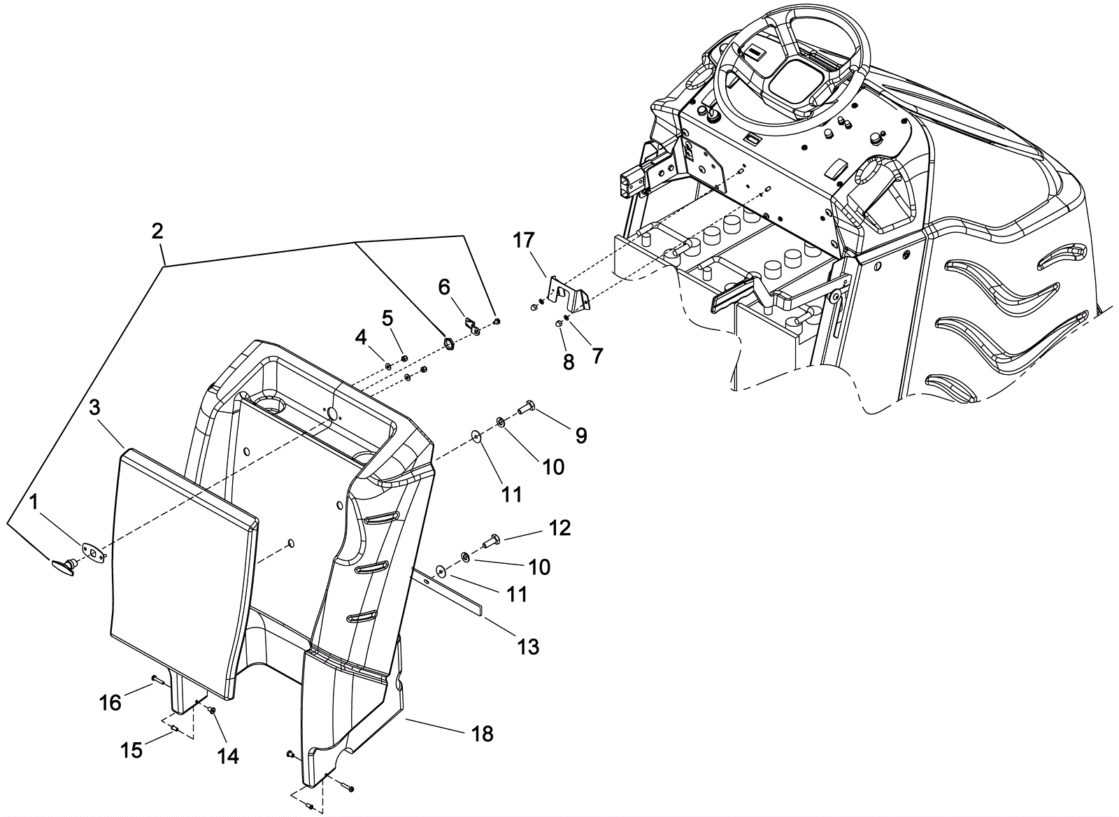
1 |
273-5803
|
Latch plate |
$9.24
|
1 |
|
usually ships 11-15 days |
2 |
273-5802
|
Handle cam latch |
$72.97
|
1 |
|
usually ships 11-15 days |
3 |
173-5521
|
Leaning pad |
$367.22
|
1 |
|
usually ships 11-15 days |
4 |
999-0123
|
Washer 1/4 SAE flat zinc plated |
$0.99
|
2 |
|
ships same day |
5 |
999-0294
|
Nut 1/4-20 hex nylon lock type NE stainless steel |
$1.18
|
2 |
|
ships same day |
6 |
273-5805
|
Handle pawl |
$11.19
|
1 |
|
usually ships 11-15 days |
7 |
999-1049
|
Washer 1/4 split lock zinc plated |
$0.99
|
2 |
|
ships same day |
8 |
999-1344
|
Nut 1/4-20 acorn stainless steel |
$1.38
|
2 |
|
ships same day |
9 |
999-1232
|
Screw 5/16-18 x 3/4 hex head stainless steel |
$0.99
|
3 |
|
ships same day |
10 |
999-0028
|
Washer 5/16 split lock plain finish |
$0.99
|
5 |
|
ships same day |
11 |
999-0549
|
Washer 5/16 x 3/4 SAE flat stainless steel |
$0.99
|
5 |
|
ships same day |
12 |
999-0424
|
Bolt 5/16-18 x 1 hex head stainless steel |
$0.99
|
2 |
|
ships same day |
13 |
173-5523
|
Bar |
$86.52
|
1 |
|
usually ships 11-15 days |
14 |
173-8380
|
Nut 1/4-20 x 12 hex barrel (OBSOLETE) |
$5.89
|
2 |
|
usually ships 11-15 days |
15 |
173-5520
|
Flanged bearing |
$14.83
|
2 |
|
usually ships 11-15 days |
16 |
999-0398
|
Screw 1/4-20 x 1 1/2 pan head phillips zinc plated |
$0.99
|
2 |
|
ships same day |
17 |
273-5804
|
Rear cover bracket |
$57.55
|
1 |
|
usually ships 1-5 days |
18 |
273-5801
|
Rear cover |
$1,059.30
|
1 |
|
usually ships 11-15 days |