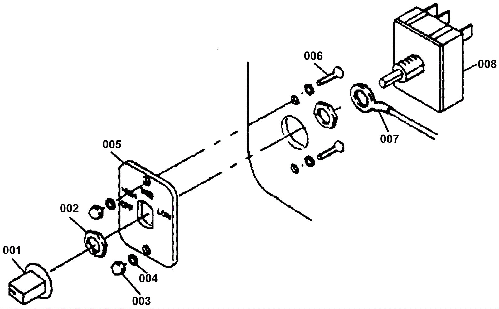
| # | Part | Description | Price | Req | Notes | Availability |
001 |
173-0795
|
Rotary switch knob |
$11.36
|
|
|
usually ships 11-15 days |
002 |
173-3893
|
Nut 15/32-32 |
$2.42
|
|
|
usually ships 1-5 days |
003 |
173-0796
|
Nut 6-32 acorn zinc |
$0.99
|
|
|
usually ships 1-5 days |
004 |
999-0364
|
Washer #6 internal star lock zinc plated |
$0.99
|
|
|
ships same day |
005 |
173-0797
|
Switch plate (GE) |
$17.93
|
|
|
usually ships 1-5 days |
006 |
173-2560
|
Screw 6-32 x 1/2 phillips flat head machine |
$0.99
|
|
|
usually ships 11-15 days |
007 |
173-0798
|
Wire 5 inch green |
$4.73
|
|
|
usually ships 1-5 days |
008 |
N/A
|
Not available |
Call for price
|
|
3 speed switch |
usually ships 3-26 days |