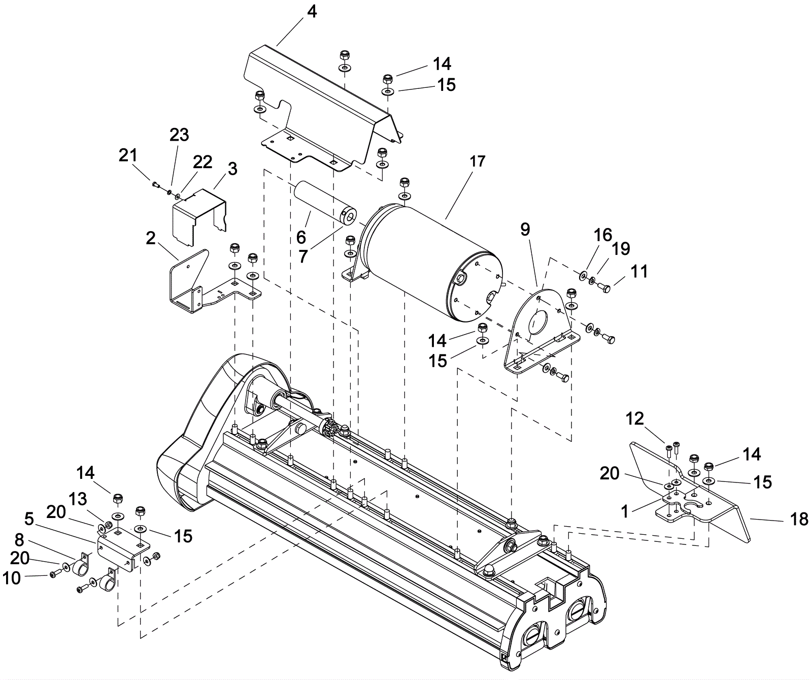
| # | Part | Description | Price | Req | Notes | Availability |
1 |
273-3177
|
Manifold clip |
$11.19
|
1 |
|
usually ships 1-5 days |
2 |
273-3178
|
Solenoid bracket |
$29.48
|
1 |
|
usually ships 1-5 days |
3 |
273-3179
|
Solenoid cover |
$32.34
|
1 |
|
usually ships 1-5 days |
4 |
273-3180
|
Shaft cover bracket |
$50.93
|
1 |
|
usually ships 1-5 days |
5 |
273-3181
|
Hose bracket |
$17.93
|
1 |
|
usually ships 1-5 days |
6 |
273-3182
|
Sleeve |
$38.49
|
1 |
|
usually ships 11-15 days |
7 |
273-3183
|
Coupling hub |
$32.60
|
1 |
|
usually ships 11-15 days |
8 |
273-6596
|
P clamp |
$1.63
|
2 |
|
usually ships 1-5 days |
9 |
273-6548
|
Motor mounting bracket |
$38.06
|
2 |
|
usually ships 11-15 days |
10 |
999-0713
|
Screw 10-32 x 5/8 pan head slotted stainless steel |
$0.99
|
2 |
|
ships same day |
11 |
999-1032
|
Screw 1/4-20 x 5/8 hex head stainless steel |
$0.99
|
6 |
|
ships same day |
12 |
999-0371
|
Screw 10-32 x 1/2 pan head phillips zinc plated |
$0.99
|
2 |
|
ships same day |
13 |
999-0442
|
Nut 10-24 nylon insert lock stainless steel |
$1.76
|
2 |
|
ships same day |
14 |
999-0423
|
Nut 5/16-18 nylon insert lock stainless steel |
$0.99
|
16 |
|
ships same day |
15 |
999-0549
|
Washer 5/16 x 3/4 SAE flat stainless steel |
$0.99
|
18 |
|
ships same day |
16 |
999-0123
|
Washer 1/4 SAE flat zinc plated |
$0.99
|
6 |
|
ships same day |
17 |
173-1743
|
Brush motor |
$1,146.40
|
1 |
|
usually ships 11-15 days |
18 |
273-3184
|
Deck balance bracket |
$71.80
|
1 |
|
usually ships 11-15 days |
19 |
999-0632
|
Washer 1/4 split lock stainless steel |
$0.99
|
6 |
|
ships same day |
20 |
273-5591
|
Washer M5 flat stainless steel |
$2.33
|
6 |
|
usually ships 11-15 days |
23 |
999-1802
|
Washer M4 spring lock stainless steel |
$0.99
|
1 |
|
ships same day |