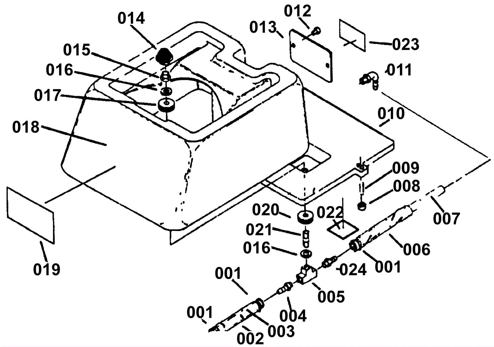
Vacuum Hoses
Click to enlarge