| # | Part | Description | Price | Req | Notes | Availability |
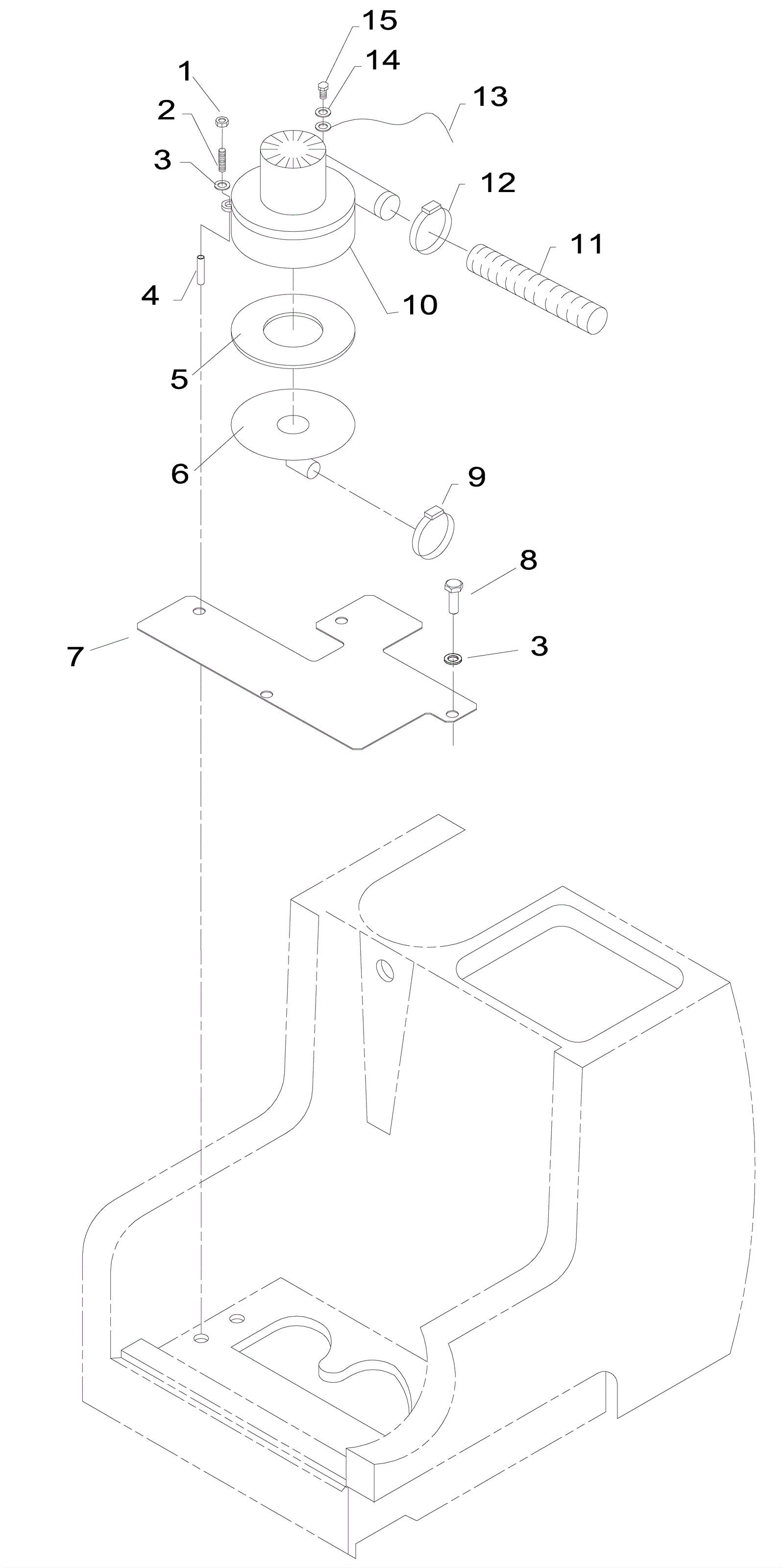
1 |
999-1466
|
Nut 1/4-20 lock with external toothed lockwasher SS |
$0.99
|
3 |
|
ships same day |
2 |
173-9152
|
1/4-20 x 4.5 stud |
$4.18
|
3 |
|
usually ships 1-5 days |
3 |
999-0123
|
Washer 1/4 SAE flat zinc plated |
$0.99
|
7 |
|
ships same day |
4 |
173-8684
|
Vac spacer 3 1/8 |
$12.12
|
3 |
|
usually ships 11-15 days |
5 |
173-5227
|
Vacuum motor gasket |
$6.53
|
1 |
|
ships same day |
6 |
273-0285
|
Plate assembly |
$225.98
|
1 |
|
usually ships 1-5 days |
7 |
273-0286
|
Safety plate |
$69.30
|
1 |
|
usually ships 1-5 days |
8 |
999-0644
|
Bolt 1/4-20 x 1/2 hex head stainless steel |
$0.99
|
1 |
|
ships same day |
9 |
997-2000
|
Hose clamp |
$2.37
|
1 |
|
ships same day |
10a |
273-0916
|
115V 3 stage vacuum motor assembly |
$686.19
|
1 |
|
usually ships 1-5 days |
10b |
373-5038
|
Carbon brush |
$12.36
|
4 |
|
usually ships 11-15 days |
10c |
173-8685
|
Brush set 120 volts |
$34.54
|
1 |
|
usually ships 1-5 days |
10d |
991-1213
|
120V 3 stage vacuum motor tangential |
$165.85
|
1 |
(NON-OEM) |
usually ships 18-24 days |
11 |
173-9158
|
Vac exhaust hose 9 inch |
$8.20
|
1 |
|
usually ships 1-5 days |
12 |
997-2007
|
Hose clamp |
$2.07
|
1 |
|
ships same day |
13 |
273-0287
|
Wire |
$6.40
|
1 |
|
usually ships 1-5 days |
14 |
999-0311
|
Washer #10 external star lock zinc plated |
$0.99
|
1 |
|
ships same day |
15 |
173-2711
|
Screw 10-32 x 1/2 ground |
$2.11
|
1 |
|
usually ships 1-5 days |